
Taan-Del 9 is gelegen in de plaats Eys, de gemeente Gulpen-Wittem en de provincie Limburg. De oppervlakte van het object bedraagt 85 m². Dat is klein vergeleken met het Nederlandse gemiddelde. Het perceel waarop het adres ligt is 2000 m² groot. In de straat is dit het kleinste object. Het grootste verblijfsobject heeft een oppervlakte van 361 m². De gemiddelde grootte is er 169 m². In het jaar 1989 is het pand waarin Taan-Del 9 ligt gebouwd. Dat is relatief recent: de meeste gebouwen in Nederland zijn gebouwd in de periode 1965-1984. Dit is het oudste object in de straat. Het nieuwste pand komt uit 1993 en het gemiddelde bouwjaar in de straat is 1990. Voor het verblijfsobject gelden deze gebruiksdoelen: 'woonfunctie'.
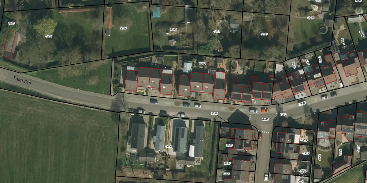
Het perceel waarop het adres ligt is WTM00-A-5951. De afkorting 'WTM00' staat voor kadastrale gemeente Wittem. De gemiddelde perceelgrootte in Wittem is 6054,62 m². Dit perceel is kleiner: de perceeloppervlakte bedraagt 2000 m². De grootste perceeloppervlakte in de kadastrale gemeente is 50,8 ha. De kleinste oppervlakte bedraagt 0 m². Op het perceel zijn 12 adressen aanwezig. De laatste wijziging in het de Basisregistratie Kadaster (BRK) was op 29-09-2011.
Het adres ligt in een gebouw van het type 'rijwoning hoek'. Bij de laatste meting is voor het adres het energielabel B geregistreerd. Het hoogste energielabel in de straat is A; het laagste is G. Het gemiddelde energielabel is er A. Het adres Taan-Del 9 heeft als status: 'verblijfsobject in gebruik'. Het pand waarin dit adres ligt heeft als status: 'pand in gebruik'.
Taan-Del 9 is een adres gelegen in de gemeente Gulpen-Wittem, provincie Limburg. Dit adres is geregistreerd in de Basisregistratie Adressen en Gebouwen (BAG) met als unieke identificatie 1729010001047779.
Het pand op Taan-Del 9 is gebouwd in 1989, wat betekent dat het 37 jaar oud is. Dit is een pand van middelbare leeftijd. Het pand is van gemiddelde leeftijd en zal waarschijnlijk verouderde elementen bevatten.
De woning op Taan-Del 9 heeft een gebruiksoppervlakte van 85 m². Dit is onder het gemiddelde vergeleken met de gemiddelde Nederlandse woning, die een oppervlakte heeft van ongeveer 119 m². De gebruiksoppervlakte is de maat die wordt gebruikt in de BAG-registratie, de landelijke registratie van de Nederlandse overheid.
Taan-Del 9 heeft als functie: wonen. Deze gebruiksfunctie(s) zijn vastgelegd in de BAG-registratie en geven aan waarvoor het adres officieel mag worden gebruikt.
Taan-Del 9 is gelegen op kadastraal perceel WTM00A5951. Deze kadastrale aanduiding is uniek en wordt gebruikt door het Kadaster om eigendomsrechten en andere zakelijke rechten vast te leggen. Het perceel maakt onderdeel uit van de kadastrale gemeente Wittem.
Het perceel waarop Taan-Del 9 staat heeft een oppervlakte van 2000 m². Dit is een zeer groot perceel. De perceeloppervlakte wordt geregistreerd door het Kadaster. Gedetailleerde informatie over de maten van dit perceel kunt u vinden in het rapport Kadastrale kaart met maatvoering van Taan-Del 9.
De eigenaar van Taan-Del 9 is op te vragen op deze pagina.
De informatie over dit adres is afkomstig uit officiële overheidsregistraties, voornamelijk de Basisregistratie Adressen en Gebouwen (BAG) en de Basisregistratie Kadaster (BRK). Deze gegevens worden beheerd door respectievelijk gemeenten en het Kadaster, en worden regelmatig bijgewerkt. Energielabelgegevens komen uit de database van de Rijksdienst voor Ondernemend Nederland (RVO).
