
Het adres Tuinen 24 bevindt zich in de plaats Franeker, in de gemeente Franeker en de provincie Friesland. Het perceel waarop het adres gelegen is heeft een oppervlakte van 393 m². Het verblijfsobject is met 50 m² relatief klein. Het object is klein ten opzichte van de andere adressen in de straat. Het grootste verblijfsobject is 2747 m² groot en het kleinste is 18 m². Het adres Tuinen 24 ligt in een relatief oud pand uit het jaar 1910. Panden van vóór het jaar 1965 hebben we hier geclassificeerd als oud. Het bouwjaar is oud vergeleken met dat van de andere panden in de straat. Het oudste bouwjaar is er 1900 en de nieuwste is 2006. Voor het verblijfsobject gelden deze gebruiksdoelen: 'woonfunctie'.
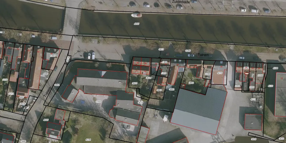
Het perceel waarop het adres ligt is FNK00-D-3620. De afkorting 'FNK00' staat voor kadastrale gemeente Franeker. De gemiddelde perceelgrootte in Franeker is 2403,17 m². Dit perceel is kleiner: de perceeloppervlakte bedraagt 393 m². De grootste perceeloppervlakte in de kadastrale gemeente is 30,5 ha. De kleinste oppervlakte bedraagt 0 m². Er zijn 4 adressen aanwezig op het perceel. In de Basisregistratie Kadaster (BRK) werden de grenzen van het perceel geregistreerd op 28-10-1998.
Er is geen energielabel geregistreerd voor het adres. Het hoogste energielabel in de straat is A; het laagste is G. Het gemiddelde energielabel is er E. Het adres Tuinen 24 heeft als status: 'verblijfsobject in gebruik'. Het pand waarin dit adres ligt heeft als status: 'pand in gebruik'.
Tuinen 24 is een adres gelegen in de gemeente Waadhoeke, provincie Friesland. Dit adres is geregistreerd in de Basisregistratie Adressen en Gebouwen (BAG) met als unieke identificatie 0070010000347195.
Het pand op Tuinen 24 is gebouwd in 1910, wat betekent dat het 116 jaar oud is. Dit is een ouder pand. Het pand heeft mogelijk aanzienlijke renovaties nodig om aan de huidige standaarden te voldoen.
De woning op Tuinen 24 heeft een gebruiksoppervlakte van 50 m². Dit is relatief klein vergeleken met de gemiddelde Nederlandse woning, die een oppervlakte heeft van ongeveer 119 m². De gebruiksoppervlakte is de maat die wordt gebruikt in de BAG-registratie, de landelijke registratie van de Nederlandse overheid.
Tuinen 24 heeft als functie: wonen. Deze gebruiksfunctie(s) zijn vastgelegd in de BAG-registratie en geven aan waarvoor het adres officieel mag worden gebruikt.
Tuinen 24 is gelegen op kadastraal perceel FNK00D3620. Deze kadastrale aanduiding is uniek en wordt gebruikt door het Kadaster om eigendomsrechten en andere zakelijke rechten vast te leggen. Het perceel maakt onderdeel uit van de kadastrale gemeente Franeker.
Het perceel waarop Tuinen 24 staat heeft een oppervlakte van 393 m². Dit is een groot perceel. De perceeloppervlakte wordt geregistreerd door het Kadaster. Gedetailleerde informatie over de maten van dit perceel kunt u vinden in het rapport Kadastrale kaart met maatvoering van Tuinen 24.
De eigenaar van Tuinen 24 is op te vragen op deze pagina.
De informatie over dit adres is afkomstig uit officiële overheidsregistraties, voornamelijk de Basisregistratie Adressen en Gebouwen (BAG) en de Basisregistratie Kadaster (BRK). Deze gegevens worden beheerd door respectievelijk gemeenten en het Kadaster, en worden regelmatig bijgewerkt. Energielabelgegevens komen uit de database van de Rijksdienst voor Ondernemend Nederland (RVO).
