
Koudhoornseweg 36 is een adres in Garderen, dat zich bevindt binnen de gemeentegrenzen van Garderen en de grenzen van de provincie Gelderland. De oppervlakte bedraagt 277 m², waarmee het adres groter dan gemiddeld is. De grootte van het perceel waarop het adres ligt is 965 m². Vergeleken met de andere verblijfsobjecten in de straat is dit object groot. De oppervlakte van het grootste object in de straat is 505 m², die van het kleinste bedraagt 40 m². Koudhoornseweg 36 ligt in een gebouw uit het jaar 1999. Daarmee behoort het tot de groep panden van na 1984, die we als relatief nieuw bestempelen. Veel andere gebouwen in de straat zijn ouder dan dit pand. Het oudste pand komt uit het jaar 1910 en het nieuwste uit 2025. Voor het verblijfsobject gelden deze gebruiksdoelen: 'woonfunctie'.
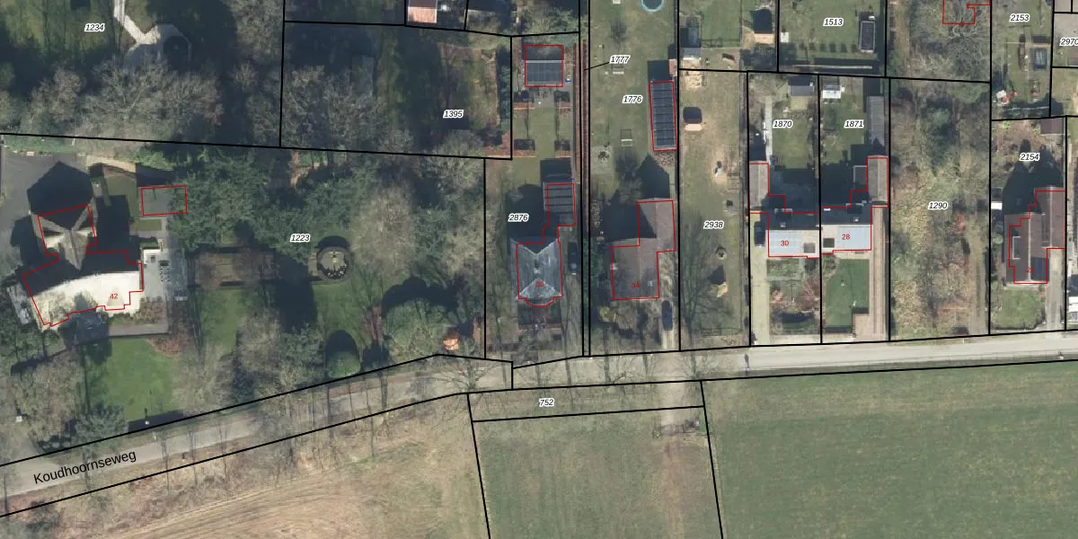
Het adres is gelegen op perceel 2876 in de sectie B en de kadastrale gemeente Garderen. De kadastrale aanduiding is aldus GDR03-B-2876. De gemiddelde perceelgrootte in Garderen is 8632,17 m². Dit perceel is kleiner: de perceeloppervlakte bedraagt 965 m². Het grootste perceel in de kadastrale gemeente is 1,18 km². Het kleinste perceel heeft een oppervlakte van 0 m². Er zijn geen andere adressen aanwezig op het perceel. De huidige grenzen van het perceel zijn digitaal in de Basisregistratie Kadaster (BRK) geregistreerd op 02-03-2022.
Er is geen energielabel geregistreerd voor het adres. Het hoogste energielabel in de straat is A+; het laagste is G. Het gemiddelde energielabel is er C. Het adres Koudhoornseweg 36 heeft als status: 'verblijfsobject in gebruik'. Het pand waarin dit adres ligt heeft als status: 'pand in gebruik'.
Koudhoornseweg 36 is een adres gelegen in de gemeente Barneveld, provincie Gelderland. Dit adres is geregistreerd in de Basisregistratie Adressen en Gebouwen (BAG) met als unieke identificatie 0203010000411566.
Het pand op Koudhoornseweg 36 is gebouwd in 1999, wat betekent dat het 27 jaar oud is. Dit is een pand van middelbare leeftijd. Het pand is van gemiddelde leeftijd en zal waarschijnlijk verouderde elementen bevatten.
De woning op Koudhoornseweg 36 heeft een gebruiksoppervlakte van 277 m². Dit is ruim vergeleken met de gemiddelde Nederlandse woning, die een oppervlakte heeft van ongeveer 119 m². De gebruiksoppervlakte is de maat die wordt gebruikt in de BAG-registratie, de landelijke registratie van de Nederlandse overheid.
Koudhoornseweg 36 heeft als functie: wonen. Deze gebruiksfunctie(s) zijn vastgelegd in de BAG-registratie en geven aan waarvoor het adres officieel mag worden gebruikt.
Koudhoornseweg 36 is gelegen op kadastraal perceel GDR03B2876. Deze kadastrale aanduiding is uniek en wordt gebruikt door het Kadaster om eigendomsrechten en andere zakelijke rechten vast te leggen. Het perceel maakt onderdeel uit van de kadastrale gemeente Garderen.
Het perceel waarop Koudhoornseweg 36 staat heeft een oppervlakte van 965 m². Dit is een groot perceel. De perceeloppervlakte wordt geregistreerd door het Kadaster. Gedetailleerde informatie over de maten van dit perceel kunt u vinden in het rapport Kadastrale kaart met maatvoering van Koudhoornseweg 36.
De eigenaar van Koudhoornseweg 36 is op te vragen op deze pagina.
De informatie over dit adres is afkomstig uit officiële overheidsregistraties, voornamelijk de Basisregistratie Adressen en Gebouwen (BAG) en de Basisregistratie Kadaster (BRK). Deze gegevens worden beheerd door respectievelijk gemeenten en het Kadaster, en worden regelmatig bijgewerkt. Energielabelgegevens komen uit de database van de Rijksdienst voor Ondernemend Nederland (RVO).
