
Ouwendorperweg 21 is een adres in Garderen, dat zich bevindt binnen de gemeentegrenzen van Garderen en de grenzen van de provincie Gelderland. De oppervlakte van het verblijfsobject is met 174 m² aan de grote kant. Het perceel heeft een oppervlakte van 1645 m². Vergeleken met de andere verblijfsobjecten in de straat is dit object groot. De oppervlakte van het grootste object in de straat is 266 m², die van het kleinste bedraagt 54 m². Het adres Ouwendorperweg 21 ligt in een relatief oud pand uit het jaar 1936. Panden van vóór het jaar 1965 hebben we hier geclassificeerd als oud. Het nieuwste gebouw in de straat komt uit 2023 en het oudste uit 1700. Dit object is relatief oud. Het verblijfsobject heeft de volgende gebruiksdoelen: 'woonfunctie'.
Deze woning is voor het laatst verkocht op 1 mei 2023. Meer informatie over deze transactie? Bestel het Woningtransactierapport om de verkoopprijs en andere informatie te zien.
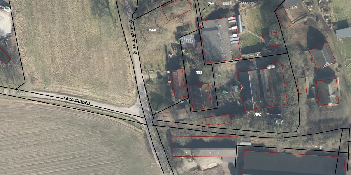
Het adres is gelegen op perceel 5370 in de sectie R en de kadastrale gemeente Garderen. De kadastrale aanduiding is aldus GDR03-R-5370. Het perceel is kleiner dan gemiddeld in Garderen. Het perceel is 1645 m² groot, terwijl het gemiddelde ligt op 8643,19 m². De grootste perceeloppervlakte in de kadastrale gemeente is 1,18 km². De kleinste oppervlakte bedraagt 0 m². Op het perceel bevinden zich geen andere adressen. De huidige grenzen van het perceel zijn digitaal in de Basisregistratie Kadaster (BRK) geregistreerd op 09-03-2005.
Er is geen energielabel geregistreerd voor het adres. Het hoogste energielabel in de straat is E; het laagste is G. Het gemiddelde energielabel is er F. Het adres Ouwendorperweg 21 heeft als status: 'verblijfsobject in gebruik'. Het pand waarin dit adres ligt heeft als status: 'pand in gebruik'.
Ouwendorperweg 21 is een adres gelegen in de gemeente Barneveld, provincie Gelderland. Dit adres is geregistreerd in de Basisregistratie Adressen en Gebouwen (BAG) met als unieke identificatie 0203010000385039.
Het pand op Ouwendorperweg 21 is gebouwd in 1936, wat betekent dat het 90 jaar oud is. Dit is een ouder pand. Het pand heeft mogelijk aanzienlijke renovaties nodig om aan de huidige standaarden te voldoen.
De woning op Ouwendorperweg 21 heeft een gebruiksoppervlakte van 174 m². Dit is ruim vergeleken met de gemiddelde Nederlandse woning, die een oppervlakte heeft van ongeveer 119 m². De gebruiksoppervlakte is de maat die wordt gebruikt in de BAG-registratie, de landelijke registratie van de Nederlandse overheid.
Ouwendorperweg 21 heeft als functie: wonen. Deze gebruiksfunctie(s) zijn vastgelegd in de BAG-registratie en geven aan waarvoor het adres officieel mag worden gebruikt.
Ouwendorperweg 21 is gelegen op kadastraal perceel GDR03R5370. Deze kadastrale aanduiding is uniek en wordt gebruikt door het Kadaster om eigendomsrechten en andere zakelijke rechten vast te leggen. Het perceel maakt onderdeel uit van de kadastrale gemeente Garderen.
Het perceel waarop Ouwendorperweg 21 staat heeft een oppervlakte van 1645 m². Dit is een zeer groot perceel. De perceeloppervlakte wordt geregistreerd door het Kadaster. Gedetailleerde informatie over de maten van dit perceel kunt u vinden in het rapport Kadastrale kaart met maatvoering van Ouwendorperweg 21.
De eigenaar van Ouwendorperweg 21 is op te vragen op deze pagina.
De informatie over dit adres is afkomstig uit officiële overheidsregistraties, voornamelijk de Basisregistratie Adressen en Gebouwen (BAG) en de Basisregistratie Kadaster (BRK). Deze gegevens worden beheerd door respectievelijk gemeenten en het Kadaster, en worden regelmatig bijgewerkt. Energielabelgegevens komen uit de database van de Rijksdienst voor Ondernemend Nederland (RVO).
