
Het adres Borgerweg 18 bevindt zich in de plaats Gasselte, in de gemeente Gasselte en de provincie Drenthe. Het object heeft een oppervlakte van 208 m², wat relatief groot is. Het perceel waarop het adres ligt is 2181 m² groot. Het adres is klein vergeleken met andere objecten in de straat. Het grootste object in de straat heeft een oppervlakte van 812 m², het kleinste is 58 m² groot. De meeste Nederlandse gebouwen zijn gebouwd in de periode 1965-1984. Zo ook het pand waarin Borgerweg 18 ligt, dat gebouwd is in 1972. Vergeleken met de andere panden in de straat is dit gebouw nieuw. Het vroegste bouwjaar is er 1927 en het laatste is 1979. De volgende gebruiksdoelen zijn geregistreerd voor dit adres: 'woonfunctie'.
Deze woning is voor het laatst verkocht op 1 oktober 2003. Meer informatie over deze transactie? Bestel het Woningtransactierapport om de verkoopprijs en andere informatie te zien.
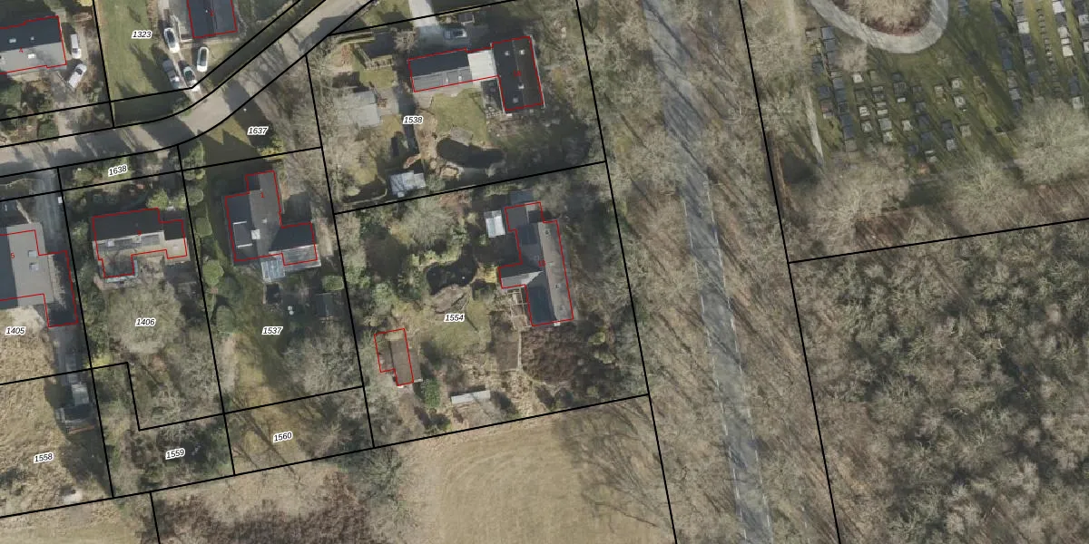
Het adres ligt op het perceel GST00-E-1554, dat zich in de kadastrale gemeente Gasselte bevindt. Het perceel is 2181 m² groot. Dat is kleiner dan de gemiddelde perceeloppervlakte in Gasselte, dat op 1,0 ha ligt. De grootste perceeloppervlakte in de kadastrale gemeente is 59,5 ha. De kleinste oppervlakte bedraagt 1 m². Dit is het enige adres dat aanwezig is op het perceel. In de Basisregistratie Kadaster (BRK) werden de grenzen van het perceel geregistreerd op 03-09-2001.
Het adres ligt in een gebouw van het type 'vrijstaande woning'. Bij de laatste meting is voor het adres het energielabel C geregistreerd. Het hoogste energielabel in de straat is C; het laagste is G. Het gemiddelde energielabel is er D. Het adres Borgerweg 18 heeft als status: 'verblijfsobject in gebruik'. Het pand waarin dit adres ligt heeft als status: 'pand in gebruik'.
Borgerweg 18 is een adres gelegen in de gemeente Aa en Hunze, provincie Drenthe. Dit adres is geregistreerd in de Basisregistratie Adressen en Gebouwen (BAG) met als unieke identificatie 1680010000001379.
Het pand op Borgerweg 18 is gebouwd in 1972, wat betekent dat het 54 jaar oud is. Dit is een ouder pand. Het pand heeft mogelijk aanzienlijke renovaties nodig om aan de huidige standaarden te voldoen.
De woning op Borgerweg 18 heeft een gebruiksoppervlakte van 208 m². Dit is ruim vergeleken met de gemiddelde Nederlandse woning, die een oppervlakte heeft van ongeveer 119 m². De gebruiksoppervlakte is de maat die wordt gebruikt in de BAG-registratie, de landelijke registratie van de Nederlandse overheid.
Borgerweg 18 heeft als functie: wonen. Deze gebruiksfunctie(s) zijn vastgelegd in de BAG-registratie en geven aan waarvoor het adres officieel mag worden gebruikt.
Borgerweg 18 is gelegen op kadastraal perceel GST00E1554. Deze kadastrale aanduiding is uniek en wordt gebruikt door het Kadaster om eigendomsrechten en andere zakelijke rechten vast te leggen. Het perceel maakt onderdeel uit van de kadastrale gemeente Gasselte.
Het perceel waarop Borgerweg 18 staat heeft een oppervlakte van 2181 m². Dit is een zeer groot perceel. De perceeloppervlakte wordt geregistreerd door het Kadaster. Gedetailleerde informatie over de maten van dit perceel kunt u vinden in het rapport Kadastrale kaart met maatvoering van Borgerweg 18.
De eigenaar van Borgerweg 18 is op te vragen op deze pagina.
De informatie over dit adres is afkomstig uit officiële overheidsregistraties, voornamelijk de Basisregistratie Adressen en Gebouwen (BAG) en de Basisregistratie Kadaster (BRK). Deze gegevens worden beheerd door respectievelijk gemeenten en het Kadaster, en worden regelmatig bijgewerkt. Energielabelgegevens komen uit de database van de Rijksdienst voor Ondernemend Nederland (RVO).
