
Papendijk 31 is een adres in Geffen, dat zich bevindt binnen de gemeentegrenzen van Geffen en de grenzen van de provincie Noord-Brabant. Het object heeft een oppervlakte van 576 m², wat relatief groot is. Het perceel waarop het adres ligt is 6990 m² groot. Dit is het adres met de grootste oppervlakte van alle adressen in de straat. Gemiddeld hebben de objecten in de straat een oppervlakte van 230 m². De kleinste oppervlakte is er 16 m². In Nederland komt het grootste deel van de gebouwen uit de periode 1965-1984. Ook het bouwjaar van Papendijk 31 is afkomstig uit die periode: het betreft namelijk een pand uit 1979. Vergeleken met de andere panden in de straat is dit gebouw nieuw. Het vroegste bouwjaar is er 1875 en het laatste is 2025. Het verblijfsobject heeft de volgende gebruiksdoelen: 'woonfunctie'.
Deze woning is voor het laatst verkocht op 1 december 2023. Meer informatie over deze transactie? Bestel het Woningtransactierapport om de verkoopprijs en andere informatie te zien.
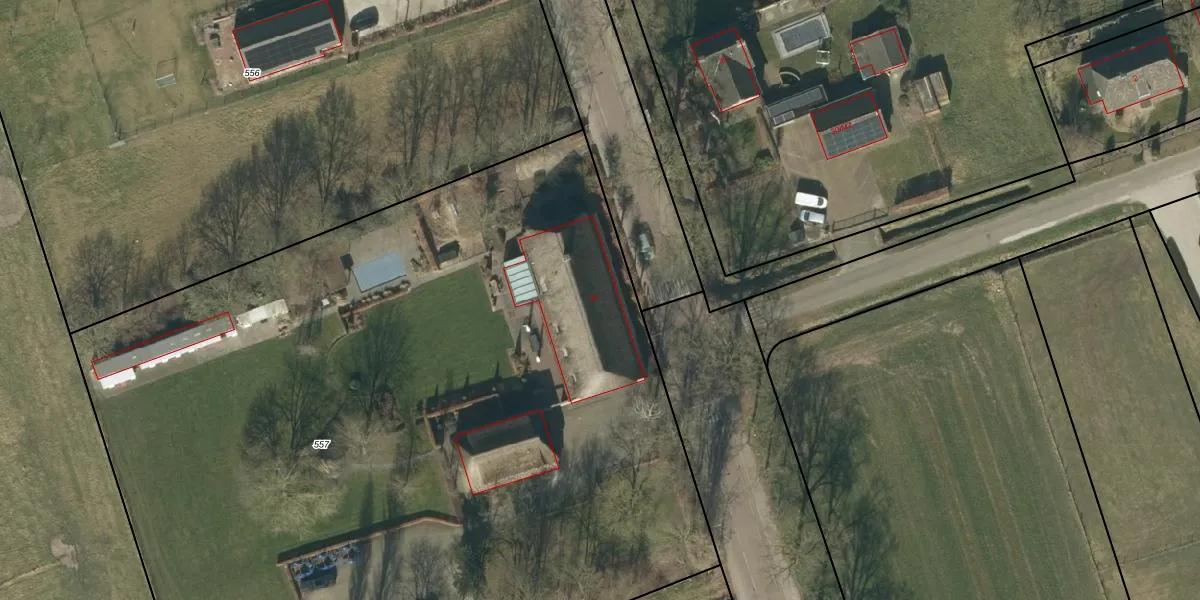
Het adres ligt op het perceel GFN00-D-557, dat zich in de kadastrale gemeente Geffen bevindt. De gemiddelde perceeloppervlakte in de kadastrale gemeente Geffen is 3265,15 m². Dit perceel is met zijn 6990 m² dus groter dan gemiddeld. Het grootste perceel in de kadastrale gemeente is 22,5 ha. Het kleinste perceel heeft een oppervlakte van 0 m². Dit is het enige adres dat aanwezig is op het perceel. De huidige grenzen van het perceel zijn digitaal in de Basisregistratie Kadaster (BRK) geregistreerd op 25-06-2009.
Het adres ligt in een gebouw van het type 'vrijstaande woning'. Bij de laatste meting is voor het adres het energielabel A+ geregistreerd. Het hoogste energielabel in de straat is A++++; het laagste is G. Het gemiddelde energielabel is er D. Het adres Papendijk 31 heeft als status: 'verblijfsobject in gebruik'. Het pand waarin dit adres ligt heeft als status: 'pand in gebruik'.
Papendijk 31 is een adres gelegen in de gemeente Oss, provincie Noord-Brabant. Dit adres is geregistreerd in de Basisregistratie Adressen en Gebouwen (BAG) met als unieke identificatie 1671010000000885.
Het pand op Papendijk 31 is gebouwd in 1979, wat betekent dat het 47 jaar oud is. Dit is een pand van middelbare leeftijd. Het pand is van gemiddelde leeftijd en zal waarschijnlijk verouderde elementen bevatten.
De woning op Papendijk 31 heeft een gebruiksoppervlakte van 576 m². Dit is ruim vergeleken met de gemiddelde Nederlandse woning, die een oppervlakte heeft van ongeveer 119 m². De gebruiksoppervlakte is de maat die wordt gebruikt in de BAG-registratie, de landelijke registratie van de Nederlandse overheid.
Papendijk 31 heeft als functie: wonen. Deze gebruiksfunctie(s) zijn vastgelegd in de BAG-registratie en geven aan waarvoor het adres officieel mag worden gebruikt.
Papendijk 31 is gelegen op kadastraal perceel GFN00D557. Deze kadastrale aanduiding is uniek en wordt gebruikt door het Kadaster om eigendomsrechten en andere zakelijke rechten vast te leggen. Het perceel maakt onderdeel uit van de kadastrale gemeente Geffen.
Het perceel waarop Papendijk 31 staat heeft een oppervlakte van 6990 m². Dit is een zeer groot perceel. De perceeloppervlakte wordt geregistreerd door het Kadaster. Gedetailleerde informatie over de maten van dit perceel kunt u vinden in het rapport Kadastrale kaart met maatvoering van Papendijk 31.
De eigenaar van Papendijk 31 is op te vragen op deze pagina.
De informatie over dit adres is afkomstig uit officiële overheidsregistraties, voornamelijk de Basisregistratie Adressen en Gebouwen (BAG) en de Basisregistratie Kadaster (BRK). Deze gegevens worden beheerd door respectievelijk gemeenten en het Kadaster, en worden regelmatig bijgewerkt. Energielabelgegevens komen uit de database van de Rijksdienst voor Ondernemend Nederland (RVO).
