
Het adres Carpinistraat 22 bevindt zich in de plaats Geldrop, in de gemeente Geldrop en de provincie Noord-Brabant. Het verblijfsobject is vergeleken met het Nederlandse gemiddelde aan de kleine kant: de oppervlakte is 69 m². Het perceel waarop het adres zich bevindt heeft een oppervlakte van 6045 m². Het adres is klein vergeleken met andere objecten in de straat. Het grootste object in de straat heeft een oppervlakte van 124 m², het kleinste is 23 m² groot. In Nederland komt het grootste deel van de gebouwen uit de periode 1965-1984. Ook het bouwjaar van Carpinistraat 22 is afkomstig uit die periode: het betreft namelijk een pand uit 1971. Dit pand is het meest recent exemplaar in de straat. Het oudste object komt er uit 1971 en het gemiddelde bouwjaar is 1971. De volgende gebruiksdoelen zijn geregistreerd voor dit adres: 'woonfunctie'.
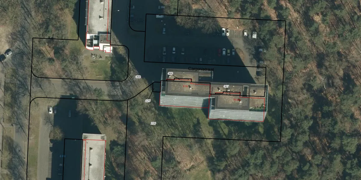
Het adres ligt op het perceel GDP00-G-226, dat zich in de kadastrale gemeente Geldrop bevindt. De oppervlakte van het perceel is 6045 m². Dat is groter dan gemiddeld in Geldrop, waar de gemiddelde perceeloppervlakte op 1100,51 m² ligt. Het grootste perceel in de kadastrale gemeente is 51,6 ha. Het kleinste perceel heeft een oppervlakte van 0 m². Op het perceel liggen in totaal 75 adressen. In de Basisregistratie Kadaster (BRK) werden de grenzen van het perceel geregistreerd op 14-10-2009.
Het adres ligt in een gebouw van het type 'flatwoning (overig) met het subtype tussenmidden'. Bij de laatste meting is voor het adres het energielabel C geregistreerd. Het hoogste energielabel in de straat is B; het laagste is G. Het gemiddelde energielabel is er C. Het adres Carpinistraat 22 heeft als status: 'verblijfsobject in gebruik'. Het pand waarin dit adres ligt heeft als status: 'pand in gebruik'.
Carpinistraat 22 is een adres gelegen in de gemeente Geldrop-Mierlo, provincie Noord-Brabant. Dit adres is geregistreerd in de Basisregistratie Adressen en Gebouwen (BAG) met als unieke identificatie 1771010000006334.
Het pand op Carpinistraat 22 is gebouwd in 1971, wat betekent dat het 55 jaar oud is. Dit is een ouder pand. Het pand heeft mogelijk aanzienlijke renovaties nodig om aan de huidige standaarden te voldoen.
De woning op Carpinistraat 22 heeft een gebruiksoppervlakte van 69 m². Dit is relatief klein vergeleken met de gemiddelde Nederlandse woning, die een oppervlakte heeft van ongeveer 119 m². De gebruiksoppervlakte is de maat die wordt gebruikt in de BAG-registratie, de landelijke registratie van de Nederlandse overheid.
Carpinistraat 22 heeft als functie: wonen. Deze gebruiksfunctie(s) zijn vastgelegd in de BAG-registratie en geven aan waarvoor het adres officieel mag worden gebruikt.
Carpinistraat 22 is gelegen op kadastraal perceel GDP00G226. Deze kadastrale aanduiding is uniek en wordt gebruikt door het Kadaster om eigendomsrechten en andere zakelijke rechten vast te leggen. Het perceel maakt onderdeel uit van de kadastrale gemeente Geldrop.
Het perceel waarop Carpinistraat 22 staat heeft een oppervlakte van 6045 m². Dit is een zeer groot perceel. De perceeloppervlakte wordt geregistreerd door het Kadaster. Gedetailleerde informatie over de maten van dit perceel kunt u vinden in het rapport Kadastrale kaart met maatvoering van Carpinistraat 22.
De eigenaar van Carpinistraat 22 is op te vragen op deze pagina.
De informatie over dit adres is afkomstig uit officiële overheidsregistraties, voornamelijk de Basisregistratie Adressen en Gebouwen (BAG) en de Basisregistratie Kadaster (BRK). Deze gegevens worden beheerd door respectievelijk gemeenten en het Kadaster, en worden regelmatig bijgewerkt. Energielabelgegevens komen uit de database van de Rijksdienst voor Ondernemend Nederland (RVO).
