
Paladijnstraat 43 is een adres in Geldrop, dat zich bevindt binnen de gemeentegrenzen van Geldrop en de grenzen van de provincie Noord-Brabant. De oppervlakte van het object bedraagt 91 m². Dat is klein vergeleken met het Nederlandse gemiddelde. Het perceel waarop het adres ligt is 850 m² groot. De oppervlakte van dit adres is groot vergeleken met de oppervlaktes van andere adressen in de straat. De kleinste oppervlakte bedraagt er 17 m², de grootste 165 m². De gemiddelde bouwperiode van gebouwen in Nederland ligt tussen de jaren 1965-1984. Dat geldt ook voor het bouwjaar van Paladijnstraat 43: het is gebouwd in het jaar 1980. In de straat is dit het nieuwste pand en stamt het oudste object uit het jaar 1966. Het gemiddelde bouwjaar in de straat is 1972. Voor het verblijfsobject gelden deze gebruiksdoelen: 'woonfunctie'.
Deze woning is voor het laatst verkocht op 1 april 2008. Meer informatie over deze transactie? Bestel het Woningtransactierapport om de verkoopprijs en andere informatie te zien.
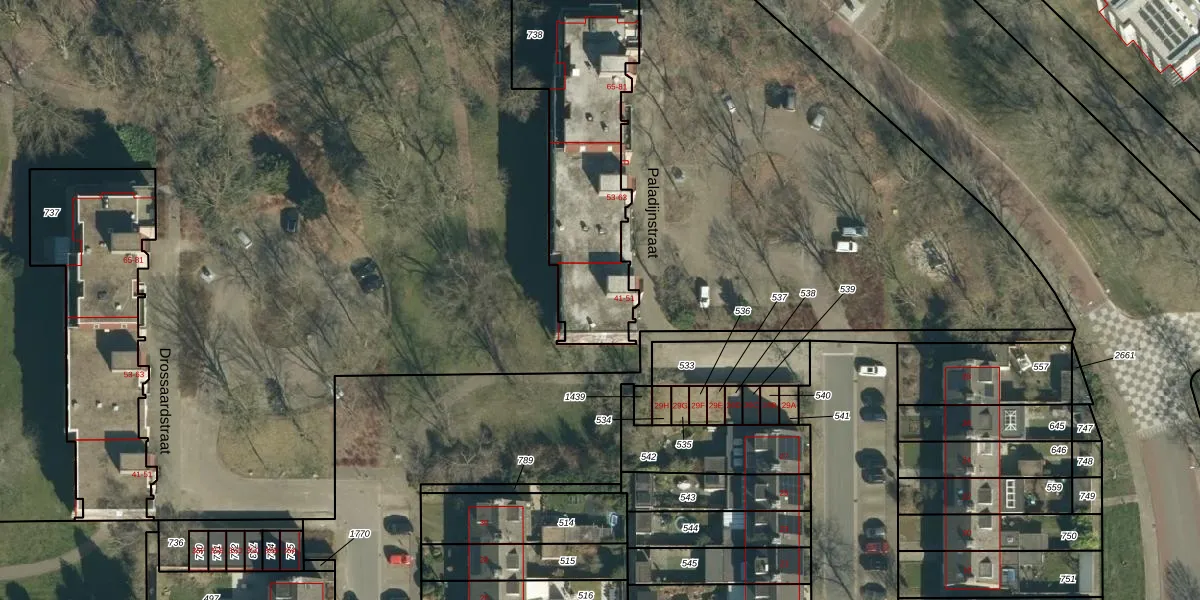
Het adres ligt op het perceel GDP00-E-738, dat zich in de kadastrale gemeente Geldrop bevindt. De gemiddelde perceelgrootte in Geldrop is 1101,15 m². Dit perceel is kleiner: de perceeloppervlakte bedraagt 850 m². Het kleinste perceel in de kadastrale gemeente is 0 m² groot. De grootste perceeloppervlakte is 51,6 ha. Op het perceel zijn 29 adressen aanwezig. De huidige grenzen van het perceel zijn digitaal in de Basisregistratie Kadaster (BRK) geregistreerd op 02-06-2009.
Er is geen energielabel geregistreerd voor het adres. Het hoogste energielabel in de straat is A; het laagste is G. Het gemiddelde energielabel is er C. Het adres Paladijnstraat 43 heeft als status: 'verblijfsobject in gebruik'. Het pand waarin dit adres ligt heeft als status: 'pand in gebruik'.
Paladijnstraat 43 is een adres gelegen in de gemeente Geldrop-Mierlo, provincie Noord-Brabant. Dit adres is geregistreerd in de Basisregistratie Adressen en Gebouwen (BAG) met als unieke identificatie 1771010000008865.
Het pand op Paladijnstraat 43 is gebouwd in 1980, wat betekent dat het 46 jaar oud is. Dit is een pand van middelbare leeftijd. Het pand is van gemiddelde leeftijd en zal waarschijnlijk verouderde elementen bevatten.
De woning op Paladijnstraat 43 heeft een gebruiksoppervlakte van 91 m². Dit is onder het gemiddelde vergeleken met de gemiddelde Nederlandse woning, die een oppervlakte heeft van ongeveer 119 m². De gebruiksoppervlakte is de maat die wordt gebruikt in de BAG-registratie, de landelijke registratie van de Nederlandse overheid.
Paladijnstraat 43 heeft als functie: wonen. Deze gebruiksfunctie(s) zijn vastgelegd in de BAG-registratie en geven aan waarvoor het adres officieel mag worden gebruikt.
Paladijnstraat 43 is gelegen op kadastraal perceel GDP00E738. Deze kadastrale aanduiding is uniek en wordt gebruikt door het Kadaster om eigendomsrechten en andere zakelijke rechten vast te leggen. Het perceel maakt onderdeel uit van de kadastrale gemeente Geldrop.
Het perceel waarop Paladijnstraat 43 staat heeft een oppervlakte van 850 m². Dit is een groot perceel. De perceeloppervlakte wordt geregistreerd door het Kadaster. Gedetailleerde informatie over de maten van dit perceel kunt u vinden in het rapport Kadastrale kaart met maatvoering van Paladijnstraat 43.
De eigenaar van Paladijnstraat 43 is op te vragen op deze pagina
De informatie over dit adres is afkomstig uit officiële overheidsregistraties, voornamelijk de Basisregistratie Adressen en Gebouwen (BAG) en de Basisregistratie Kadaster (BRK). Deze gegevens worden beheerd door respectievelijk gemeenten en het Kadaster, en worden regelmatig bijgewerkt. Energielabelgegevens komen uit de database van de Rijksdienst voor Ondernemend Nederland (RVO).
