
Paladijnstraat 59-A is gelegen in de plaats Geldrop, de gemeente Geldrop-Mierlo en de provincie Noord-Brabant. De oppervlakte van het object bedraagt 19 m². Dat is klein vergeleken met het Nederlandse gemiddelde. Het perceel waarop het adres ligt is 850 m² groot. Het adres is klein vergeleken met andere objecten in de straat. Het grootste object in de straat heeft een oppervlakte van 165 m², het kleinste is 17 m² groot. De meeste Nederlandse gebouwen zijn gebouwd in de periode 1965-1984. Zo ook het pand waarin Paladijnstraat 59-A ligt, dat gebouwd is in 1979. Veel andere gebouwen in de straat zijn ouder dan dit pand. Het oudste pand komt uit het jaar 1966 en het nieuwste uit 1980. Voor het verblijfsobject gelden deze gebruiksdoelen: 'overige gebruiksfunctie'.
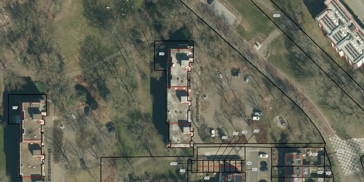
Het adres ligt op het perceel GDP00-E-738, dat zich in de kadastrale gemeente Geldrop bevindt. De gemiddelde perceelgrootte in Geldrop is 1101,15 m². Dit perceel is kleiner: de perceeloppervlakte bedraagt 850 m². De grootste perceeloppervlakte in de kadastrale gemeente is 51,6 ha. De kleinste oppervlakte bedraagt 0 m². Op het perceel zijn 29 adressen aanwezig. De laatste wijziging in het de Basisregistratie Kadaster (BRK) was op 02-06-2009.
Er is geen energielabel geregistreerd voor het adres. Het hoogste energielabel in de straat is A; het laagste is G. Het gemiddelde energielabel is er C. Het adres Paladijnstraat 59-A heeft als status: 'verblijfsobject in gebruik'. Het pand waarin dit adres ligt heeft als status: 'pand in gebruik'.
Paladijnstraat 59-A is een adres gelegen in de gemeente Geldrop-Mierlo, provincie Noord-Brabant. Dit adres is geregistreerd in de Basisregistratie Adressen en Gebouwen (BAG) met als unieke identificatie 1771010000008984.
Het pand op Paladijnstraat 59-A is gebouwd in 1979, wat betekent dat het 47 jaar oud is. Dit is een pand van middelbare leeftijd. Het pand is van gemiddelde leeftijd en zal waarschijnlijk verouderde elementen bevatten.
De woning op Paladijnstraat 59-A heeft een gebruiksoppervlakte van 19 m². Dit is relatief klein vergeleken met de gemiddelde Nederlandse woning, die een oppervlakte heeft van ongeveer 119 m². De gebruiksoppervlakte is de maat die wordt gebruikt in de BAG-registratie, de landelijke registratie van de Nederlandse overheid.
Paladijnstraat 59-A heeft als functie: overige doeleinden. Deze gebruiksfunctie(s) zijn vastgelegd in de BAG-registratie en geven aan waarvoor het adres officieel mag worden gebruikt.
Paladijnstraat 59-A is gelegen op kadastraal perceel GDP00E738. Deze kadastrale aanduiding is uniek en wordt gebruikt door het Kadaster om eigendomsrechten en andere zakelijke rechten vast te leggen. Het perceel maakt onderdeel uit van de kadastrale gemeente Geldrop.
Het perceel waarop Paladijnstraat 59-A staat heeft een oppervlakte van 850 m². Dit is een groot perceel. De perceeloppervlakte wordt geregistreerd door het Kadaster. Gedetailleerde informatie over de maten van dit perceel kunt u vinden in het rapport Kadastrale kaart met maatvoering van Paladijnstraat 59-A.
De eigenaar van Paladijnstraat 59-A is op te vragen op deze pagina
De informatie over dit adres is afkomstig uit officiële overheidsregistraties, voornamelijk de Basisregistratie Adressen en Gebouwen (BAG) en de Basisregistratie Kadaster (BRK). Deze gegevens worden beheerd door respectievelijk gemeenten en het Kadaster, en worden regelmatig bijgewerkt. Energielabelgegevens komen uit de database van de Rijksdienst voor Ondernemend Nederland (RVO).
