
Het adres Tunnelstraat 13 bevindt zich in de plaats Geleen, in de gemeente Geleen en de provincie Limburg. Het perceel waarop het adres gelegen is heeft een oppervlakte van 2944 m². Het verblijfsobject is met 71 m² relatief klein. Het object is klein ten opzichte van de andere adressen in de straat. Het grootste verblijfsobject is 206 m² groot en het kleinste is 61 m². Tunnelstraat 13 ligt in een gebouw uit het jaar 1997. Daarmee behoort het tot de groep panden van na 1984, die we als relatief nieuw bestempelen. Het gemiddelde bouwjaar in de straat is 1985 en dat van het oudste pand is 1920. Dit is het nieuwste object in de straat. Voor het verblijfsobject gelden deze gebruiksdoelen: 'woonfunctie'.
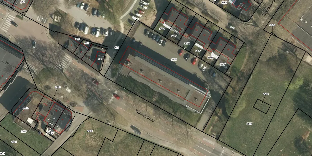
Het perceel waarop het adres ligt is GLN00-G-3608. De afkorting 'GLN00' staat voor kadastrale gemeente Geleen. Het perceel is met 2944 m² relatief groot. Het gemiddelde ligt in de kadastrale gemeente Geleen op 1689,01 m². Het grootste perceel in de kadastrale gemeente is 85,2 ha. Het kleinste perceel heeft een oppervlakte van 0 m². Er zijn 30 adressen aanwezig op het perceel. In de Basisregistratie Kadaster (BRK) werden de grenzen van het perceel geregistreerd op 18-10-2011.
Het adres ligt in een gebouw van het type 'flatwoning (overig) met het subtype tussenvloer'. Bij de laatste meting is voor het adres het energielabel B geregistreerd. Het hoogste energielabel in de straat is A; het laagste is G. Het gemiddelde energielabel is er B. Het adres Tunnelstraat 13 heeft als status: 'verblijfsobject in gebruik'. Het pand waarin dit adres ligt heeft als status: 'pand in gebruik'.
Tunnelstraat 13 is een adres gelegen in de gemeente Sittard-Geleen, provincie Limburg. Dit adres is geregistreerd in de Basisregistratie Adressen en Gebouwen (BAG) met als unieke identificatie 1883010000047858.
Het pand op Tunnelstraat 13 is gebouwd in 1997, wat betekent dat het 29 jaar oud is. Dit is een pand van middelbare leeftijd. Het pand is van gemiddelde leeftijd en zal waarschijnlijk verouderde elementen bevatten.
De woning op Tunnelstraat 13 heeft een gebruiksoppervlakte van 71 m². Dit is relatief klein vergeleken met de gemiddelde Nederlandse woning, die een oppervlakte heeft van ongeveer 119 m². De gebruiksoppervlakte is de maat die wordt gebruikt in de BAG-registratie, de landelijke registratie van de Nederlandse overheid.
Tunnelstraat 13 heeft als functie: wonen. Deze gebruiksfunctie(s) zijn vastgelegd in de BAG-registratie en geven aan waarvoor het adres officieel mag worden gebruikt.
Tunnelstraat 13 is gelegen op kadastraal perceel GLN00G3608. Deze kadastrale aanduiding is uniek en wordt gebruikt door het Kadaster om eigendomsrechten en andere zakelijke rechten vast te leggen. Het perceel maakt onderdeel uit van de kadastrale gemeente Geleen.
Het perceel waarop Tunnelstraat 13 staat heeft een oppervlakte van 2944 m². Dit is een zeer groot perceel. De perceeloppervlakte wordt geregistreerd door het Kadaster. Gedetailleerde informatie over de maten van dit perceel kunt u vinden in het rapport Kadastrale kaart met maatvoering van Tunnelstraat 13.
De eigenaar van Tunnelstraat 13 is op te vragen op deze pagina.
De informatie over dit adres is afkomstig uit officiële overheidsregistraties, voornamelijk de Basisregistratie Adressen en Gebouwen (BAG) en de Basisregistratie Kadaster (BRK). Deze gegevens worden beheerd door respectievelijk gemeenten en het Kadaster, en worden regelmatig bijgewerkt. Energielabelgegevens komen uit de database van de Rijksdienst voor Ondernemend Nederland (RVO).
