
Scheiweg 1 is een adres in Gemert, dat zich bevindt binnen de gemeentegrenzen van Gemert en de grenzen van de provincie Noord-Brabant. De oppervlakte bedraagt 575 m², waarmee het adres groter dan gemiddeld is. De grootte van het perceel waarop het adres ligt is 4152 m². Het object is klein ten opzichte van de andere adressen in de straat. Het grootste verblijfsobject is 8651 m² groot en het kleinste is 122 m². In het jaar 2004 is het pand waarin Scheiweg 1 ligt gebouwd. Dat is relatief recent: de meeste gebouwen in Nederland zijn gebouwd in de periode 1965-1984. Veel andere gebouwen in de straat zijn ouder dan dit pand. Het oudste pand komt uit het jaar 1872 en het nieuwste uit 2025. Het verblijfsobject heeft de volgende gebruiksdoelen: 'kantoorfunctie'.
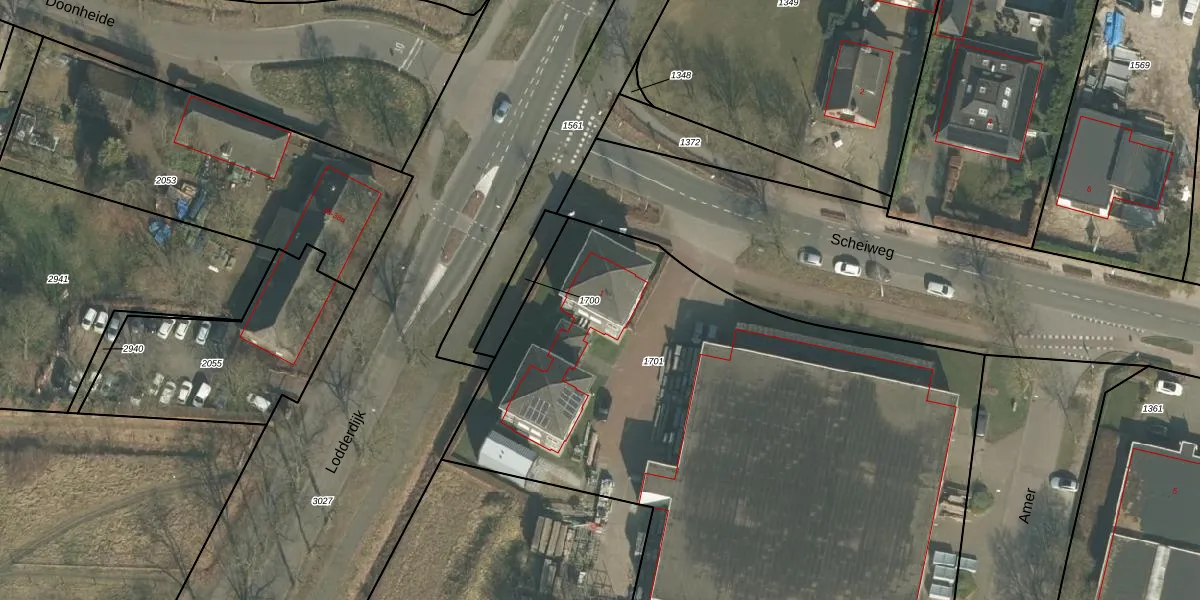
Het perceel waarop het adres ligt is GMT00-O-1701. De afkorting 'GMT00' staat voor kadastrale gemeente Gemert. Het perceel is kleiner dan gemiddeld in Gemert. Het perceel is 4152 m² groot, terwijl het gemiddelde ligt op 4648,98 m². De grootste perceeloppervlakte in de kadastrale gemeente is 67,8 ha. De kleinste oppervlakte bedraagt 0 m². Er zijn geen andere adressen aanwezig op het perceel. De huidige grenzen van het perceel zijn digitaal in de Basisregistratie Kadaster (BRK) geregistreerd op 08-08-2007.
Bij de laatste meting is voor het adres het energielabel C geregistreerd. Het hoogste energielabel in de straat is A; het laagste is G. Het gemiddelde energielabel is er D. Het adres Scheiweg 1 heeft als status: 'verblijfsobject in gebruik'. Het pand waarin dit adres ligt heeft als status: 'pand in gebruik'.
Scheiweg 1 is een adres gelegen in de gemeente Gemert-Bakel, provincie Noord-Brabant. Dit adres is geregistreerd in de Basisregistratie Adressen en Gebouwen (BAG) met als unieke identificatie 1652010000013576.
Het pand op Scheiweg 1 is gebouwd in 2004, wat betekent dat het 22 jaar oud is. Dit is een relatief modern pand. Ten opzichte van de nationale woningvoorraad is het pand relatief modern, maar er kunnen enkele verouderde elementen zijn die aandacht nodig hebben.
De woning op Scheiweg 1 heeft een gebruiksoppervlakte van 575 m². Dit is ruim vergeleken met de gemiddelde Nederlandse woning, die een oppervlakte heeft van ongeveer 119 m². De gebruiksoppervlakte is de maat die wordt gebruikt in de BAG-registratie, de landelijke registratie van de Nederlandse overheid.
Scheiweg 1 heeft als functie: kantoor. Deze gebruiksfunctie(s) zijn vastgelegd in de BAG-registratie en geven aan waarvoor het adres officieel mag worden gebruikt.
Scheiweg 1 is gelegen op kadastraal perceel GMT00O1701. Deze kadastrale aanduiding is uniek en wordt gebruikt door het Kadaster om eigendomsrechten en andere zakelijke rechten vast te leggen. Het perceel maakt onderdeel uit van de kadastrale gemeente Gemert.
Het perceel waarop Scheiweg 1 staat heeft een oppervlakte van 4152 m². Dit is een zeer groot perceel. De perceeloppervlakte wordt geregistreerd door het Kadaster. Gedetailleerde informatie over de maten van dit perceel kunt u vinden in het rapport Kadastrale kaart met maatvoering van Scheiweg 1.
De eigenaar van Scheiweg 1 is op te vragen op deze pagina
De informatie over dit adres is afkomstig uit officiële overheidsregistraties, voornamelijk de Basisregistratie Adressen en Gebouwen (BAG) en de Basisregistratie Kadaster (BRK). Deze gegevens worden beheerd door respectievelijk gemeenten en het Kadaster, en worden regelmatig bijgewerkt. Energielabelgegevens komen uit de database van de Rijksdienst voor Ondernemend Nederland (RVO).
