
Bonnerveen 21 is gelegen in de plaats Gieterveen, de gemeente Aa en Hunze en de provincie Drenthe. Het verblijfsobject is vergeleken met het Nederlandse gemiddelde aan de kleine kant: de oppervlakte is 51 m². Het perceel waarop het adres zich bevindt heeft een oppervlakte van 1950 m². Het adres is klein vergeleken met andere objecten in de straat. Het grootste object in de straat heeft een oppervlakte van 2493 m², het kleinste is 40 m² groot. In Nederland komt het grootste deel van de gebouwen uit de periode 1965-1984. Ook het bouwjaar van Bonnerveen 21 is afkomstig uit die periode: het betreft namelijk een pand uit 1984. Dit object is relatief nieuw in de straat. Het nieuwste gebouw komt er uit het jaar 2015 en het oudste uit het jaar 1870. Het verblijfsobject heeft de volgende gebruiksdoelen: 'woonfunctie'.
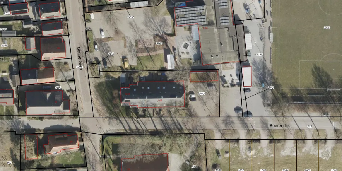
Het adres ligt op het perceel GTN00-C-3072, dat zich in de kadastrale gemeente Gieten bevindt. Het perceel is kleiner dan gemiddeld in Gieten. Het perceel is 1950 m² groot, terwijl het gemiddelde ligt op 8788,71 m². Het grootste perceel in de kadastrale gemeente is 1,19 km². Het kleinste perceel heeft een oppervlakte van 0 m². Op het perceel liggen in totaal 14 adressen. De laatste wijziging in het de Basisregistratie Kadaster (BRK) was op 14-03-2006.
Het adres ligt in een gebouw van het type 'rijwoning tussen'. Bij de laatste meting is voor het adres het energielabel C geregistreerd. Het hoogste energielabel in de straat is A; het laagste is G. Het gemiddelde energielabel is er C. Het adres Bonnerveen 21 heeft als status: 'verblijfsobject in gebruik'. Het pand waarin dit adres ligt heeft als status: 'pand in gebruik'.
Bonnerveen 21 is een adres gelegen in de gemeente Aa en Hunze, provincie Drenthe. Dit adres is geregistreerd in de Basisregistratie Adressen en Gebouwen (BAG) met als unieke identificatie 1680010000007261.
Het pand op Bonnerveen 21 is gebouwd in 1984, wat betekent dat het 42 jaar oud is. Dit is een pand van middelbare leeftijd. Het pand is van gemiddelde leeftijd en zal waarschijnlijk verouderde elementen bevatten.
De woning op Bonnerveen 21 heeft een gebruiksoppervlakte van 51 m². Dit is relatief klein vergeleken met de gemiddelde Nederlandse woning, die een oppervlakte heeft van ongeveer 119 m². De gebruiksoppervlakte is de maat die wordt gebruikt in de BAG-registratie, de landelijke registratie van de Nederlandse overheid.
Bonnerveen 21 heeft als functie: wonen. Deze gebruiksfunctie(s) zijn vastgelegd in de BAG-registratie en geven aan waarvoor het adres officieel mag worden gebruikt.
Bonnerveen 21 is gelegen op kadastraal perceel GTN00C3072. Deze kadastrale aanduiding is uniek en wordt gebruikt door het Kadaster om eigendomsrechten en andere zakelijke rechten vast te leggen. Het perceel maakt onderdeel uit van de kadastrale gemeente Gieten.
Het perceel waarop Bonnerveen 21 staat heeft een oppervlakte van 1950 m². Dit is een zeer groot perceel. De perceeloppervlakte wordt geregistreerd door het Kadaster. Gedetailleerde informatie over de maten van dit perceel kunt u vinden in het rapport Kadastrale kaart met maatvoering van Bonnerveen 21.
De eigenaar van Bonnerveen 21 is op te vragen op deze pagina.
De informatie over dit adres is afkomstig uit officiële overheidsregistraties, voornamelijk de Basisregistratie Adressen en Gebouwen (BAG) en de Basisregistratie Kadaster (BRK). Deze gegevens worden beheerd door respectievelijk gemeenten en het Kadaster, en worden regelmatig bijgewerkt. Energielabelgegevens komen uit de database van de Rijksdienst voor Ondernemend Nederland (RVO).
