
Melkweg 10 is gelegen in de plaats Goirle, de gemeente Goirle en de provincie Noord-Brabant. De oppervlakte van het object bedraagt 75 m². Dat is klein vergeleken met het Nederlandse gemiddelde. Het perceel waarop het adres ligt is 1756 m² groot. Dit is het adres met de grootste oppervlakte van alle adressen in de straat. Gemiddeld hebben de objecten in de straat een oppervlakte van 69 m². De kleinste oppervlakte is er 62 m². De meeste Nederlandse gebouwen zijn gebouwd in de periode 1965-1984. Zo ook het pand waarin Melkweg 10 ligt, dat gebouwd is in 1975. In de straat is dit het nieuwste pand en stamt het oudste object uit het jaar 1975. Het gemiddelde bouwjaar in de straat is 1975. De volgende gebruiksdoelen zijn geregistreerd voor dit adres: 'woonfunctie'.
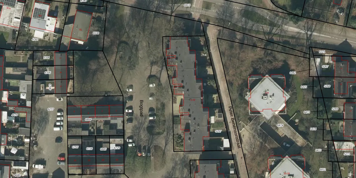
Het adres ligt op het perceel GLE01-B-5297, dat zich in de kadastrale gemeente Goirle bevindt. Het perceel is 1756 m² groot. Dat is kleiner dan de gemiddelde perceeloppervlakte in Goirle, dat op 3365,3 m² ligt. De grootste perceeloppervlakte in de kadastrale gemeente is 1,04 km². De kleinste oppervlakte bedraagt 0 m². Op het perceel zijn 22 adressen aanwezig. De laatste wijziging in het de Basisregistratie Kadaster (BRK) was op 20-08-2008.
Het adres ligt in een gebouw van het type 'appartement met het subtype tussenvloer'. Bij de laatste meting is voor het adres het energielabel A geregistreerd. Het hoogste energielabel in de straat is A+; het laagste is G. Het gemiddelde energielabel is er A. Het adres Melkweg 10 heeft als status: 'verblijfsobject in gebruik'. Het pand waarin dit adres ligt heeft als status: 'pand in gebruik'.
Melkweg 10 is een adres gelegen in de gemeente Goirle, provincie Noord-Brabant. Dit adres is geregistreerd in de Basisregistratie Adressen en Gebouwen (BAG) met als unieke identificatie 0785010000005620.
Het pand op Melkweg 10 is gebouwd in 1975, wat betekent dat het 51 jaar oud is. Dit is een ouder pand. Het pand heeft mogelijk aanzienlijke renovaties nodig om aan de huidige standaarden te voldoen.
De woning op Melkweg 10 heeft een gebruiksoppervlakte van 75 m². Dit is onder het gemiddelde vergeleken met de gemiddelde Nederlandse woning, die een oppervlakte heeft van ongeveer 119 m². De gebruiksoppervlakte is de maat die wordt gebruikt in de BAG-registratie, de landelijke registratie van de Nederlandse overheid.
Melkweg 10 heeft als functie: wonen. Deze gebruiksfunctie(s) zijn vastgelegd in de BAG-registratie en geven aan waarvoor het adres officieel mag worden gebruikt.
Melkweg 10 is gelegen op kadastraal perceel GLE01B5297. Deze kadastrale aanduiding is uniek en wordt gebruikt door het Kadaster om eigendomsrechten en andere zakelijke rechten vast te leggen. Het perceel maakt onderdeel uit van de kadastrale gemeente Goirle.
Het perceel waarop Melkweg 10 staat heeft een oppervlakte van 1756 m². Dit is een zeer groot perceel. De perceeloppervlakte wordt geregistreerd door het Kadaster. Gedetailleerde informatie over de maten van dit perceel kunt u vinden in het rapport Kadastrale kaart met maatvoering van Melkweg 10.
De eigenaar van Melkweg 10 is op te vragen op deze pagina.
De informatie over dit adres is afkomstig uit officiële overheidsregistraties, voornamelijk de Basisregistratie Adressen en Gebouwen (BAG) en de Basisregistratie Kadaster (BRK). Deze gegevens worden beheerd door respectievelijk gemeenten en het Kadaster, en worden regelmatig bijgewerkt. Energielabelgegevens komen uit de database van de Rijksdienst voor Ondernemend Nederland (RVO).
