
Het adres Ketelstraat 20 bevindt zich in de plaats Groesbeek, in de gemeente Groesbeek en de provincie Gelderland. Het perceel waarop het verblijfsobject staat is 672 m² groot. De oppervlakte van het adres is 120 m², wat zich rond het Nederlandse gemiddelde van 119 m² bevindt. Het adres is klein vergeleken met andere objecten in de straat. Het grootste object in de straat heeft een oppervlakte van 699 m², het kleinste is 91 m² groot. Het adres Ketelstraat 20 ligt in een relatief oud pand uit het jaar 1963. Panden van vóór het jaar 1965 hebben we hier geclassificeerd als oud. In de straat komt het nieuwste gebouw uit het jaar 2025 en het oudste uit 1947. Het bouwjaar van dit object is relatief oud. De volgende gebruiksdoelen zijn geregistreerd voor dit adres: 'woonfunctie'.
Deze woning is voor het laatst verkocht op 1 juni 2021. Meer informatie over deze transactie? Bestel het Woningtransactierapport om de verkoopprijs en andere informatie te zien.
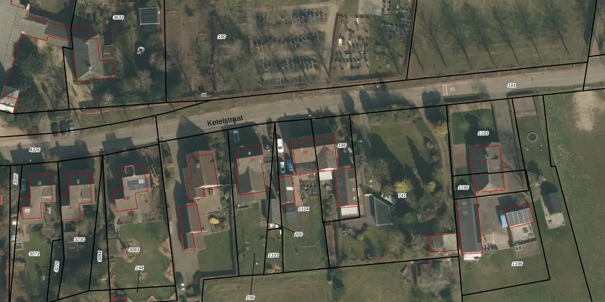
Het adres ligt op het perceel GBK00-P-1104, dat zich in de kadastrale gemeente Groesbeek bevindt. Het perceel is 672 m² groot. Dat is kleiner dan de gemiddelde perceeloppervlakte in Groesbeek, dat op 4188,64 m² ligt. De grootste perceeloppervlakte in de kadastrale gemeente is 99,9 ha. De kleinste oppervlakte bedraagt 0 m². Er zijn geen andere adressen aanwezig op het perceel. In de Basisregistratie Kadaster (BRK) werden de grenzen van het perceel geregistreerd op 25-10-2018.
Het adres ligt in een gebouw van het type 'twee-onder-een-kap / rijwoning hoek met het subtype twee-onder-een-kap'. Bij de laatste meting is voor het adres het energielabel F geregistreerd. Het hoogste energielabel in de straat is B; het laagste is G. Het gemiddelde energielabel is er D. Het adres Ketelstraat 20 heeft als status: 'verblijfsobject in gebruik'. Het pand waarin dit adres ligt heeft als status: 'pand in gebruik'.
Ketelstraat 20 is een adres gelegen in de gemeente Berg en Dal, provincie Gelderland. Dit adres is geregistreerd in de Basisregistratie Adressen en Gebouwen (BAG) met als unieke identificatie 0241010000002692.
Het pand op Ketelstraat 20 is gebouwd in 1963, wat betekent dat het 63 jaar oud is. Dit is een ouder pand. Het pand heeft mogelijk aanzienlijke renovaties nodig om aan de huidige standaarden te voldoen.
De woning op Ketelstraat 20 heeft een gebruiksoppervlakte van 120 m². Dit is gemiddeld vergeleken met de gemiddelde Nederlandse woning, die een oppervlakte heeft van ongeveer 119 m². De gebruiksoppervlakte is de maat die wordt gebruikt in de BAG-registratie, de landelijke registratie van de Nederlandse overheid.
Ketelstraat 20 heeft als functie: wonen. Deze gebruiksfunctie(s) zijn vastgelegd in de BAG-registratie en geven aan waarvoor het adres officieel mag worden gebruikt.
Ketelstraat 20 is gelegen op kadastraal perceel GBK00P1104. Deze kadastrale aanduiding is uniek en wordt gebruikt door het Kadaster om eigendomsrechten en andere zakelijke rechten vast te leggen. Het perceel maakt onderdeel uit van de kadastrale gemeente Groesbeek.
Het perceel waarop Ketelstraat 20 staat heeft een oppervlakte van 672 m². Dit is een groot perceel. De perceeloppervlakte wordt geregistreerd door het Kadaster. Gedetailleerde informatie over de maten van dit perceel kunt u vinden in het rapport Kadastrale kaart met maatvoering van Ketelstraat 20.
De eigenaar van Ketelstraat 20 is op te vragen op deze pagina.
De informatie over dit adres is afkomstig uit officiële overheidsregistraties, voornamelijk de Basisregistratie Adressen en Gebouwen (BAG) en de Basisregistratie Kadaster (BRK). Deze gegevens worden beheerd door respectievelijk gemeenten en het Kadaster, en worden regelmatig bijgewerkt. Energielabelgegevens komen uit de database van de Rijksdienst voor Ondernemend Nederland (RVO).
