
Haarlerveldweg 2-a is een adres in Haarle, dat zich bevindt binnen de gemeentegrenzen van Haarle en de grenzen van de provincie Overijssel. Het perceel waarop het adres gelegen is heeft een oppervlakte van 580 m². Het verblijfsobject is met 95 m² relatief klein. Het object is klein ten opzichte van de andere adressen in de straat. Het grootste verblijfsobject is 2315 m² groot en het kleinste is 71 m². De gemiddelde bouwperiode van gebouwen in Nederland ligt tussen de jaren 1965-1984. Dat geldt ook voor het bouwjaar van Haarlerveldweg 2-a: het is gebouwd in het jaar 1976. Het bouwjaar is oud vergeleken met dat van de andere panden in de straat. Het oudste bouwjaar is er 1930 en de nieuwste is 2025. Het verblijfsobject heeft de volgende gebruiksdoelen: 'woonfunctie' en 'industriefunctie'.
Deze woning is voor het laatst verkocht op 1 december 2017. Meer informatie over deze transactie? Bestel het Woningtransactierapport om de verkoopprijs en andere informatie te zien.
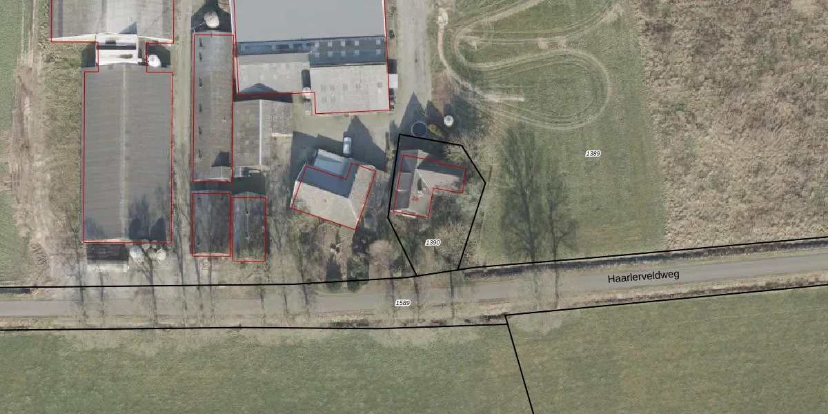
Het perceel waarop het adres ligt is HLD01-S-1390. De afkorting 'HLD01' staat voor kadastrale gemeente Hellendoorn. Het perceel is kleiner dan gemiddeld in Hellendoorn. Het perceel is 580 m² groot, terwijl het gemiddelde ligt op 5688,29 m². Het kleinste perceel in de kadastrale gemeente is 0 m² groot. De grootste perceeloppervlakte is 3,02 km². Dit is het enige adres dat aanwezig is op het perceel. De huidige grenzen van het perceel zijn digitaal in de Basisregistratie Kadaster (BRK) geregistreerd op 24-05-2018.
Het adres ligt in een gebouw van het type 'vrijstaande woning'. Bij de laatste meting is voor het adres het energielabel B geregistreerd. Het hoogste energielabel in de straat is A+; het laagste is G. Het gemiddelde energielabel is er C. Het adres Haarlerveldweg 2-a heeft als status: 'verblijfsobject in gebruik'. Het pand waarin dit adres ligt heeft als status: 'pand in gebruik'.
Haarlerveldweg 2-a is een adres gelegen in de gemeente Hellendoorn, provincie Overijssel. Dit adres is geregistreerd in de Basisregistratie Adressen en Gebouwen (BAG) met als unieke identificatie 0163010000552851.
Het pand op Haarlerveldweg 2-a is gebouwd in 1976, wat betekent dat het 50 jaar oud is. Dit is een ouder pand. Het pand heeft mogelijk aanzienlijke renovaties nodig om aan de huidige standaarden te voldoen.
De woning op Haarlerveldweg 2-a heeft een gebruiksoppervlakte van 95 m². Dit is onder het gemiddelde vergeleken met de gemiddelde Nederlandse woning, die een oppervlakte heeft van ongeveer 119 m². De gebruiksoppervlakte is de maat die wordt gebruikt in de BAG-registratie, de landelijke registratie van de Nederlandse overheid.
Haarlerveldweg 2-a heeft als functie: wonen en industrie. Deze gebruiksfunctie(s) zijn vastgelegd in de BAG-registratie en geven aan waarvoor het adres officieel mag worden gebruikt.
Haarlerveldweg 2-a is gelegen op kadastraal perceel HLD01S1390. Deze kadastrale aanduiding is uniek en wordt gebruikt door het Kadaster om eigendomsrechten en andere zakelijke rechten vast te leggen. Het perceel maakt onderdeel uit van de kadastrale gemeente Hellendoorn.
Het perceel waarop Haarlerveldweg 2-a staat heeft een oppervlakte van 580 m². Dit is een groot perceel. De perceeloppervlakte wordt geregistreerd door het Kadaster. Gedetailleerde informatie over de maten van dit perceel kunt u vinden in het rapport Kadastrale kaart met maatvoering van Haarlerveldweg 2-a.
De eigenaar van Haarlerveldweg 2-a is op te vragen op deze pagina.
De informatie over dit adres is afkomstig uit officiële overheidsregistraties, voornamelijk de Basisregistratie Adressen en Gebouwen (BAG) en de Basisregistratie Kadaster (BRK). Deze gegevens worden beheerd door respectievelijk gemeenten en het Kadaster, en worden regelmatig bijgewerkt. Energielabelgegevens komen uit de database van de Rijksdienst voor Ondernemend Nederland (RVO).
