
Helhuizenweg 12 is een adres in Haarle, dat zich bevindt binnen de gemeentegrenzen van Haarle en de grenzen van de provincie Overijssel. De oppervlakte van het object bedraagt 60 m². Dat is klein vergeleken met het Nederlandse gemiddelde. Het perceel waarop het adres ligt is 784 m² groot. In de straat is dit het kleinste object. Het grootste verblijfsobject heeft een oppervlakte van 280 m². De gemiddelde grootte is er 162 m². Helhuizenweg 12 bevindt zich in een pand uit het jaar 1929. Daarmee behoort het tot de groep relatief oude panden in Nederland die gebouwd zijn vóór 1965. In de straat komt het nieuwste gebouw uit het jaar 2018 en het oudste uit 1925. Het bouwjaar van dit object is relatief oud. Voor het verblijfsobject gelden deze gebruiksdoelen: 'woonfunctie'.
Deze woning is voor het laatst verkocht op 1 januari 2014. Meer informatie over deze transactie? Bestel het Woningtransactierapport om de verkoopprijs en andere informatie te zien.
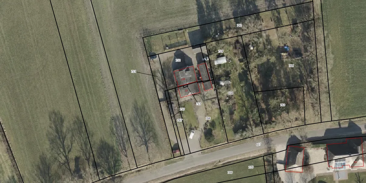
Het perceel waarop het adres ligt is HLD01-D-768. De afkorting 'HLD01' staat voor kadastrale gemeente Hellendoorn. De gemiddelde perceelgrootte in Hellendoorn is 5687,13 m². Dit perceel is kleiner: de perceeloppervlakte bedraagt 784 m². Het grootste perceel in de kadastrale gemeente is 3,02 km². Het kleinste perceel heeft een oppervlakte van 0 m². Er zijn geen andere adressen aanwezig op het perceel. De huidige grenzen van het perceel zijn digitaal in de Basisregistratie Kadaster (BRK) geregistreerd op 22-08-2012.
Er is geen energielabel geregistreerd voor het adres. Het hoogste energielabel in de straat is C; het laagste is G. Het gemiddelde energielabel is er E. Het adres Helhuizenweg 12 heeft als status: 'verblijfsobject in gebruik'. Het pand waarin dit adres ligt heeft als status: 'pand in gebruik'.
Helhuizenweg 12 is een adres gelegen in de gemeente Hellendoorn, provincie Overijssel. Dit adres is geregistreerd in de Basisregistratie Adressen en Gebouwen (BAG) met als unieke identificatie 0163010000553657.
Het pand op Helhuizenweg 12 is gebouwd in 1929, wat betekent dat het 97 jaar oud is. Dit is een ouder pand. Het pand heeft mogelijk aanzienlijke renovaties nodig om aan de huidige standaarden te voldoen.
De woning op Helhuizenweg 12 heeft een gebruiksoppervlakte van 60 m². Dit is relatief klein vergeleken met de gemiddelde Nederlandse woning, die een oppervlakte heeft van ongeveer 119 m². De gebruiksoppervlakte is de maat die wordt gebruikt in de BAG-registratie, de landelijke registratie van de Nederlandse overheid.
Helhuizenweg 12 heeft als functie: wonen. Deze gebruiksfunctie(s) zijn vastgelegd in de BAG-registratie en geven aan waarvoor het adres officieel mag worden gebruikt.
Helhuizenweg 12 is gelegen op kadastraal perceel HLD01D768. Deze kadastrale aanduiding is uniek en wordt gebruikt door het Kadaster om eigendomsrechten en andere zakelijke rechten vast te leggen. Het perceel maakt onderdeel uit van de kadastrale gemeente Hellendoorn.
Het perceel waarop Helhuizenweg 12 staat heeft een oppervlakte van 784 m². Dit is een groot perceel. De perceeloppervlakte wordt geregistreerd door het Kadaster. Gedetailleerde informatie over de maten van dit perceel kunt u vinden in het rapport Kadastrale kaart met maatvoering van Helhuizenweg 12.
De eigenaar van Helhuizenweg 12 is op te vragen op deze pagina.
De informatie over dit adres is afkomstig uit officiële overheidsregistraties, voornamelijk de Basisregistratie Adressen en Gebouwen (BAG) en de Basisregistratie Kadaster (BRK). Deze gegevens worden beheerd door respectievelijk gemeenten en het Kadaster, en worden regelmatig bijgewerkt. Energielabelgegevens komen uit de database van de Rijksdienst voor Ondernemend Nederland (RVO).
