
Koersweg 3 is een adres in Haarle, dat zich bevindt binnen de gemeentegrenzen van Haarle en de grenzen van de provincie Overijssel. De oppervlakte van het verblijfsobject is met 1475 m² aan de grote kant. Het perceel heeft een oppervlakte van 7,2 ha. In de straat is dit het adres met de grootste oppervlakte. De objecten in de straat zijn gemiddeld 208 m² groot. Het kleinste verblijfsobject heeft een oppervlakte van 32 m². In het jaar 2014 is het pand waarin Koersweg 3 ligt gebouwd. Dat is relatief recent: de meeste gebouwen in Nederland zijn gebouwd in de periode 1965-1984. Dit object is relatief nieuw in de straat. Het nieuwste gebouw komt er uit het jaar 2024 en het oudste uit het jaar 1900. Het verblijfsobject heeft de volgende gebruiksdoelen: 'woonfunctie' en 'industriefunctie'.
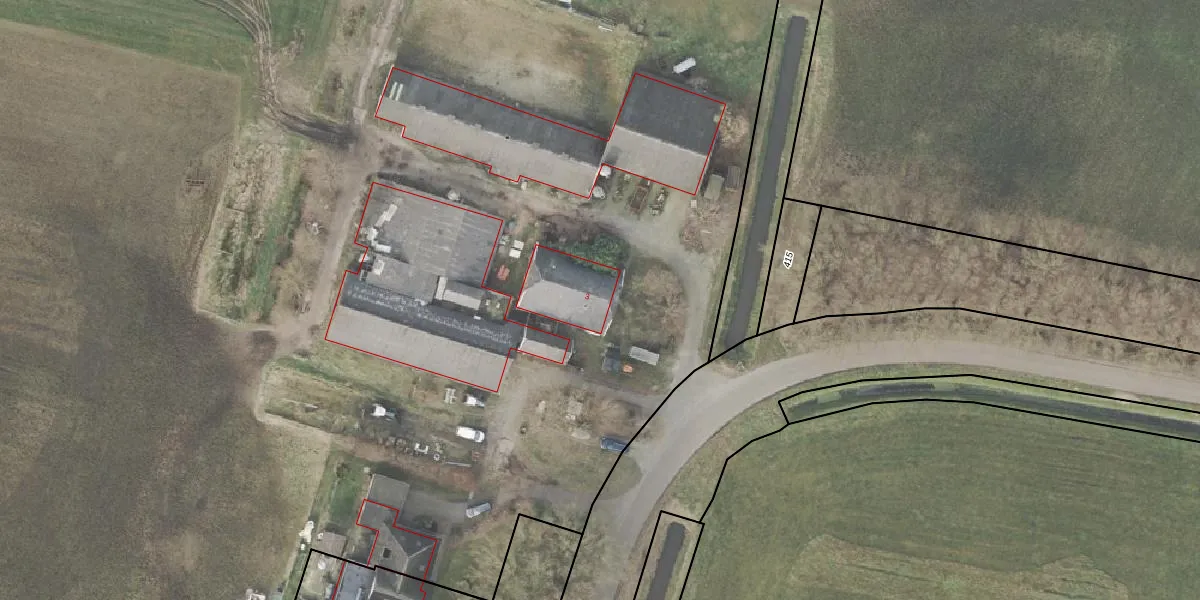
Het perceel waarop het adres ligt is HLD01-R-619. De afkorting 'HLD01' staat voor kadastrale gemeente Hellendoorn. De gemiddelde perceeloppervlakte in de kadastrale gemeente Hellendoorn is 5689,92 m². Dit perceel is met zijn 7,2 ha dus groter dan gemiddeld. De grootste perceeloppervlakte in de kadastrale gemeente is 3,02 km². De kleinste oppervlakte bedraagt 0 m². Op het perceel bevinden zich geen andere adressen. De huidige grenzen van het perceel zijn digitaal in de Basisregistratie Kadaster (BRK) geregistreerd op 16-09-2005.
Er is geen energielabel geregistreerd voor het adres. Het hoogste energielabel in de straat is B; het laagste is G. Het gemiddelde energielabel is er C. Het adres Koersweg 3 heeft als status: 'verblijfsobject in gebruik'. Het pand waarin dit adres ligt heeft als status: 'pand in gebruik'.
Koersweg 3 is een adres gelegen in de gemeente Hellendoorn, provincie Overijssel. Dit adres is geregistreerd in de Basisregistratie Adressen en Gebouwen (BAG) met als unieke identificatie 0163010000555903.
Het pand op Koersweg 3 is gebouwd in 2014, wat betekent dat het 12 jaar oud is. Dit is een relatief modern pand. Ten opzichte van de nationale woningvoorraad is het pand relatief modern, maar er kunnen enkele verouderde elementen zijn die aandacht nodig hebben.
De woning op Koersweg 3 heeft een gebruiksoppervlakte van 1475 m². Dit is ruim vergeleken met de gemiddelde Nederlandse woning, die een oppervlakte heeft van ongeveer 119 m². De gebruiksoppervlakte is de maat die wordt gebruikt in de BAG-registratie, de landelijke registratie van de Nederlandse overheid.
Koersweg 3 heeft als functie: wonen en industrie. Deze gebruiksfunctie(s) zijn vastgelegd in de BAG-registratie en geven aan waarvoor het adres officieel mag worden gebruikt.
Koersweg 3 is gelegen op kadastraal perceel HLD01R619. Deze kadastrale aanduiding is uniek en wordt gebruikt door het Kadaster om eigendomsrechten en andere zakelijke rechten vast te leggen. Het perceel maakt onderdeel uit van de kadastrale gemeente Hellendoorn.
Het perceel waarop Koersweg 3 staat heeft een oppervlakte van 7,2 ha. Dit is een zeer groot perceel. De perceeloppervlakte wordt geregistreerd door het Kadaster. Gedetailleerde informatie over de maten van dit perceel kunt u vinden in het rapport Kadastrale kaart met maatvoering van Koersweg 3.
De eigenaar van Koersweg 3 is op te vragen op deze pagina.
De informatie over dit adres is afkomstig uit officiële overheidsregistraties, voornamelijk de Basisregistratie Adressen en Gebouwen (BAG) en de Basisregistratie Kadaster (BRK). Deze gegevens worden beheerd door respectievelijk gemeenten en het Kadaster, en worden regelmatig bijgewerkt. Energielabelgegevens komen uit de database van de Rijksdienst voor Ondernemend Nederland (RVO).
