
Halseweg 50 is gelegen in de plaats Halle, de gemeente Bronckhorst en de provincie Gelderland. De oppervlakte bedraagt 175 m², waarmee het adres groter dan gemiddeld is. De grootte van het perceel waarop het adres ligt is 1675 m². De oppervlakte van dit adres is groot vergeleken met de oppervlaktes van andere adressen in de straat. De kleinste oppervlakte bedraagt er 23 m², de grootste 649 m². Het gebouw waarin Halseweg 50 ligt komt uit het jaar 1949. Objecten die gebouwd zijn vóór 1965 classificeren we hier als oud. In de straat komt het nieuwste gebouw uit het jaar 2026 en het oudste uit 1880. Het bouwjaar van dit object is relatief oud. De volgende gebruiksdoelen zijn geregistreerd voor dit adres: 'woonfunctie'.
Deze woning is voor het laatst verkocht op 1 december 2023. Meer informatie over deze transactie? Bestel het Woningtransactierapport om de verkoopprijs en andere informatie te zien.
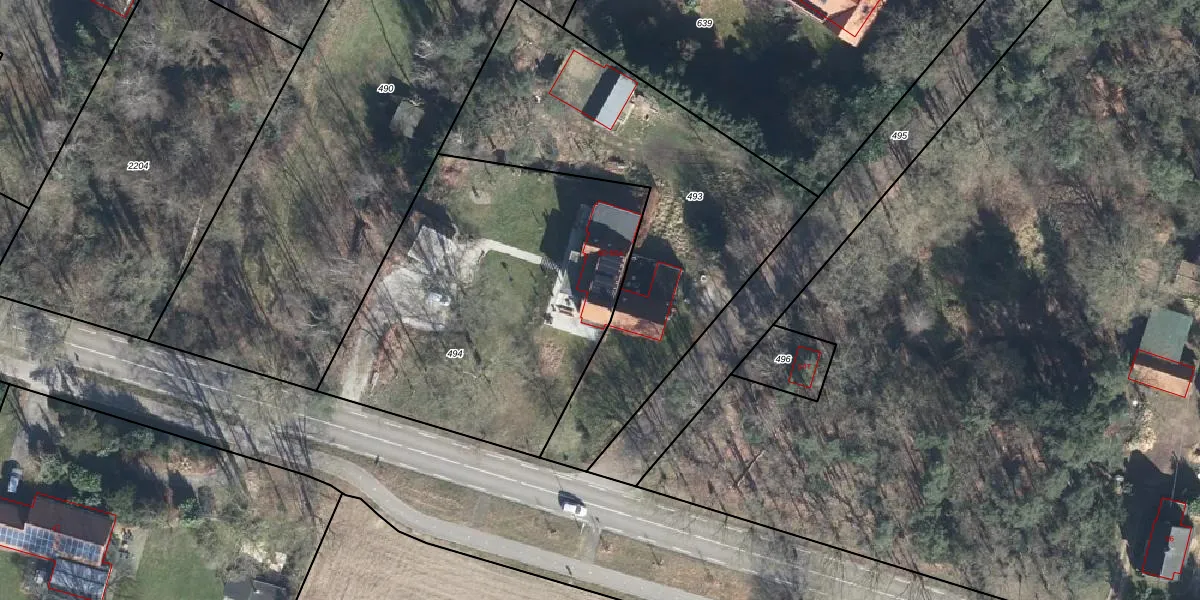
Het adres ligt op het perceel ZHM00-AC-494, dat zich in de kadastrale gemeente Zelhem bevindt. Het perceel is 1675 m² groot. Dat is kleiner dan de gemiddelde perceeloppervlakte in Zelhem, dat op 7941,22 m² ligt. Het kleinste perceel in de kadastrale gemeente is 0 m² groot. De grootste perceeloppervlakte is 43,7 ha. Er zijn geen andere adressen aanwezig op het perceel. De laatste wijziging in het de Basisregistratie Kadaster (BRK) was op 21-11-2006.
Het adres ligt in een gebouw van het type 'twee-onder-een-kap / rijwoning hoek met het subtype twee-onder-een-kap'. Bij de laatste meting is voor het adres het energielabel B geregistreerd. Het hoogste energielabel in de straat is A++++; het laagste is G. Het gemiddelde energielabel is er B. Het adres Halseweg 50 heeft als status: 'verblijfsobject in gebruik'. Het pand waarin dit adres ligt heeft als status: 'pand in gebruik'.
Halseweg 50 is een adres gelegen in de gemeente Bronckhorst, provincie Gelderland. Dit adres is geregistreerd in de Basisregistratie Adressen en Gebouwen (BAG) met als unieke identificatie 1876010001006712.
Het pand op Halseweg 50 is gebouwd in 1949, wat betekent dat het 77 jaar oud is. Dit is een ouder pand. Het pand heeft mogelijk aanzienlijke renovaties nodig om aan de huidige standaarden te voldoen.
De woning op Halseweg 50 heeft een gebruiksoppervlakte van 175 m². Dit is ruim vergeleken met de gemiddelde Nederlandse woning, die een oppervlakte heeft van ongeveer 119 m². De gebruiksoppervlakte is de maat die wordt gebruikt in de BAG-registratie, de landelijke registratie van de Nederlandse overheid.
Halseweg 50 heeft als functie: wonen. Deze gebruiksfunctie(s) zijn vastgelegd in de BAG-registratie en geven aan waarvoor het adres officieel mag worden gebruikt.
Halseweg 50 is gelegen op kadastraal perceel ZHM00AC494. Deze kadastrale aanduiding is uniek en wordt gebruikt door het Kadaster om eigendomsrechten en andere zakelijke rechten vast te leggen. Het perceel maakt onderdeel uit van de kadastrale gemeente Zelhem.
Het perceel waarop Halseweg 50 staat heeft een oppervlakte van 1675 m². Dit is een zeer groot perceel. De perceeloppervlakte wordt geregistreerd door het Kadaster. Gedetailleerde informatie over de maten van dit perceel kunt u vinden in het rapport Kadastrale kaart met maatvoering van Halseweg 50.
De eigenaar van Halseweg 50 is op te vragen op deze pagina.
De informatie over dit adres is afkomstig uit officiële overheidsregistraties, voornamelijk de Basisregistratie Adressen en Gebouwen (BAG) en de Basisregistratie Kadaster (BRK). Deze gegevens worden beheerd door respectievelijk gemeenten en het Kadaster, en worden regelmatig bijgewerkt. Energielabelgegevens komen uit de database van de Rijksdienst voor Ondernemend Nederland (RVO).
