
Wijersakker 106 is een adres in Hapert, dat zich bevindt binnen de gemeentegrenzen van Hapert en de grenzen van de provincie Noord-Brabant. De oppervlakte van het object bedraagt 50 m². Dat is klein vergeleken met het Nederlandse gemiddelde. Het perceel waarop het adres ligt is 1,1 ha groot. Het adres is klein vergeleken met andere objecten in de straat. Het grootste object in de straat heeft een oppervlakte van 143 m², het kleinste is 5 m² groot. In het jaar 2026 is het pand waarin Wijersakker 106 ligt gebouwd. Dat is relatief recent: de meeste gebouwen in Nederland zijn gebouwd in de periode 1965-1984. In de straat is dit het nieuwste pand en stamt het oudste object uit het jaar 2026. Het gemiddelde bouwjaar in de straat is 2026. Het verblijfsobject heeft de volgende gebruiksdoelen: 'woonfunctie'.
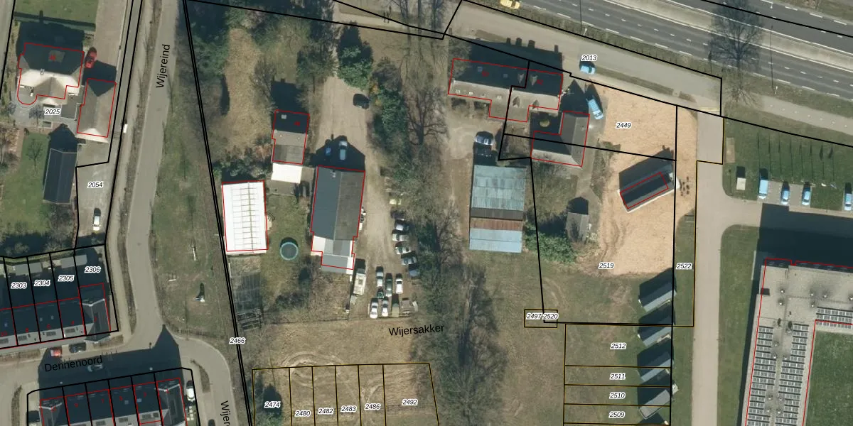
Het adres ligt op het perceel HGL04-G-2473, dat zich in de kadastrale gemeente Hoogeloon bevindt. De gemiddelde perceeloppervlakte in de kadastrale gemeente Hoogeloon is 5349,76 m². Dit perceel is met zijn 1,1 ha dus groter dan gemiddeld. De grootste perceeloppervlakte in de kadastrale gemeente is 4,36 km². De kleinste oppervlakte bedraagt 0 m². Op het perceel zijn 62 adressen aanwezig. De huidige grenzen van het perceel zijn digitaal in de Basisregistratie Kadaster (BRK) geregistreerd op 03-03-2026.
Er is geen energielabel geregistreerd voor het adres. Het hoogste energielabel in de straat is G; het laagste is G. Het gemiddelde energielabel is er G. Het adres Wijersakker 106 heeft als status: 'verblijfsobject gevormd'. Het pand waarin dit adres ligt heeft als status: 'bouwvergunning verleend'.
Wijersakker 106 is een adres gelegen in de gemeente Bladel, provincie Noord-Brabant. Dit adres is geregistreerd in de Basisregistratie Adressen en Gebouwen (BAG) met als unieke identificatie 1728010000904176.
Het pand op Wijersakker 106 is gebouwd in 2026, wat betekent dat het 0 jaar oud is. Dit is een vrij nieuw pand. Het pand is dus waarschijnlijk goed geïsoleerd, geluidsdicht en voldoet aan de huidige bouwstandaarden. Op korte termijn zijn er waarschijnlijk weinig onderhoudskosten.
De woning op Wijersakker 106 heeft een gebruiksoppervlakte van 50 m². Dit is relatief klein vergeleken met de gemiddelde Nederlandse woning, die een oppervlakte heeft van ongeveer 119 m². De gebruiksoppervlakte is de maat die wordt gebruikt in de BAG-registratie, de landelijke registratie van de Nederlandse overheid.
Wijersakker 106 heeft als functie: wonen. Deze gebruiksfunctie(s) zijn vastgelegd in de BAG-registratie en geven aan waarvoor het adres officieel mag worden gebruikt.
Wijersakker 106 is gelegen op kadastraal perceel HGL04G2473. Deze kadastrale aanduiding is uniek en wordt gebruikt door het Kadaster om eigendomsrechten en andere zakelijke rechten vast te leggen. Het perceel maakt onderdeel uit van de kadastrale gemeente Hoogeloon.
Het perceel waarop Wijersakker 106 staat heeft een oppervlakte van 1,1 ha. Dit is een zeer groot perceel. De perceeloppervlakte wordt geregistreerd door het Kadaster. Gedetailleerde informatie over de maten van dit perceel kunt u vinden in het rapport Kadastrale kaart met maatvoering van Wijersakker 106.
De eigenaar van Wijersakker 106 is op te vragen op deze pagina.
De informatie over dit adres is afkomstig uit officiële overheidsregistraties, voornamelijk de Basisregistratie Adressen en Gebouwen (BAG) en de Basisregistratie Kadaster (BRK). Deze gegevens worden beheerd door respectievelijk gemeenten en het Kadaster, en worden regelmatig bijgewerkt. Energielabelgegevens komen uit de database van de Rijksdienst voor Ondernemend Nederland (RVO).
