
Het adres Wijersakker 90 bevindt zich in de plaats Hapert, in de gemeente Hapert en de provincie Noord-Brabant. Het perceel waarop het adres gelegen is heeft een oppervlakte van 1352 m². Het verblijfsobject is met 74 m² relatief klein. De oppervlakte van dit adres is groot vergeleken met de oppervlaktes van andere adressen in de straat. De kleinste oppervlakte bedraagt er 5 m², de grootste 143 m². In het jaar 2026 is het pand waarin Wijersakker 90 ligt gebouwd. Dat is relatief recent: de meeste gebouwen in Nederland zijn gebouwd in de periode 1965-1984. Het gemiddelde bouwjaar in de straat is 2026 en dat van het oudste pand is 2026. Dit is het nieuwste object in de straat. Het verblijfsobject heeft de volgende gebruiksdoelen: 'woonfunctie'.
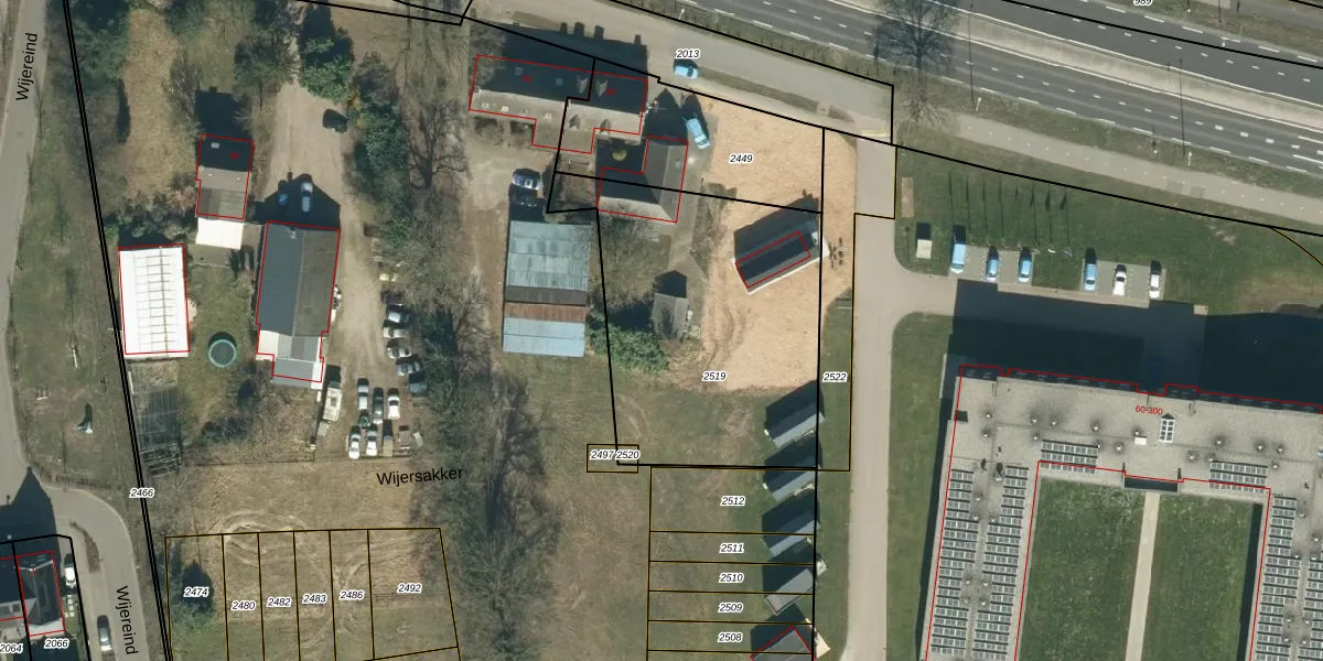
Het adres ligt op het perceel HGL04-G-2519, dat zich in de kadastrale gemeente Hoogeloon bevindt. Het perceel is kleiner dan gemiddeld in Hoogeloon. Het perceel is 1352 m² groot, terwijl het gemiddelde ligt op 5349,76 m². De grootste perceeloppervlakte in de kadastrale gemeente is 4,36 km². De kleinste oppervlakte bedraagt 0 m². Er zijn 21 adressen aanwezig op het perceel. In de Basisregistratie Kadaster (BRK) werden de grenzen van het perceel geregistreerd op 03-03-2026.
Er is geen energielabel geregistreerd voor het adres. Het hoogste energielabel in de straat is G; het laagste is G. Het gemiddelde energielabel is er G. Het adres Wijersakker 90 heeft als status: 'verblijfsobject gevormd'. Het pand waarin dit adres ligt heeft als status: 'bouwvergunning verleend'.
Wijersakker 90 is een adres gelegen in de gemeente Bladel, provincie Noord-Brabant. Dit adres is geregistreerd in de Basisregistratie Adressen en Gebouwen (BAG) met als unieke identificatie 1728010000904160.
Het pand op Wijersakker 90 is gebouwd in 2026, wat betekent dat het 0 jaar oud is. Dit is een vrij nieuw pand. Het pand is dus waarschijnlijk goed geïsoleerd, geluidsdicht en voldoet aan de huidige bouwstandaarden. Op korte termijn zijn er waarschijnlijk weinig onderhoudskosten.
De woning op Wijersakker 90 heeft een gebruiksoppervlakte van 74 m². Dit is relatief klein vergeleken met de gemiddelde Nederlandse woning, die een oppervlakte heeft van ongeveer 119 m². De gebruiksoppervlakte is de maat die wordt gebruikt in de BAG-registratie, de landelijke registratie van de Nederlandse overheid.
Wijersakker 90 heeft als functie: wonen. Deze gebruiksfunctie(s) zijn vastgelegd in de BAG-registratie en geven aan waarvoor het adres officieel mag worden gebruikt.
Wijersakker 90 is gelegen op kadastraal perceel HGL04G2519. Deze kadastrale aanduiding is uniek en wordt gebruikt door het Kadaster om eigendomsrechten en andere zakelijke rechten vast te leggen. Het perceel maakt onderdeel uit van de kadastrale gemeente Hoogeloon.
Het perceel waarop Wijersakker 90 staat heeft een oppervlakte van 1352 m². Dit is een zeer groot perceel. De perceeloppervlakte wordt geregistreerd door het Kadaster. Gedetailleerde informatie over de maten van dit perceel kunt u vinden in het rapport Kadastrale kaart met maatvoering van Wijersakker 90.
De eigenaar van Wijersakker 90 is op te vragen op deze pagina.
De informatie over dit adres is afkomstig uit officiële overheidsregistraties, voornamelijk de Basisregistratie Adressen en Gebouwen (BAG) en de Basisregistratie Kadaster (BRK). Deze gegevens worden beheerd door respectievelijk gemeenten en het Kadaster, en worden regelmatig bijgewerkt. Energielabelgegevens komen uit de database van de Rijksdienst voor Ondernemend Nederland (RVO).
