
Haarbrinksweg 74 is een adres in Harbrinkhoek, dat zich bevindt binnen de gemeentegrenzen van Harbrinkhoek en de grenzen van de provincie Overijssel. Het verblijfsobject is 130 m² groot en bevindt zich op een perceel met een oppervlakte van 895 m². Gemiddeld hebben adressen in Nederland een oppervlakte van 119 m². De oppervlakte van het adres is klein vergeleken met de andere objecten in de straat. De oppervlakte van het kleinste object in de straat bedraagt 60 m², terwijl het grootste object 675 m² groot is. Het gebouw waarin Haarbrinksweg 74 ligt komt uit het jaar 1944. Objecten die gebouwd zijn vóór 1965 classificeren we hier als oud. Het bouwjaar is oud vergeleken met dat van de andere panden in de straat. Het oudste bouwjaar is er 1898 en de nieuwste is 2015. Voor het verblijfsobject gelden deze gebruiksdoelen: 'woonfunctie'.
Deze woning is voor het laatst verkocht op 1 maart 2008. Meer informatie over deze transactie? Bestel het Woningtransactierapport om de verkoopprijs en andere informatie te zien.
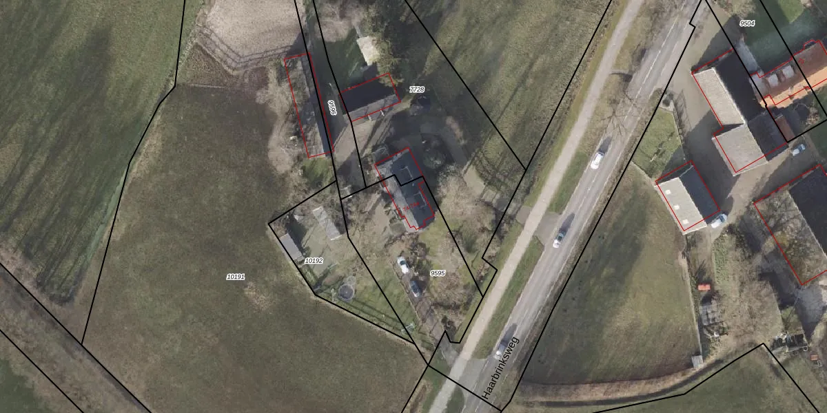
Het adres is gelegen op perceel 9595 in de sectie K en de kadastrale gemeente Tubbergen. De kadastrale aanduiding is aldus TBG02-K-9595. De gemiddelde perceelgrootte in Tubbergen is 6614,99 m². Dit perceel is kleiner: de perceeloppervlakte bedraagt 895 m². Het kleinste perceel in de kadastrale gemeente is 0 m² groot. De grootste perceeloppervlakte is 30,6 ha. Dit is het enige adres dat aanwezig is op het perceel. De huidige grenzen van het perceel zijn digitaal in de Basisregistratie Kadaster (BRK) geregistreerd op 29-11-2017.
Er is geen energielabel geregistreerd voor het adres. Het hoogste energielabel in de straat is A; het laagste is G. Het gemiddelde energielabel is er C. Het adres Haarbrinksweg 74 heeft als status: 'verblijfsobject in gebruik'. Het pand waarin dit adres ligt heeft als status: 'pand in gebruik'.
Haarbrinksweg 74 is een adres gelegen in de gemeente Tubbergen, provincie Overijssel. Dit adres is geregistreerd in de Basisregistratie Adressen en Gebouwen (BAG) met als unieke identificatie 0183010000144942.
Het pand op Haarbrinksweg 74 is gebouwd in 1944, wat betekent dat het 82 jaar oud is. Dit is een ouder pand. Het pand heeft mogelijk aanzienlijke renovaties nodig om aan de huidige standaarden te voldoen.
De woning op Haarbrinksweg 74 heeft een gebruiksoppervlakte van 130 m². Dit is gemiddeld vergeleken met de gemiddelde Nederlandse woning, die een oppervlakte heeft van ongeveer 119 m². De gebruiksoppervlakte is de maat die wordt gebruikt in de BAG-registratie, de landelijke registratie van de Nederlandse overheid.
Haarbrinksweg 74 heeft als functie: wonen. Deze gebruiksfunctie(s) zijn vastgelegd in de BAG-registratie en geven aan waarvoor het adres officieel mag worden gebruikt.
Haarbrinksweg 74 is gelegen op kadastraal perceel TBG02K9595. Deze kadastrale aanduiding is uniek en wordt gebruikt door het Kadaster om eigendomsrechten en andere zakelijke rechten vast te leggen. Het perceel maakt onderdeel uit van de kadastrale gemeente Tubbergen.
Het perceel waarop Haarbrinksweg 74 staat heeft een oppervlakte van 895 m². Dit is een groot perceel. De perceeloppervlakte wordt geregistreerd door het Kadaster. Gedetailleerde informatie over de maten van dit perceel kunt u vinden in het rapport Kadastrale kaart met maatvoering van Haarbrinksweg 74.
De eigenaar van Haarbrinksweg 74 is op te vragen op deze pagina.
De informatie over dit adres is afkomstig uit officiële overheidsregistraties, voornamelijk de Basisregistratie Adressen en Gebouwen (BAG) en de Basisregistratie Kadaster (BRK). Deze gegevens worden beheerd door respectievelijk gemeenten en het Kadaster, en worden regelmatig bijgewerkt. Energielabelgegevens komen uit de database van de Rijksdienst voor Ondernemend Nederland (RVO).
