
Feartswâl 7 is gelegen in de plaats Harkema, de gemeente Achtkarspelen en de provincie Friesland. De oppervlakte bedraagt 166 m², waarmee het adres groter dan gemiddeld is. De grootte van het perceel waarop het adres ligt is 3270 m². Het adres is klein vergeleken met andere objecten in de straat. Het grootste object in de straat heeft een oppervlakte van 1429 m², het kleinste is 3 m² groot. Het gebouw waarin Feartswâl 7 ligt komt uit het jaar 1962. Objecten die gebouwd zijn vóór 1965 classificeren we hier als oud. In de straat komt het nieuwste gebouw uit het jaar 1995 en het oudste uit 1937. Het bouwjaar van dit object is relatief oud. De volgende gebruiksdoelen zijn geregistreerd voor dit adres: 'woonfunctie'.
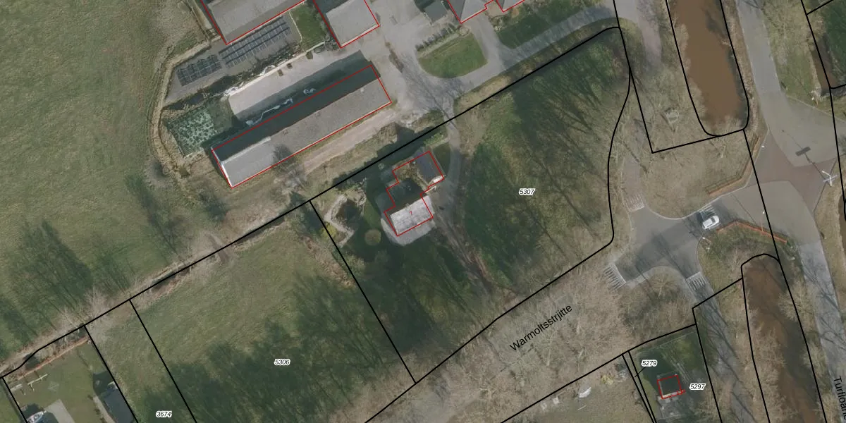
Het adres ligt op het perceel SHZ00-C-5307, dat zich in de kadastrale gemeente Surhuizum bevindt. Het perceel is 3270 m² groot. Dat is kleiner dan de gemiddelde perceeloppervlakte in Surhuizum, dat op 4085,32 m² ligt. Het kleinste perceel in de kadastrale gemeente is 1 m² groot. De grootste perceeloppervlakte is 9,0 ha. Er zijn geen andere adressen aanwezig op het perceel. De laatste wijziging in het de Basisregistratie Kadaster (BRK) was op 15-01-1998.
Er is geen energielabel geregistreerd voor het adres. Het hoogste energielabel in de straat is A; het laagste is G. Het gemiddelde energielabel is er B. Het adres Feartswâl 7 heeft als status: 'verblijfsobject in gebruik'. Het pand waarin dit adres ligt heeft als status: 'pand in gebruik'.
Feartswâl 7 is een adres gelegen in de gemeente Achtkarspelen, provincie Friesland. Dit adres is geregistreerd in de Basisregistratie Adressen en Gebouwen (BAG) met als unieke identificatie 0059010000845270.
Het pand op Feartswâl 7 is gebouwd in 1962, wat betekent dat het 64 jaar oud is. Dit is een ouder pand. Het pand heeft mogelijk aanzienlijke renovaties nodig om aan de huidige standaarden te voldoen.
De woning op Feartswâl 7 heeft een gebruiksoppervlakte van 166 m². Dit is ruim vergeleken met de gemiddelde Nederlandse woning, die een oppervlakte heeft van ongeveer 119 m². De gebruiksoppervlakte is de maat die wordt gebruikt in de BAG-registratie, de landelijke registratie van de Nederlandse overheid.
Feartswâl 7 heeft als functie: wonen. Deze gebruiksfunctie(s) zijn vastgelegd in de BAG-registratie en geven aan waarvoor het adres officieel mag worden gebruikt.
Feartswâl 7 is gelegen op kadastraal perceel SHZ00C5307. Deze kadastrale aanduiding is uniek en wordt gebruikt door het Kadaster om eigendomsrechten en andere zakelijke rechten vast te leggen. Het perceel maakt onderdeel uit van de kadastrale gemeente Surhuizum.
Het perceel waarop Feartswâl 7 staat heeft een oppervlakte van 3270 m². Dit is een zeer groot perceel. De perceeloppervlakte wordt geregistreerd door het Kadaster. Gedetailleerde informatie over de maten van dit perceel kunt u vinden in het rapport Kadastrale kaart met maatvoering van Feartswâl 7.
De eigenaar van Feartswâl 7 is op te vragen op deze pagina.
De informatie over dit adres is afkomstig uit officiële overheidsregistraties, voornamelijk de Basisregistratie Adressen en Gebouwen (BAG) en de Basisregistratie Kadaster (BRK). Deze gegevens worden beheerd door respectievelijk gemeenten en het Kadaster, en worden regelmatig bijgewerkt. Energielabelgegevens komen uit de database van de Rijksdienst voor Ondernemend Nederland (RVO).
