
Hondsbosseweg 7-A-13 is een adres in Heemskerk, dat zich bevindt binnen de gemeentegrenzen van Heemskerk en de grenzen van de provincie Noord-Holland. Het perceel waarop het adres gelegen is heeft een oppervlakte van 5555 m². Het verblijfsobject is met 15 m² relatief klein. Het adres is klein vergeleken met andere objecten in de straat. Het grootste object in de straat heeft een oppervlakte van 555 m², het kleinste is 5 m² groot. Hondsbosseweg 7-A-13 ligt in een gebouw uit het jaar 2018. Daarmee behoort het tot de groep panden van na 1984, die we als relatief nieuw bestempelen. Vergeleken met de andere panden in de straat is dit gebouw nieuw. Het vroegste bouwjaar is er 1700 en het laatste is 2021. Het verblijfsobject heeft de volgende gebruiksdoelen: 'overige gebruiksfunctie'.
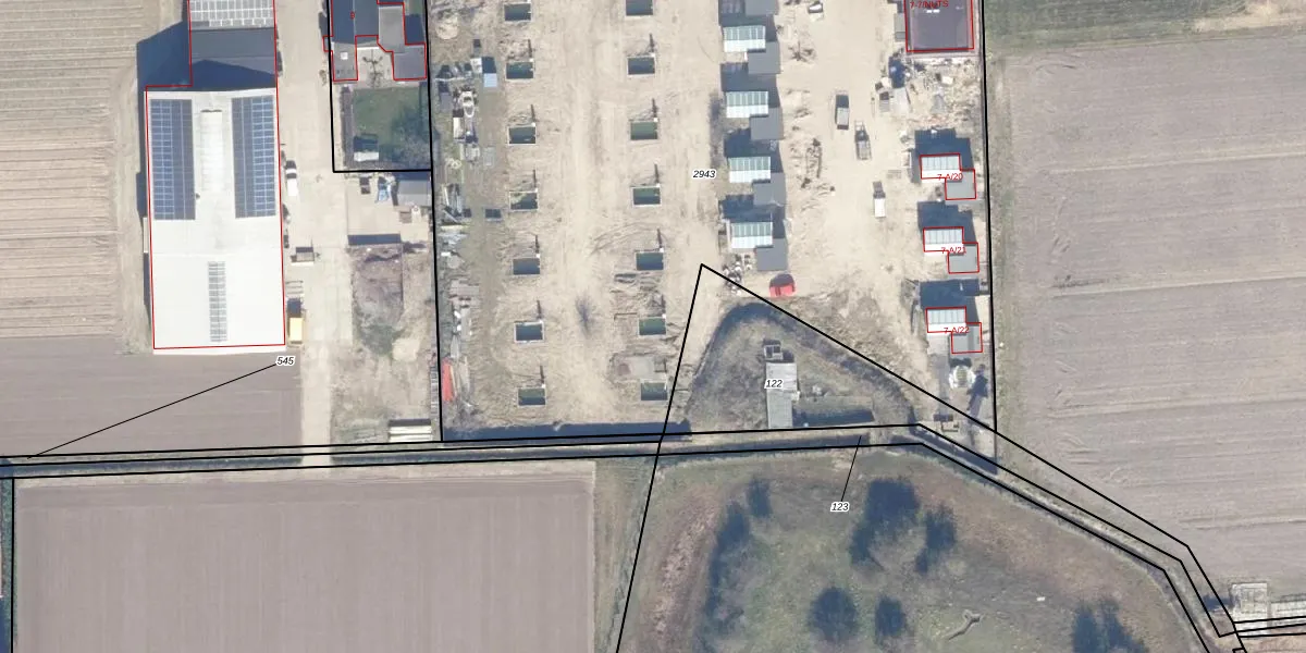
Het adres ligt op het perceel HKK01-E-2943, dat zich in de kadastrale gemeente Heemskerk bevindt. De gemiddelde perceeloppervlakte in de kadastrale gemeente Heemskerk is 2221,57 m². Dit perceel is met zijn 5555 m² dus groter dan gemiddeld. Het grootste perceel in de kadastrale gemeente is 3,82 km². Het kleinste perceel heeft een oppervlakte van 0 m². Er zijn 24 adressen aanwezig op het perceel. De huidige grenzen van het perceel zijn digitaal in de Basisregistratie Kadaster (BRK) geregistreerd op 30-10-2025.
Er is geen energielabel geregistreerd voor het adres. Het hoogste energielabel in de straat is B; het laagste is G. Het gemiddelde energielabel is er D. Het adres Hondsbosseweg 7-A-13 heeft als status: 'verblijfsobject gevormd'. Het pand waarin dit adres ligt heeft als status: 'bouwvergunning verleend'.
Hondsbosseweg 7-A-13 is een adres gelegen in de gemeente Heemskerk, provincie Noord-Holland. Dit adres is geregistreerd in de Basisregistratie Adressen en Gebouwen (BAG) met als unieke identificatie 0396010001024063.
Het pand op Hondsbosseweg 7-A-13 is gebouwd in 2018, wat betekent dat het 8 jaar oud is. Dit is een vrij nieuw pand. Het pand is dus waarschijnlijk goed geïsoleerd, geluidsdicht en voldoet aan de huidige bouwstandaarden. Op korte termijn zijn er waarschijnlijk weinig onderhoudskosten.
De woning op Hondsbosseweg 7-A-13 heeft een gebruiksoppervlakte van 15 m². Dit is relatief klein vergeleken met de gemiddelde Nederlandse woning, die een oppervlakte heeft van ongeveer 119 m². De gebruiksoppervlakte is de maat die wordt gebruikt in de BAG-registratie, de landelijke registratie van de Nederlandse overheid.
Hondsbosseweg 7-A-13 heeft als functie: overige doeleinden. Deze gebruiksfunctie(s) zijn vastgelegd in de BAG-registratie en geven aan waarvoor het adres officieel mag worden gebruikt.
Hondsbosseweg 7-A-13 is gelegen op kadastraal perceel HKK01E2943. Deze kadastrale aanduiding is uniek en wordt gebruikt door het Kadaster om eigendomsrechten en andere zakelijke rechten vast te leggen. Het perceel maakt onderdeel uit van de kadastrale gemeente Heemskerk.
Het perceel waarop Hondsbosseweg 7-A-13 staat heeft een oppervlakte van 5555 m². Dit is een zeer groot perceel. De perceeloppervlakte wordt geregistreerd door het Kadaster. Gedetailleerde informatie over de maten van dit perceel kunt u vinden in het rapport Kadastrale kaart met maatvoering van Hondsbosseweg 7-A-13.
De eigenaar van Hondsbosseweg 7-A-13 is op te vragen op deze pagina.
De informatie over dit adres is afkomstig uit officiële overheidsregistraties, voornamelijk de Basisregistratie Adressen en Gebouwen (BAG) en de Basisregistratie Kadaster (BRK). Deze gegevens worden beheerd door respectievelijk gemeenten en het Kadaster, en worden regelmatig bijgewerkt. Energielabelgegevens komen uit de database van de Rijksdienst voor Ondernemend Nederland (RVO).
