
Het adres Heremaweg 4-121 bevindt zich in de plaats Heerenveen, in de gemeente Heerenveen en de provincie Friesland. Het perceel waarop het adres gelegen is heeft een oppervlakte van 6687 m². Het verblijfsobject is met 39 m² relatief klein. Het object is klein ten opzichte van de andere adressen in de straat. Het grootste verblijfsobject is 9426 m² groot en het kleinste is 19 m². De meeste Nederlandse gebouwen zijn gebouwd in de periode 1965-1984. Zo ook het pand waarin Heremaweg 4-121 ligt, dat gebouwd is in 1971. Het bouwjaar is oud vergeleken met dat van de andere panden in de straat. Het oudste bouwjaar is er 1920 en de nieuwste is 2024. De volgende gebruiksdoelen zijn geregistreerd voor dit adres: 'woonfunctie'.
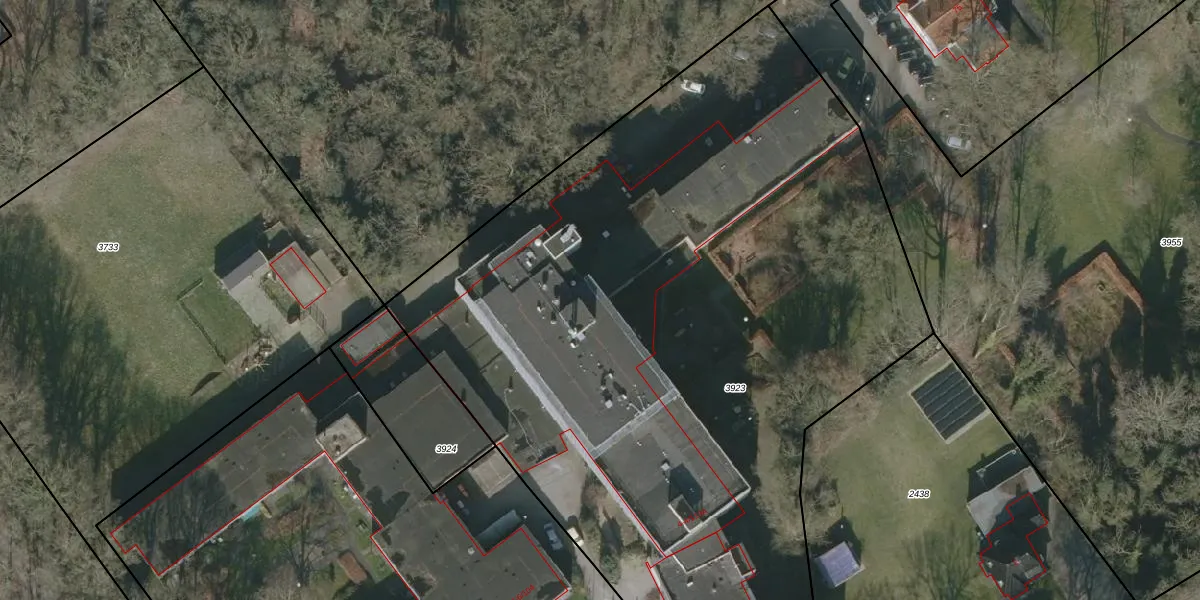
Het perceel waarop het adres ligt is KPE00-C-3923. De afkorting 'KPE00' staat voor kadastrale gemeente Knijpe. De oppervlakte van het perceel is 6687 m². Dat is groter dan gemiddeld in Knijpe, waar de gemiddelde perceeloppervlakte op 2925,56 m² ligt. De grootste perceeloppervlakte in de kadastrale gemeente is 57,8 ha. De kleinste oppervlakte bedraagt 0 m². Er zijn 122 adressen aanwezig op het perceel. In de Basisregistratie Kadaster (BRK) werden de grenzen van het perceel geregistreerd op 15-01-1998.
Er is geen energielabel geregistreerd voor het adres. Het hoogste energielabel in de straat is A+++; het laagste is G. Het gemiddelde energielabel is er D. Het adres Heremaweg 4-121 heeft als status: 'verblijfsobject in gebruik'. Het pand waarin dit adres ligt heeft als status: 'pand in gebruik'.
Heremaweg 4-121 is een adres gelegen in de gemeente Heerenveen, provincie Friesland. Dit adres is geregistreerd in de Basisregistratie Adressen en Gebouwen (BAG) met als unieke identificatie 0074010000409881.
Het pand op Heremaweg 4-121 is gebouwd in 1971, wat betekent dat het 55 jaar oud is. Dit is een ouder pand. Het pand heeft mogelijk aanzienlijke renovaties nodig om aan de huidige standaarden te voldoen.
De woning op Heremaweg 4-121 heeft een gebruiksoppervlakte van 39 m². Dit is relatief klein vergeleken met de gemiddelde Nederlandse woning, die een oppervlakte heeft van ongeveer 119 m². De gebruiksoppervlakte is de maat die wordt gebruikt in de BAG-registratie, de landelijke registratie van de Nederlandse overheid.
Heremaweg 4-121 heeft als functie: wonen. Deze gebruiksfunctie(s) zijn vastgelegd in de BAG-registratie en geven aan waarvoor het adres officieel mag worden gebruikt.
Heremaweg 4-121 is gelegen op kadastraal perceel KPE00C3923. Deze kadastrale aanduiding is uniek en wordt gebruikt door het Kadaster om eigendomsrechten en andere zakelijke rechten vast te leggen. Het perceel maakt onderdeel uit van de kadastrale gemeente Knijpe.
Het perceel waarop Heremaweg 4-121 staat heeft een oppervlakte van 6687 m². Dit is een zeer groot perceel. De perceeloppervlakte wordt geregistreerd door het Kadaster. Gedetailleerde informatie over de maten van dit perceel kunt u vinden in het rapport Kadastrale kaart met maatvoering van Heremaweg 4-121.
De eigenaar van Heremaweg 4-121 is op te vragen op deze pagina.
De informatie over dit adres is afkomstig uit officiële overheidsregistraties, voornamelijk de Basisregistratie Adressen en Gebouwen (BAG) en de Basisregistratie Kadaster (BRK). Deze gegevens worden beheerd door respectievelijk gemeenten en het Kadaster, en worden regelmatig bijgewerkt. Energielabelgegevens komen uit de database van de Rijksdienst voor Ondernemend Nederland (RVO).
