
Grotestraat 29 is een adres in Heesbeen, dat zich bevindt binnen de gemeentegrenzen van Heesbeen en de grenzen van de provincie Noord-Brabant. De oppervlakte van het verblijfsobject is met 516 m² aan de grote kant. Het perceel heeft een oppervlakte van 1655 m². Vergeleken met de andere verblijfsobjecten in de straat is dit object groot. De oppervlakte van het grootste object in de straat is 9051 m², die van het kleinste bedraagt 15 m². Het gebouw waarin Grotestraat 29 ligt komt uit het jaar 1801. Objecten die gebouwd zijn vóór 1965 classificeren we hier als oud. Het nieuwste gebouw in de straat komt uit 2025 en het oudste uit 1600. Dit object is relatief oud. De volgende gebruiksdoelen zijn geregistreerd voor dit adres: 'bijeenkomstfunctie'.
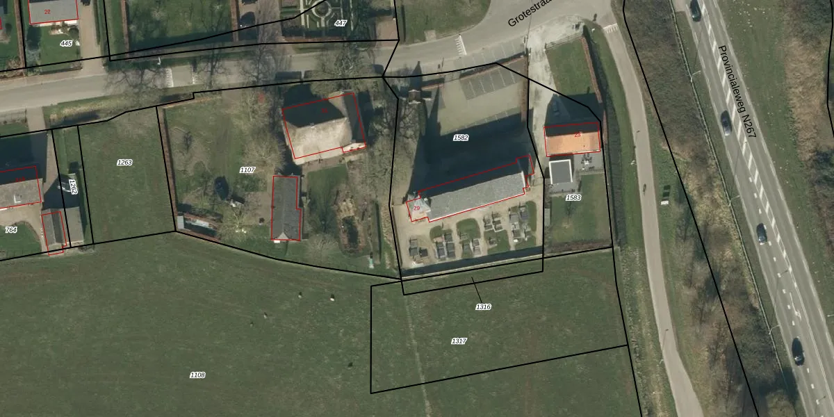
Het adres is gelegen op perceel 1582 in de sectie F en de kadastrale gemeente Heusden. De kadastrale aanduiding is aldus HDN02-F-1582. Het perceel is 1655 m² groot. Dat is kleiner dan de gemiddelde perceeloppervlakte in Heusden, dat op 5622,25 m² ligt. Het kleinste perceel in de kadastrale gemeente is 0 m² groot. De grootste perceeloppervlakte is 40,2 ha. Op het perceel bevinden zich geen andere adressen. De huidige grenzen van het perceel zijn digitaal in de Basisregistratie Kadaster (BRK) geregistreerd op 23-07-2025.
Er is geen energielabel geregistreerd voor het adres. Het hoogste energielabel in de straat is A+; het laagste is G. Het gemiddelde energielabel is er D. Het adres Grotestraat 29 heeft als status: 'verblijfsobject in gebruik'. Het pand waarin dit adres ligt heeft als status: 'pand in gebruik'.
Grotestraat 29 is een adres gelegen in de gemeente Heusden, provincie Noord-Brabant. Dit adres is geregistreerd in de Basisregistratie Adressen en Gebouwen (BAG) met als unieke identificatie 0797010000010530.
Het pand op Grotestraat 29 is gebouwd in 1801, wat betekent dat het 225 jaar oud is. Dit is een ouder pand. Het pand heeft mogelijk aanzienlijke renovaties nodig om aan de huidige standaarden te voldoen.
De woning op Grotestraat 29 heeft een gebruiksoppervlakte van 516 m². Dit is ruim vergeleken met de gemiddelde Nederlandse woning, die een oppervlakte heeft van ongeveer 119 m². De gebruiksoppervlakte is de maat die wordt gebruikt in de BAG-registratie, de landelijke registratie van de Nederlandse overheid.
Grotestraat 29 heeft als functie: bijeenkomsten. Deze gebruiksfunctie(s) zijn vastgelegd in de BAG-registratie en geven aan waarvoor het adres officieel mag worden gebruikt.
Grotestraat 29 is gelegen op kadastraal perceel HDN02F1582. Deze kadastrale aanduiding is uniek en wordt gebruikt door het Kadaster om eigendomsrechten en andere zakelijke rechten vast te leggen. Het perceel maakt onderdeel uit van de kadastrale gemeente Heusden.
Het perceel waarop Grotestraat 29 staat heeft een oppervlakte van 1655 m². Dit is een zeer groot perceel. De perceeloppervlakte wordt geregistreerd door het Kadaster. Gedetailleerde informatie over de maten van dit perceel kunt u vinden in het rapport Kadastrale kaart met maatvoering van Grotestraat 29.
De eigenaar van Grotestraat 29 is op te vragen op deze pagina.
De informatie over dit adres is afkomstig uit officiële overheidsregistraties, voornamelijk de Basisregistratie Adressen en Gebouwen (BAG) en de Basisregistratie Kadaster (BRK). Deze gegevens worden beheerd door respectievelijk gemeenten en het Kadaster, en worden regelmatig bijgewerkt. Energielabelgegevens komen uit de database van de Rijksdienst voor Ondernemend Nederland (RVO).
