Product Functies Prijzen Meer

Adressen

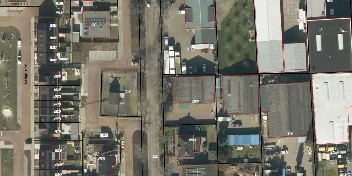
Gebruik de zoekbalk of klik op een perceel voor informatie over de adressen binnen dit perceel.
Locatie
Meten
Lagen
Download

Kruishoekstraat 17

5384TK, Heesch

1519312 Wat moet ik bieden voor deze woning?
365 m²
industriefunctie
860 m² perceeloppervlakte
?

Kruishoekstraat 17 is een adres in Heesch, dat zich bevindt binnen de gemeentegrenzen van Heesch en de grenzen van de provincie Noord-Brabant. Het object heeft een oppervlakte van 365 m², wat relatief groot is. Het perceel waarop het adres ligt is 860 m² groot. In vergelijking met de andere adressen in de straat is de oppervlakte van dit object relatief groot. Het grootste verblijfsobject heeft een oppervlakte van 1358 m², de oppervlakte van het kleinste object bedraagt 75 m². Het adres Kruishoekstraat 17 ligt in een relatief oud pand uit het jaar 1950. Panden van vóór het jaar 1965 hebben we hier geclassificeerd als oud. Het gemiddelde bouwjaar in de straat is 1977 en dat van het nieuwste object 2007. In de straat is dit het oudste pand. Het verblijfsobject heeft de volgende gebruiksdoelen: 'industriefunctie'.

Perceel

Het perceel waarop het adres ligt is HEE02-A-6723. De afkorting 'HEE02' staat voor kadastrale gemeente Heesch. Het perceel is kleiner dan gemiddeld in Heesch. Het perceel is 860 m² groot, terwijl het gemiddelde ligt op 2870,1 m². De grootste perceeloppervlakte in de kadastrale gemeente is 50,1 ha. De kleinste oppervlakte bedraagt 0 m². Dit is het enige adres dat aanwezig is op het perceel. De huidige grenzen van het perceel zijn digitaal in de Basisregistratie Kadaster (BRK) geregistreerd op 08-08-2007.

Energielabel en status

Er is geen energielabel geregistreerd voor het adres. Het hoogste energielabel in de straat is A; het laagste is G. Het gemiddelde energielabel is er B. Het adres Kruishoekstraat 17 heeft als status: 'verblijfsobject in gebruik'. Het pand waarin dit adres ligt heeft als status: 'pand in gebruik'.

Meer lezen

Adres

Gebruiksoppervlakte
365 m²
Bruto vloeroppervlakte
7 DaRgzrKhuMeSejD1GeUpgrade naar KadastraleKaart Pro
Gebruiksdoel(en)
Industriefunctie
Status
Verblijfsobject in gebruik
Type
Onbekend
Gasloos
k Dt4YiCydzn2WKiUpgrade naar KadastraleKaart Pro
Gebeurtenissen
Appartementsrechten
IjpB1FlCrUpgrade naar KadastraleKaart Pro
Eigenaar
Eigendomsinformatie 12,95
Adresinformatie bestellen
Adrespakket 34,95
VBO ID
1721010000010253

Pand

Bouwjaar pand
1950
Aantal adressen in dit gebouw
1 adres
Hoogte pand
y7 SOvd ImzllE58bvCQNUpgrade naar KadastraleKaart Pro
Aantal bouwlagen (schatting)
JlDDLSTEDdzUpgrade naar KadastraleKaart Pro
Volume
SitgXp2QHUpgrade naar KadastraleKaart Pro
Oppervlakte dak
qa98IvBjMrOUpgrade naar KadastraleKaart Pro
Oppervlakte buitenmuur
pUCsfppHlTdsrkhCll wUpgrade naar KadastraleKaart Pro
Status pand
Pand in gebruik
Pand ID
1721100000014861

Perceel

Kadastrale aanduiding
Heesch A 6723 (HEE02 A 6723)
Oppervlakte
860 m²
Maatvoering
Kadastrale kaart met maatvoering 59,95
Omtrek
118 meter
Datum laatst gewijzigd
08/08/2007
Aantal adressen op perceel
1
Hoogte boven N.A.P.
znsTFrT7yUpgrade naar KadastraleKaart Pro

Veelgestelde vragen

Kruishoekstraat 17 is een adres gelegen in de gemeente Bernheze, provincie Noord-Brabant. Dit adres is geregistreerd in de Basisregistratie Adressen en Gebouwen (BAG) met als unieke identificatie 1721010000010253.

Het pand op Kruishoekstraat 17 is gebouwd in 1950, wat betekent dat het 76 jaar oud is. Dit is een ouder pand. Het pand heeft mogelijk aanzienlijke renovaties nodig om aan de huidige standaarden te voldoen.

De woning op Kruishoekstraat 17 heeft een gebruiksoppervlakte van 365 m². Dit is ruim vergeleken met de gemiddelde Nederlandse woning, die een oppervlakte heeft van ongeveer 119 m². De gebruiksoppervlakte is de maat die wordt gebruikt in de BAG-registratie, de landelijke registratie van de Nederlandse overheid.

Kruishoekstraat 17 heeft als functie: industrie. Deze gebruiksfunctie(s) zijn vastgelegd in de BAG-registratie en geven aan waarvoor het adres officieel mag worden gebruikt.

Kruishoekstraat 17 is gelegen op kadastraal perceel HEE02A6723. Deze kadastrale aanduiding is uniek en wordt gebruikt door het Kadaster om eigendomsrechten en andere zakelijke rechten vast te leggen. Het perceel maakt onderdeel uit van de kadastrale gemeente Heesch.

Het perceel waarop Kruishoekstraat 17 staat heeft een oppervlakte van 860 m². Dit is een groot perceel. De perceeloppervlakte wordt geregistreerd door het Kadaster. Gedetailleerde informatie over de maten van dit perceel kunt u vinden in het rapport Kadastrale kaart met maatvoering van Kruishoekstraat 17.

De eigenaar van Kruishoekstraat 17 is op te vragen op deze pagina.

De informatie over dit adres is afkomstig uit officiële overheidsregistraties, voornamelijk de Basisregistratie Adressen en Gebouwen (BAG) en de Basisregistratie Kadaster (BRK). Deze gegevens worden beheerd door respectievelijk gemeenten en het Kadaster, en worden regelmatig bijgewerkt. Energielabelgegevens komen uit de database van de Rijksdienst voor Ondernemend Nederland (RVO).

Maatvoeringsrapport

Wie is de eigenaar?

Bekijk de eigenaar van Kruishoekstraat 17 met de eigendomsinformatie.
Bekijk de eigenaar van dit adres.
Maatvoeringsrapport

Maatvoering van het perceel

Bestel de maatvoering voor Kruishoekstraat 17 met het maatvoeringsrapport.
Bestel de maatvoering voor dit adres.

360°-foto's van de omgeving

Google Street View
Upgrade nu voor 360° Street View foto's

Zon en schaduw rondom adres

Buurt
De Beemd
Inwoners: 1.825
Woningen: 543
Wijk
Kern Heesch
Inwoners: 13.015
Woningen: 5.390
Gemeente
Bernheze
Inwoners: 32.527
Woningen: 12.943