
Vinkelsestraat 95 is gelegen in de plaats Heesch, de gemeente Bernheze en de provincie Noord-Brabant. Het perceel waarop het verblijfsobject staat is 8120 m² groot. De oppervlakte van het adres is 143 m², wat zich rond het Nederlandse gemiddelde van 119 m² bevindt. Het adres is klein vergeleken met andere objecten in de straat. Het grootste object in de straat heeft een oppervlakte van 1686 m², het kleinste is 8 m² groot. Het adres Vinkelsestraat 95 ligt in een relatief oud pand uit het jaar 1959. Panden van vóór het jaar 1965 hebben we hier geclassificeerd als oud. In de straat komt het nieuwste gebouw uit het jaar 2025 en het oudste uit 1893. Het bouwjaar van dit object is relatief oud. Voor het verblijfsobject gelden deze gebruiksdoelen: 'woonfunctie'.
Deze woning is voor het laatst verkocht op 1 juni 2018. Meer informatie over deze transactie? Bestel het Woningtransactierapport om de verkoopprijs en andere informatie te zien.
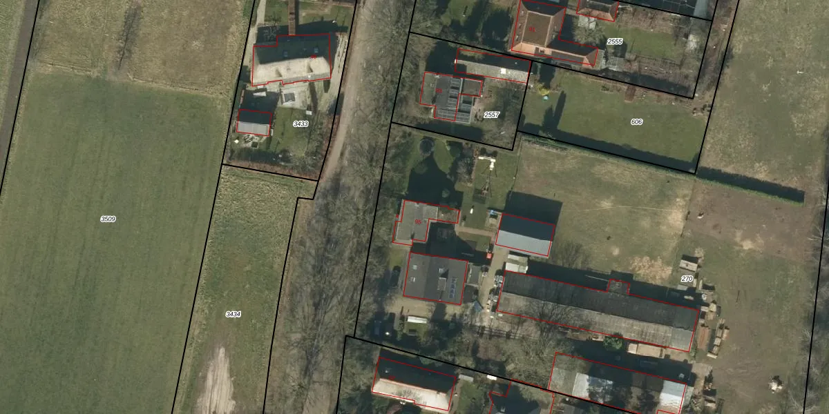
Het adres ligt op het perceel HEE02-G-270, dat zich in de kadastrale gemeente Heesch bevindt. Het perceel is met 8120 m² relatief groot. Het gemiddelde ligt in de kadastrale gemeente Heesch op 2868,53 m². De grootste perceeloppervlakte in de kadastrale gemeente is 50,1 ha. De kleinste oppervlakte bedraagt 0 m². Er zijn geen andere adressen aanwezig op het perceel. De laatste wijziging in het de Basisregistratie Kadaster (BRK) was op 16-02-2009.
Het adres ligt in een gebouw van het type 'vrijstaande woning'. Bij de laatste meting is voor het adres het energielabel C geregistreerd. Het hoogste energielabel in de straat is A++; het laagste is G. Het gemiddelde energielabel is er C. Het adres Vinkelsestraat 95 heeft als status: 'verblijfsobject in gebruik'. Het pand waarin dit adres ligt heeft als status: 'pand in gebruik'.
Vinkelsestraat 95 is een adres gelegen in de gemeente Bernheze, provincie Noord-Brabant. Dit adres is geregistreerd in de Basisregistratie Adressen en Gebouwen (BAG) met als unieke identificatie 1721010000008927.
Het pand op Vinkelsestraat 95 is gebouwd in 1959, wat betekent dat het 67 jaar oud is. Dit is een ouder pand. Het pand heeft mogelijk aanzienlijke renovaties nodig om aan de huidige standaarden te voldoen.
De woning op Vinkelsestraat 95 heeft een gebruiksoppervlakte van 143 m². Dit is gemiddeld vergeleken met de gemiddelde Nederlandse woning, die een oppervlakte heeft van ongeveer 119 m². De gebruiksoppervlakte is de maat die wordt gebruikt in de BAG-registratie, de landelijke registratie van de Nederlandse overheid.
Vinkelsestraat 95 heeft als functie: wonen. Deze gebruiksfunctie(s) zijn vastgelegd in de BAG-registratie en geven aan waarvoor het adres officieel mag worden gebruikt.
Vinkelsestraat 95 is gelegen op kadastraal perceel HEE02G270. Deze kadastrale aanduiding is uniek en wordt gebruikt door het Kadaster om eigendomsrechten en andere zakelijke rechten vast te leggen. Het perceel maakt onderdeel uit van de kadastrale gemeente Heesch.
Het perceel waarop Vinkelsestraat 95 staat heeft een oppervlakte van 8120 m². Dit is een zeer groot perceel. De perceeloppervlakte wordt geregistreerd door het Kadaster. Gedetailleerde informatie over de maten van dit perceel kunt u vinden in het rapport Kadastrale kaart met maatvoering van Vinkelsestraat 95.
De eigenaar van Vinkelsestraat 95 is op te vragen op deze pagina.
De informatie over dit adres is afkomstig uit officiële overheidsregistraties, voornamelijk de Basisregistratie Adressen en Gebouwen (BAG) en de Basisregistratie Kadaster (BRK). Deze gegevens worden beheerd door respectievelijk gemeenten en het Kadaster, en worden regelmatig bijgewerkt. Energielabelgegevens komen uit de database van de Rijksdienst voor Ondernemend Nederland (RVO).
