
Het adres Schanseweg 3-a bevindt zich in de plaats Heeswijk-Dinther, in de gemeente Heeswijk-Dinther en de provincie Noord-Brabant. Het perceel waarop het adres gelegen is heeft een oppervlakte van 9320 m². Het verblijfsobject is met 94 m² relatief klein. In de straat is dit het kleinste object. Het grootste verblijfsobject heeft een oppervlakte van 377 m². De gemiddelde grootte is er 212 m². In Nederland komt het grootste deel van de gebouwen uit de periode 1965-1984. Ook het bouwjaar van Schanseweg 3-a is afkomstig uit die periode: het betreft namelijk een pand uit 1972. Vergeleken met de andere panden in de straat is dit gebouw nieuw. Het vroegste bouwjaar is er 1900 en het laatste is 2020. De volgende gebruiksdoelen zijn geregistreerd voor dit adres: 'woonfunctie'.
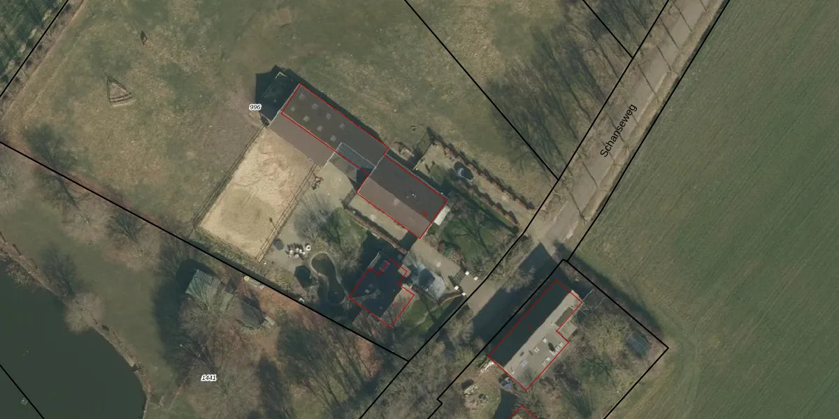
Het perceel waarop het adres ligt is HWK02-F-996. De afkorting 'HWK02' staat voor kadastrale gemeente Heeswijk-Dinther. De oppervlakte van het perceel is 9320 m². Dat is groter dan gemiddeld in Heeswijk-Dinther, waar de gemiddelde perceeloppervlakte op 4904,42 m² ligt. Het grootste perceel in de kadastrale gemeente is 23,1 ha. Het kleinste perceel heeft een oppervlakte van 0 m². Er zijn 2 adressen aanwezig op het perceel. In de Basisregistratie Kadaster (BRK) werden de grenzen van het perceel geregistreerd op 08-10-2007.
Er is geen energielabel geregistreerd voor het adres. Het hoogste energielabel in de straat is B; het laagste is G. Het gemiddelde energielabel is er D. Het adres Schanseweg 3-a heeft als status: 'verblijfsobject in gebruik'. Het pand waarin dit adres ligt heeft als status: 'pand in gebruik'.
Schanseweg 3-a is een adres gelegen in de gemeente Bernheze, provincie Noord-Brabant. Dit adres is geregistreerd in de Basisregistratie Adressen en Gebouwen (BAG) met als unieke identificatie 1721010000015439.
Het pand op Schanseweg 3-a is gebouwd in 1972, wat betekent dat het 54 jaar oud is. Dit is een ouder pand. Het pand heeft mogelijk aanzienlijke renovaties nodig om aan de huidige standaarden te voldoen.
De woning op Schanseweg 3-a heeft een gebruiksoppervlakte van 94 m². Dit is onder het gemiddelde vergeleken met de gemiddelde Nederlandse woning, die een oppervlakte heeft van ongeveer 119 m². De gebruiksoppervlakte is de maat die wordt gebruikt in de BAG-registratie, de landelijke registratie van de Nederlandse overheid.
Schanseweg 3-a heeft als functie: wonen. Deze gebruiksfunctie(s) zijn vastgelegd in de BAG-registratie en geven aan waarvoor het adres officieel mag worden gebruikt.
Schanseweg 3-a is gelegen op kadastraal perceel HWK02F996. Deze kadastrale aanduiding is uniek en wordt gebruikt door het Kadaster om eigendomsrechten en andere zakelijke rechten vast te leggen. Het perceel maakt onderdeel uit van de kadastrale gemeente Heeswijk-Dinther.
Het perceel waarop Schanseweg 3-a staat heeft een oppervlakte van 9320 m². Dit is een zeer groot perceel. De perceeloppervlakte wordt geregistreerd door het Kadaster. Gedetailleerde informatie over de maten van dit perceel kunt u vinden in het rapport Kadastrale kaart met maatvoering van Schanseweg 3-a.
De eigenaar van Schanseweg 3-a is op te vragen op deze pagina.
De informatie over dit adres is afkomstig uit officiële overheidsregistraties, voornamelijk de Basisregistratie Adressen en Gebouwen (BAG) en de Basisregistratie Kadaster (BRK). Deze gegevens worden beheerd door respectievelijk gemeenten en het Kadaster, en worden regelmatig bijgewerkt. Energielabelgegevens komen uit de database van de Rijksdienst voor Ondernemend Nederland (RVO).
