
Stationsstraat 102 is gelegen in de plaats Hegelsom, de gemeente Horst aan de Maas en de provincie Limburg. De oppervlakte van het verblijfsobject is met 282 m² aan de grote kant. Het perceel heeft een oppervlakte van 4980 m². Het object is klein ten opzichte van de andere adressen in de straat. Het grootste verblijfsobject is 6300 m² groot en het kleinste is 7 m². De gemiddelde bouwperiode van gebouwen in Nederland ligt tussen de jaren 1965-1984. Dat geldt ook voor het bouwjaar van Stationsstraat 102: het is gebouwd in het jaar 1970. Dit object is relatief nieuw in de straat. Het nieuwste gebouw komt er uit het jaar 2024 en het oudste uit het jaar 1864. Het verblijfsobject heeft de volgende gebruiksdoelen: 'woonfunctie'.
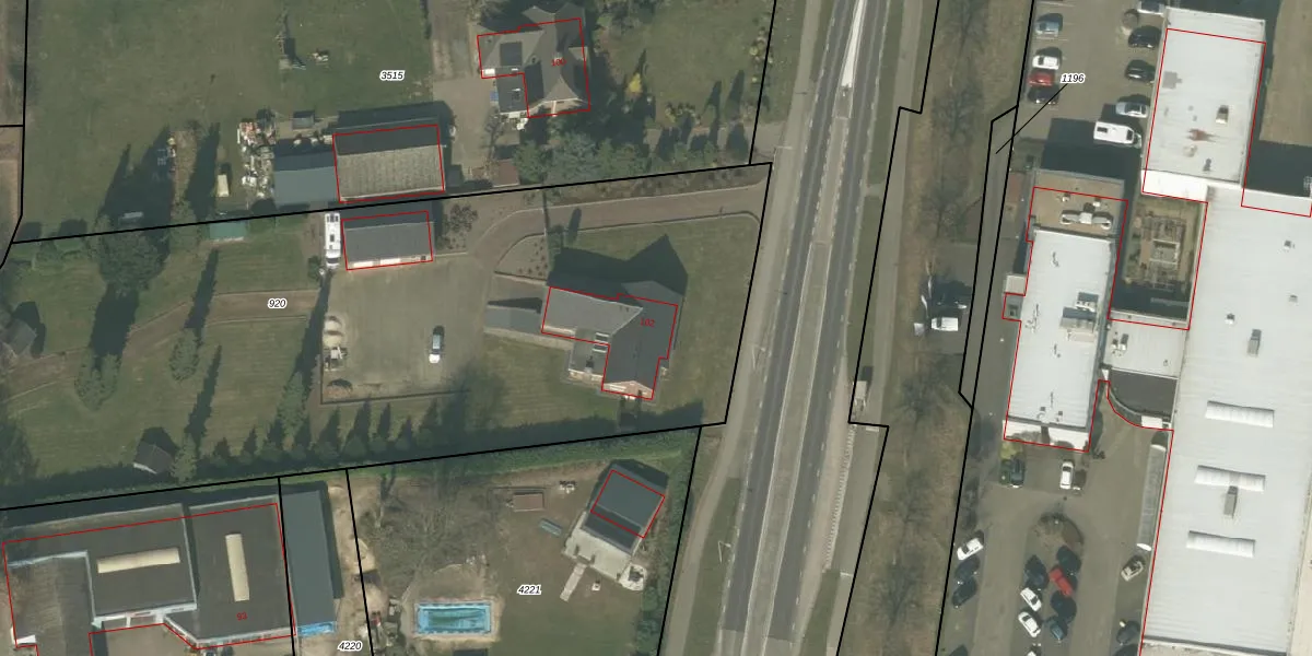
Het perceel waarop het adres ligt is HOR01-M-920. De afkorting 'HOR01' staat voor kadastrale gemeente Horst. Het perceel is kleiner dan gemiddeld in Horst. Het perceel is 4980 m² groot, terwijl het gemiddelde ligt op 5159,38 m². Het kleinste perceel in de kadastrale gemeente is 0 m² groot. De grootste perceeloppervlakte is 1,23 km². Op het perceel bevinden zich geen andere adressen. De laatste wijziging in het de Basisregistratie Kadaster (BRK) was op 03-03-2026.
Het adres ligt in een gebouw van het type 'vrijstaande woning'. Bij de laatste meting is voor het adres het energielabel D geregistreerd. Het hoogste energielabel in de straat is A+; het laagste is G. Het gemiddelde energielabel is er D. Het adres Stationsstraat 102 heeft als status: 'verblijfsobject in gebruik'. Het pand waarin dit adres ligt heeft als status: 'pand in gebruik'.
Stationsstraat 102 is een adres gelegen in de gemeente Horst aan de Maas, provincie Limburg. Dit adres is geregistreerd in de Basisregistratie Adressen en Gebouwen (BAG) met als unieke identificatie 1507010000004661.
Het pand op Stationsstraat 102 is gebouwd in 1970, wat betekent dat het 56 jaar oud is. Dit is een ouder pand. Het pand heeft mogelijk aanzienlijke renovaties nodig om aan de huidige standaarden te voldoen.
De woning op Stationsstraat 102 heeft een gebruiksoppervlakte van 282 m². Dit is ruim vergeleken met de gemiddelde Nederlandse woning, die een oppervlakte heeft van ongeveer 119 m². De gebruiksoppervlakte is de maat die wordt gebruikt in de BAG-registratie, de landelijke registratie van de Nederlandse overheid.
Stationsstraat 102 heeft als functie: wonen. Deze gebruiksfunctie(s) zijn vastgelegd in de BAG-registratie en geven aan waarvoor het adres officieel mag worden gebruikt.
Stationsstraat 102 is gelegen op kadastraal perceel HOR01M920. Deze kadastrale aanduiding is uniek en wordt gebruikt door het Kadaster om eigendomsrechten en andere zakelijke rechten vast te leggen. Het perceel maakt onderdeel uit van de kadastrale gemeente Horst.
Het perceel waarop Stationsstraat 102 staat heeft een oppervlakte van 4980 m². Dit is een zeer groot perceel. De perceeloppervlakte wordt geregistreerd door het Kadaster. Gedetailleerde informatie over de maten van dit perceel kunt u vinden in het rapport Kadastrale kaart met maatvoering van Stationsstraat 102.
De eigenaar van Stationsstraat 102 is op te vragen op deze pagina.
De informatie over dit adres is afkomstig uit officiële overheidsregistraties, voornamelijk de Basisregistratie Adressen en Gebouwen (BAG) en de Basisregistratie Kadaster (BRK). Deze gegevens worden beheerd door respectievelijk gemeenten en het Kadaster, en worden regelmatig bijgewerkt. Energielabelgegevens komen uit de database van de Rijksdienst voor Ondernemend Nederland (RVO).
