
Brinkweg 90 is een adres in Heino, dat zich bevindt binnen de gemeentegrenzen van Heino en de grenzen van de provincie Overijssel. De oppervlakte bedraagt 195 m², waarmee het adres groter dan gemiddeld is. De grootte van het perceel waarop het adres ligt is 3150 m². In vergelijking met de andere adressen in de straat is de oppervlakte van dit object relatief groot. Het grootste verblijfsobject heeft een oppervlakte van 1128 m², de oppervlakte van het kleinste object bedraagt 28 m². In het jaar 1994 is het pand waarin Brinkweg 90 ligt gebouwd. Dat is relatief recent: de meeste gebouwen in Nederland zijn gebouwd in de periode 1965-1984. Veel andere gebouwen in de straat zijn ouder dan dit pand. Het oudste pand komt uit het jaar 1876 en het nieuwste uit 2025. Voor het verblijfsobject gelden deze gebruiksdoelen: 'woonfunctie'.
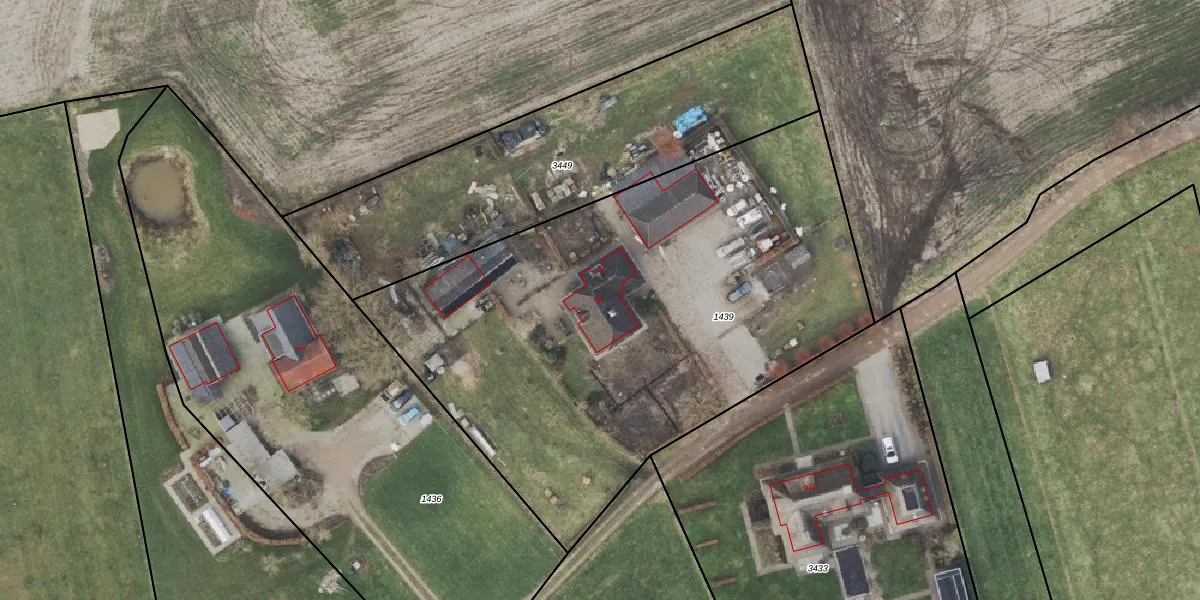
Het perceel waarop het adres ligt is HNO01-D-1439. De afkorting 'HNO01' staat voor kadastrale gemeente Heino. De gemiddelde perceelgrootte in Heino is 6249,03 m². Dit perceel is kleiner: de perceeloppervlakte bedraagt 3150 m². De grootste perceeloppervlakte in de kadastrale gemeente is 51,2 ha. De kleinste oppervlakte bedraagt 0 m². Er zijn geen andere adressen aanwezig op het perceel. De huidige grenzen van het perceel zijn digitaal in de Basisregistratie Kadaster (BRK) geregistreerd op 17-06-2009.
Er is geen energielabel geregistreerd voor het adres. Het hoogste energielabel in de straat is A; het laagste is G. Het gemiddelde energielabel is er D. Het adres Brinkweg 90 heeft als status: 'verblijfsobject in gebruik'. Het pand waarin dit adres ligt heeft als status: 'pand in gebruik'.
Brinkweg 90 is een adres gelegen in de gemeente Raalte, provincie Overijssel. Dit adres is geregistreerd in de Basisregistratie Adressen en Gebouwen (BAG) met als unieke identificatie 0177010000226836.
Het pand op Brinkweg 90 is gebouwd in 1994, wat betekent dat het 32 jaar oud is. Dit is een pand van middelbare leeftijd. Het pand is van gemiddelde leeftijd en zal waarschijnlijk verouderde elementen bevatten.
De woning op Brinkweg 90 heeft een gebruiksoppervlakte van 195 m². Dit is ruim vergeleken met de gemiddelde Nederlandse woning, die een oppervlakte heeft van ongeveer 119 m². De gebruiksoppervlakte is de maat die wordt gebruikt in de BAG-registratie, de landelijke registratie van de Nederlandse overheid.
Brinkweg 90 heeft als functie: wonen. Deze gebruiksfunctie(s) zijn vastgelegd in de BAG-registratie en geven aan waarvoor het adres officieel mag worden gebruikt.
Brinkweg 90 is gelegen op kadastraal perceel HNO01D1439. Deze kadastrale aanduiding is uniek en wordt gebruikt door het Kadaster om eigendomsrechten en andere zakelijke rechten vast te leggen. Het perceel maakt onderdeel uit van de kadastrale gemeente Heino.
Het perceel waarop Brinkweg 90 staat heeft een oppervlakte van 3150 m². Dit is een zeer groot perceel. De perceeloppervlakte wordt geregistreerd door het Kadaster. Gedetailleerde informatie over de maten van dit perceel kunt u vinden in het rapport Kadastrale kaart met maatvoering van Brinkweg 90.
De eigenaar van Brinkweg 90 is op te vragen op deze pagina.
De informatie over dit adres is afkomstig uit officiële overheidsregistraties, voornamelijk de Basisregistratie Adressen en Gebouwen (BAG) en de Basisregistratie Kadaster (BRK). Deze gegevens worden beheerd door respectievelijk gemeenten en het Kadaster, en worden regelmatig bijgewerkt. Energielabelgegevens komen uit de database van de Rijksdienst voor Ondernemend Nederland (RVO).
