
Moleneind 1 is een adres in Hekelingen, dat zich bevindt binnen de gemeentegrenzen van Hekelingen en de grenzen van de provincie Zuid-Holland. Het object heeft een oppervlakte van 1303 m², wat relatief groot is. Het perceel waarop het adres ligt is 2349 m² groot. Dit is het adres met de grootste oppervlakte van alle adressen in de straat. Gemiddeld hebben de objecten in de straat een oppervlakte van 139 m². De kleinste oppervlakte is er 2 m². Moleneind 1 bevindt zich in een pand uit het jaar 1888. Daarmee behoort het tot de groep relatief oude panden in Nederland die gebouwd zijn vóór 1965. Het gemiddelde bouwjaar in de straat is 2004 en dat van het nieuwste object 2025. In de straat is dit het oudste pand. De volgende gebruiksdoelen zijn geregistreerd voor dit adres: 'woonfunctie' en 'sportfunctie'.
Deze woning is voor het laatst verkocht op 1 maart 1995. Meer informatie over deze transactie? Bestel het Woningtransactierapport om de verkoopprijs en andere informatie te zien.
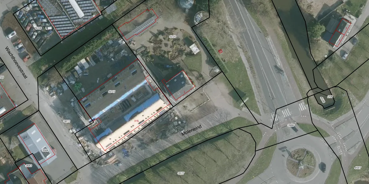
Het adres ligt op het perceel SKN00-N-5016, dat zich in de kadastrale gemeente Spijkenisse bevindt. De oppervlakte van het perceel is 2349 m². Dat is groter dan gemiddeld in Spijkenisse, waar de gemiddelde perceeloppervlakte op 1191,03 m² ligt. Het grootste perceel in de kadastrale gemeente is 1,17 km². Het kleinste perceel heeft een oppervlakte van 0 m². Dit is het enige adres dat aanwezig is op het perceel. De huidige grenzen van het perceel zijn digitaal in de Basisregistratie Kadaster (BRK) geregistreerd op 02-01-2024.
Er is geen energielabel geregistreerd voor het adres. Het hoogste energielabel in de straat is A+++; het laagste is G. Het gemiddelde energielabel is er A++. Het adres Moleneind 1 heeft als status: 'verblijfsobject in gebruik'. Het pand waarin dit adres ligt heeft als status: 'pand in gebruik'.
Moleneind 1 is een adres gelegen in de gemeente Nissewaard, provincie Zuid-Holland. Dit adres is geregistreerd in de Basisregistratie Adressen en Gebouwen (BAG) met als unieke identificatie 0612010000000067.
Het pand op Moleneind 1 is gebouwd in 1888, wat betekent dat het 138 jaar oud is. Dit is een ouder pand. Het pand heeft mogelijk aanzienlijke renovaties nodig om aan de huidige standaarden te voldoen.
De woning op Moleneind 1 heeft een gebruiksoppervlakte van 1303 m². Dit is ruim vergeleken met de gemiddelde Nederlandse woning, die een oppervlakte heeft van ongeveer 119 m². De gebruiksoppervlakte is de maat die wordt gebruikt in de BAG-registratie, de landelijke registratie van de Nederlandse overheid.
Moleneind 1 heeft als functie: wonen en sport. Deze gebruiksfunctie(s) zijn vastgelegd in de BAG-registratie en geven aan waarvoor het adres officieel mag worden gebruikt.
Moleneind 1 is gelegen op kadastraal perceel SKN00N5016. Deze kadastrale aanduiding is uniek en wordt gebruikt door het Kadaster om eigendomsrechten en andere zakelijke rechten vast te leggen. Het perceel maakt onderdeel uit van de kadastrale gemeente Spijkenisse.
Het perceel waarop Moleneind 1 staat heeft een oppervlakte van 2349 m². Dit is een zeer groot perceel. De perceeloppervlakte wordt geregistreerd door het Kadaster. Gedetailleerde informatie over de maten van dit perceel kunt u vinden in het rapport Kadastrale kaart met maatvoering van Moleneind 1.
De eigenaar van Moleneind 1 is op te vragen op deze pagina.
De informatie over dit adres is afkomstig uit officiële overheidsregistraties, voornamelijk de Basisregistratie Adressen en Gebouwen (BAG) en de Basisregistratie Kadaster (BRK). Deze gegevens worden beheerd door respectievelijk gemeenten en het Kadaster, en worden regelmatig bijgewerkt. Energielabelgegevens komen uit de database van de Rijksdienst voor Ondernemend Nederland (RVO).
