
Het adres Aarle-Rixtelseweg 75 bevindt zich in de plaats Helmond, in de gemeente Helmond en de provincie Noord-Brabant. Het object heeft een oppervlakte van 363 m², wat relatief groot is. Het perceel waarop het adres ligt is 3685 m² groot. Vergeleken met de andere verblijfsobjecten in de straat is dit object groot. De oppervlakte van het grootste object in de straat is 896 m², die van het kleinste bedraagt 4 m². Het adres Aarle-Rixtelseweg 75 ligt in een relatief oud pand uit het jaar 1953. Panden van vóór het jaar 1965 hebben we hier geclassificeerd als oud. Het bouwjaar is oud vergeleken met dat van de andere panden in de straat. Het oudste bouwjaar is er 1870 en de nieuwste is 2023. Voor het verblijfsobject gelden deze gebruiksdoelen: 'woonfunctie'.
Deze woning is voor het laatst verkocht op 1 december 2019. Meer informatie over deze transactie? Bestel het Woningtransactierapport om de verkoopprijs en andere informatie te zien.
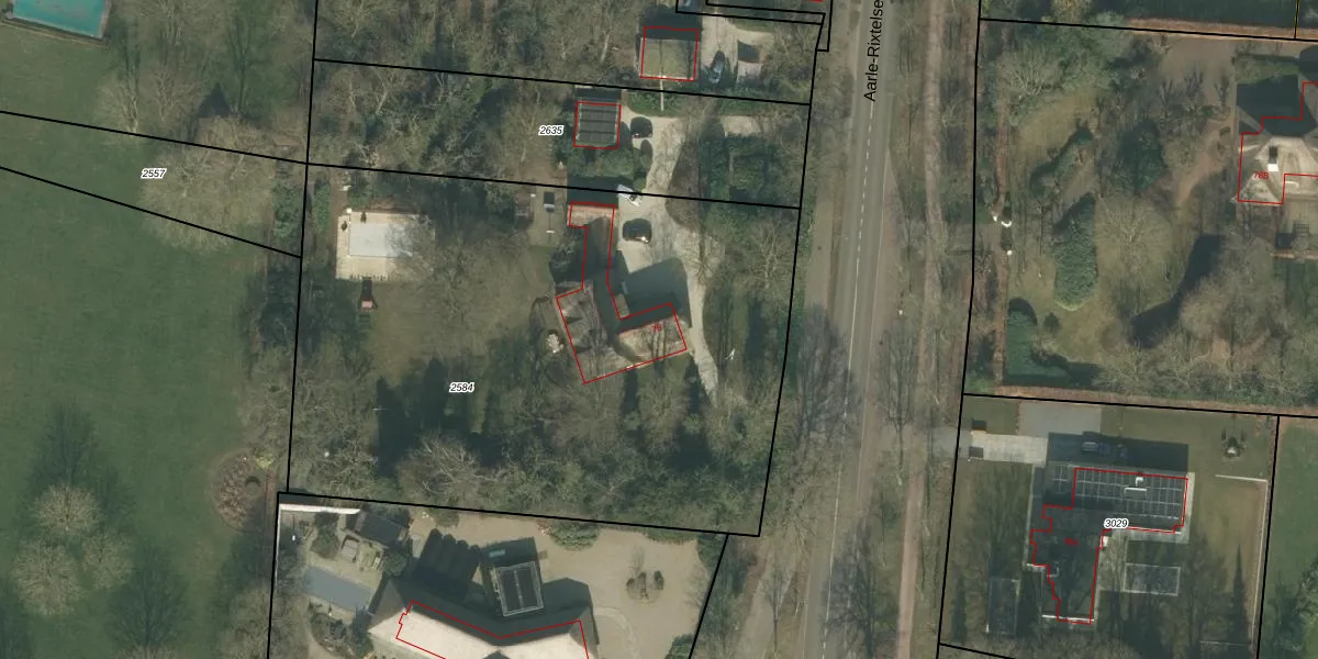
Het adres is gelegen op perceel 2584 in de sectie L en de kadastrale gemeente Helmond. De kadastrale aanduiding is aldus HMD00-L-2584. Het perceel is met 3685 m² relatief groot. Het gemiddelde ligt in de kadastrale gemeente Helmond op 1470,79 m². De grootste perceeloppervlakte in de kadastrale gemeente is 1,14 km². De kleinste oppervlakte bedraagt 0 m². Dit is het enige adres dat aanwezig is op het perceel. In de Basisregistratie Kadaster (BRK) werden de grenzen van het perceel geregistreerd op 03-07-2009.
Het adres ligt in een gebouw van het type 'vrijstaande woning'. Bij de laatste meting is voor het adres het energielabel C geregistreerd. Het hoogste energielabel in de straat is A++++; het laagste is G. Het gemiddelde energielabel is er D. Het adres Aarle-Rixtelseweg 75 heeft als status: 'verblijfsobject in gebruik'. Het pand waarin dit adres ligt heeft als status: 'pand in gebruik'.
Aarle-Rixtelseweg 75 is een adres gelegen in de gemeente Helmond, provincie Noord-Brabant. Dit adres is geregistreerd in de Basisregistratie Adressen en Gebouwen (BAG) met als unieke identificatie 0794010000103968.
Het pand op Aarle-Rixtelseweg 75 is gebouwd in 1953, wat betekent dat het 73 jaar oud is. Dit is een ouder pand. Het pand heeft mogelijk aanzienlijke renovaties nodig om aan de huidige standaarden te voldoen.
De woning op Aarle-Rixtelseweg 75 heeft een gebruiksoppervlakte van 363 m². Dit is ruim vergeleken met de gemiddelde Nederlandse woning, die een oppervlakte heeft van ongeveer 119 m². De gebruiksoppervlakte is de maat die wordt gebruikt in de BAG-registratie, de landelijke registratie van de Nederlandse overheid.
Aarle-Rixtelseweg 75 heeft als functie: wonen. Deze gebruiksfunctie(s) zijn vastgelegd in de BAG-registratie en geven aan waarvoor het adres officieel mag worden gebruikt.
Aarle-Rixtelseweg 75 is gelegen op kadastraal perceel HMD00L2584. Deze kadastrale aanduiding is uniek en wordt gebruikt door het Kadaster om eigendomsrechten en andere zakelijke rechten vast te leggen. Het perceel maakt onderdeel uit van de kadastrale gemeente Helmond.
Het perceel waarop Aarle-Rixtelseweg 75 staat heeft een oppervlakte van 3685 m². Dit is een zeer groot perceel. De perceeloppervlakte wordt geregistreerd door het Kadaster. Gedetailleerde informatie over de maten van dit perceel kunt u vinden in het rapport Kadastrale kaart met maatvoering van Aarle-Rixtelseweg 75.
De eigenaar van Aarle-Rixtelseweg 75 is op te vragen op deze pagina.
De informatie over dit adres is afkomstig uit officiële overheidsregistraties, voornamelijk de Basisregistratie Adressen en Gebouwen (BAG) en de Basisregistratie Kadaster (BRK). Deze gegevens worden beheerd door respectievelijk gemeenten en het Kadaster, en worden regelmatig bijgewerkt. Energielabelgegevens komen uit de database van de Rijksdienst voor Ondernemend Nederland (RVO).
