
Jupiterlaan 23 is een adres in Helmond, dat zich bevindt binnen de gemeentegrenzen van Helmond en de grenzen van de provincie Noord-Brabant. Het perceel waarop het adres gelegen is heeft een oppervlakte van 674 m². Het verblijfsobject is met 86 m² relatief klein. Het object is klein ten opzichte van de andere adressen in de straat. Het grootste verblijfsobject is 123 m² groot en het kleinste is 22 m². De gemiddelde bouwperiode van gebouwen in Nederland ligt tussen de jaren 1965-1984. Dat geldt ook voor het bouwjaar van Jupiterlaan 23: het is gebouwd in het jaar 1972. Het gemiddelde bouwjaar in de straat is 1972 en dat van het oudste pand is 1972. Dit is het nieuwste object in de straat. De volgende gebruiksdoelen zijn geregistreerd voor dit adres: 'woonfunctie'.
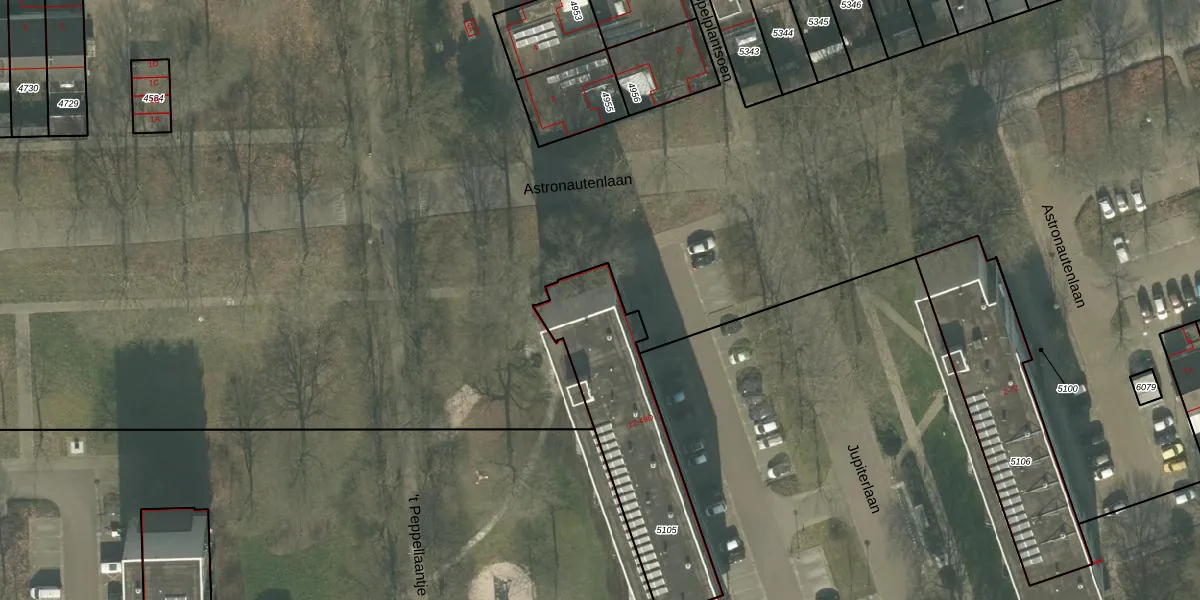
Het perceel waarop het adres ligt is HMD00-B-5105. De afkorting 'HMD00' staat voor kadastrale gemeente Helmond. Het perceel is 674 m² groot. Dat is kleiner dan de gemiddelde perceeloppervlakte in Helmond, dat op 1470,88 m² ligt. Het kleinste perceel in de kadastrale gemeente is 0 m² groot. De grootste perceeloppervlakte is 1,14 km². Er zijn 40 adressen aanwezig op het perceel. De huidige grenzen van het perceel zijn digitaal in de Basisregistratie Kadaster (BRK) geregistreerd op 06-04-2010.
Het adres ligt in een gebouw van het type 'appartement met het subtype hoekmidden'. Bij de laatste meting is voor het adres het energielabel A geregistreerd. Het hoogste energielabel in de straat is A+; het laagste is G. Het gemiddelde energielabel is er A. Het adres Jupiterlaan 23 heeft als status: 'verblijfsobject in gebruik'. Het pand waarin dit adres ligt heeft als status: 'pand in gebruik'.
Jupiterlaan 23 is een adres gelegen in de gemeente Helmond, provincie Noord-Brabant. Dit adres is geregistreerd in de Basisregistratie Adressen en Gebouwen (BAG) met als unieke identificatie 0794010000116945.
Het pand op Jupiterlaan 23 is gebouwd in 1972, wat betekent dat het 54 jaar oud is. Dit is een ouder pand. Het pand heeft mogelijk aanzienlijke renovaties nodig om aan de huidige standaarden te voldoen.
De woning op Jupiterlaan 23 heeft een gebruiksoppervlakte van 86 m². Dit is onder het gemiddelde vergeleken met de gemiddelde Nederlandse woning, die een oppervlakte heeft van ongeveer 119 m². De gebruiksoppervlakte is de maat die wordt gebruikt in de BAG-registratie, de landelijke registratie van de Nederlandse overheid.
Jupiterlaan 23 heeft als functie: wonen. Deze gebruiksfunctie(s) zijn vastgelegd in de BAG-registratie en geven aan waarvoor het adres officieel mag worden gebruikt.
Jupiterlaan 23 is gelegen op kadastraal perceel HMD00B5105. Deze kadastrale aanduiding is uniek en wordt gebruikt door het Kadaster om eigendomsrechten en andere zakelijke rechten vast te leggen. Het perceel maakt onderdeel uit van de kadastrale gemeente Helmond.
Het perceel waarop Jupiterlaan 23 staat heeft een oppervlakte van 674 m². Dit is een groot perceel. De perceeloppervlakte wordt geregistreerd door het Kadaster. Gedetailleerde informatie over de maten van dit perceel kunt u vinden in het rapport Kadastrale kaart met maatvoering van Jupiterlaan 23.
De eigenaar van Jupiterlaan 23 is op te vragen op deze pagina.
De informatie over dit adres is afkomstig uit officiële overheidsregistraties, voornamelijk de Basisregistratie Adressen en Gebouwen (BAG) en de Basisregistratie Kadaster (BRK). Deze gegevens worden beheerd door respectievelijk gemeenten en het Kadaster, en worden regelmatig bijgewerkt. Energielabelgegevens komen uit de database van de Rijksdienst voor Ondernemend Nederland (RVO).
