
Leliestraat 15-B is een adres in Helmond, dat zich bevindt binnen de gemeentegrenzen van Helmond en de grenzen van de provincie Noord-Brabant. De oppervlakte bedraagt 209 m², waarmee het adres groter dan gemiddeld is. De grootte van het perceel waarop het adres ligt is 892 m². Vergeleken met de andere verblijfsobjecten in de straat is dit object groot. De oppervlakte van het grootste object in de straat is 438 m², die van het kleinste bedraagt 18 m². In het jaar 2010 is het pand waarin Leliestraat 15-B ligt gebouwd. Dat is relatief recent: de meeste gebouwen in Nederland zijn gebouwd in de periode 1965-1984. In de straat is dit het nieuwste pand en stamt het oudste object uit het jaar 1900. Het gemiddelde bouwjaar in de straat is 1967. Voor het verblijfsobject gelden deze gebruiksdoelen: 'gezondheidszorgfunctie'.
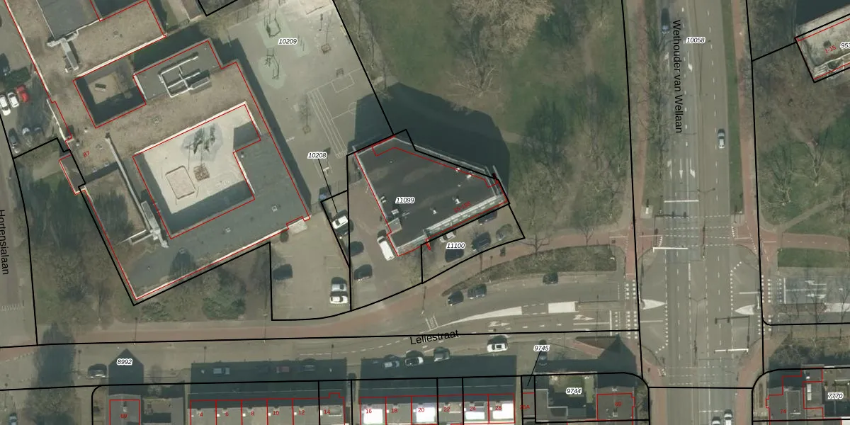
Het adres is gelegen op perceel 11099 in de sectie C en de kadastrale gemeente Helmond. De kadastrale aanduiding is aldus HMD00-C-11099. De gemiddelde perceelgrootte in Helmond is 1470,79 m². Dit perceel is kleiner: de perceeloppervlakte bedraagt 892 m². De grootste perceeloppervlakte in de kadastrale gemeente is 1,14 km². De kleinste oppervlakte bedraagt 0 m². Op het perceel zijn 6 adressen aanwezig. De huidige grenzen van het perceel zijn digitaal in de Basisregistratie Kadaster (BRK) geregistreerd op 07-10-2010.
Er is geen energielabel geregistreerd voor het adres. Het hoogste energielabel in de straat is A+; het laagste is G. Het gemiddelde energielabel is er B. Het adres Leliestraat 15-B heeft als status: 'verblijfsobject in gebruik'. Het pand waarin dit adres ligt heeft als status: 'pand in gebruik'.
Leliestraat 15-B is een adres gelegen in de gemeente Helmond, provincie Noord-Brabant. Dit adres is geregistreerd in de Basisregistratie Adressen en Gebouwen (BAG) met als unieke identificatie 0794010000133622.
Het pand op Leliestraat 15-B is gebouwd in 2010, wat betekent dat het 16 jaar oud is. Dit is een relatief modern pand. Ten opzichte van de nationale woningvoorraad is het pand relatief modern, maar er kunnen enkele verouderde elementen zijn die aandacht nodig hebben.
De woning op Leliestraat 15-B heeft een gebruiksoppervlakte van 209 m². Dit is ruim vergeleken met de gemiddelde Nederlandse woning, die een oppervlakte heeft van ongeveer 119 m². De gebruiksoppervlakte is de maat die wordt gebruikt in de BAG-registratie, de landelijke registratie van de Nederlandse overheid.
Leliestraat 15-B heeft als functie: gezondheidszorg. Deze gebruiksfunctie(s) zijn vastgelegd in de BAG-registratie en geven aan waarvoor het adres officieel mag worden gebruikt.
Leliestraat 15-B is gelegen op kadastraal perceel HMD00C11099. Deze kadastrale aanduiding is uniek en wordt gebruikt door het Kadaster om eigendomsrechten en andere zakelijke rechten vast te leggen. Het perceel maakt onderdeel uit van de kadastrale gemeente Helmond.
Het perceel waarop Leliestraat 15-B staat heeft een oppervlakte van 892 m². Dit is een groot perceel. De perceeloppervlakte wordt geregistreerd door het Kadaster. Gedetailleerde informatie over de maten van dit perceel kunt u vinden in het rapport Kadastrale kaart met maatvoering van Leliestraat 15-B.
De eigenaar van Leliestraat 15-B is op te vragen op deze pagina.
De informatie over dit adres is afkomstig uit officiële overheidsregistraties, voornamelijk de Basisregistratie Adressen en Gebouwen (BAG) en de Basisregistratie Kadaster (BRK). Deze gegevens worden beheerd door respectievelijk gemeenten en het Kadaster, en worden regelmatig bijgewerkt. Energielabelgegevens komen uit de database van de Rijksdienst voor Ondernemend Nederland (RVO).
