
Achterweg 33 is een adres in Herwijnen, dat zich bevindt binnen de gemeentegrenzen van Herwijnen en de grenzen van de provincie Gelderland. De oppervlakte bedraagt 411 m², waarmee het adres groter dan gemiddeld is. De grootte van het perceel waarop het adres ligt is 1674 m². De oppervlakte van dit adres is groot vergeleken met de oppervlaktes van andere adressen in de straat. De kleinste oppervlakte bedraagt er 12 m², de grootste 1696 m². Het adres Achterweg 33 ligt in een relatief oud pand uit het jaar 1955. Panden van vóór het jaar 1965 hebben we hier geclassificeerd als oud. In de straat komt het nieuwste gebouw uit het jaar 2025 en het oudste uit 1799. Het bouwjaar van dit object is relatief oud. Het verblijfsobject heeft de volgende gebruiksdoelen: 'woonfunctie'.
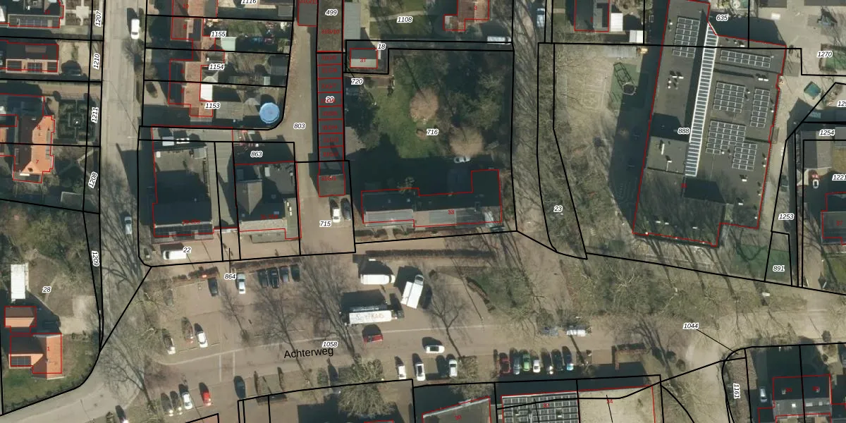
Het adres ligt op het perceel HWN02-T-716, dat zich in de kadastrale gemeente Herwijnen bevindt. Het perceel is kleiner dan gemiddeld in Herwijnen. Het perceel is 1674 m² groot, terwijl het gemiddelde ligt op 9062,37 m². De grootste perceeloppervlakte in de kadastrale gemeente is 26,2 ha. De kleinste oppervlakte bedraagt 1 m². Er zijn geen andere adressen aanwezig op het perceel. De huidige grenzen van het perceel zijn digitaal in de Basisregistratie Kadaster (BRK) geregistreerd op 22-06-2006.
Het adres ligt in een gebouw van het type 'vrijstaande woning'. Bij de laatste meting is voor het adres het energielabel A geregistreerd. Het hoogste energielabel in de straat is A++++; het laagste is G. Het gemiddelde energielabel is er C. Het adres Achterweg 33 heeft als status: 'verblijfsobject in gebruik'. Het pand waarin dit adres ligt heeft als status: 'pand in gebruik'.
Achterweg 33 is een adres gelegen in de gemeente West Betuwe, provincie Gelderland. Dit adres is geregistreerd in de Basisregistratie Adressen en Gebouwen (BAG) met als unieke identificatie 0733010000003461.
Het pand op Achterweg 33 is gebouwd in 1955, wat betekent dat het 71 jaar oud is. Dit is een ouder pand. Het pand heeft mogelijk aanzienlijke renovaties nodig om aan de huidige standaarden te voldoen.
De woning op Achterweg 33 heeft een gebruiksoppervlakte van 411 m². Dit is ruim vergeleken met de gemiddelde Nederlandse woning, die een oppervlakte heeft van ongeveer 119 m². De gebruiksoppervlakte is de maat die wordt gebruikt in de BAG-registratie, de landelijke registratie van de Nederlandse overheid.
Achterweg 33 heeft als functie: wonen. Deze gebruiksfunctie(s) zijn vastgelegd in de BAG-registratie en geven aan waarvoor het adres officieel mag worden gebruikt.
Achterweg 33 is gelegen op kadastraal perceel HWN02T716. Deze kadastrale aanduiding is uniek en wordt gebruikt door het Kadaster om eigendomsrechten en andere zakelijke rechten vast te leggen. Het perceel maakt onderdeel uit van de kadastrale gemeente Herwijnen.
Het perceel waarop Achterweg 33 staat heeft een oppervlakte van 1674 m². Dit is een zeer groot perceel. De perceeloppervlakte wordt geregistreerd door het Kadaster. Gedetailleerde informatie over de maten van dit perceel kunt u vinden in het rapport Kadastrale kaart met maatvoering van Achterweg 33.
De eigenaar van Achterweg 33 is op te vragen op deze pagina.
De informatie over dit adres is afkomstig uit officiële overheidsregistraties, voornamelijk de Basisregistratie Adressen en Gebouwen (BAG) en de Basisregistratie Kadaster (BRK). Deze gegevens worden beheerd door respectievelijk gemeenten en het Kadaster, en worden regelmatig bijgewerkt. Energielabelgegevens komen uit de database van de Rijksdienst voor Ondernemend Nederland (RVO).
