Adressen

Gebruik de zoekbalk of klik op een perceel voor informatie over de adressen binnen dit perceel.
Locatie
Meten
Lagen
Download

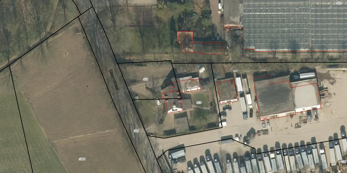
Steenstraat 3-A

5059AH, Heukelom

1519312 Wat moet ik bieden voor deze woning?
188 m²
woonfunctie
620 m² perceeloppervlakte
?

Het adres Steenstraat 3-A bevindt zich in de plaats Heukelom, in de gemeente Heukelom en de provincie Noord-Brabant. Het object heeft een oppervlakte van 188 m², wat relatief groot is. Het perceel waarop het adres ligt is 620 m² groot. De oppervlakte van dit adres is groot vergeleken met de oppervlaktes van andere adressen in de straat. De kleinste oppervlakte bedraagt er 76 m², de grootste 253 m². In Nederland komt het grootste deel van de gebouwen uit de periode 1965-1984. Ook het bouwjaar van Steenstraat 3-A is afkomstig uit die periode: het betreft namelijk een pand uit 1982. Vergeleken met de andere panden in de straat is dit gebouw nieuw. Het vroegste bouwjaar is er 1954 en het laatste is 1992. De volgende gebruiksdoelen zijn geregistreerd voor dit adres: 'woonfunctie'.

Perceel

Het adres ligt op het perceel OTW01-H-514, dat zich in de kadastrale gemeente Oisterwijk bevindt. Het perceel is 620 m² groot. Dat is kleiner dan de gemiddelde perceeloppervlakte in Oisterwijk, dat op 4567,93 m² ligt. Het grootste perceel in de kadastrale gemeente is 88,3 ha. Het kleinste perceel heeft een oppervlakte van 0 m². Dit is het enige adres dat aanwezig is op het perceel. In de Basisregistratie Kadaster (BRK) werden de grenzen van het perceel geregistreerd op 22-06-2006.

Energielabel en status

Er is geen energielabel geregistreerd voor het adres. Het hoogste energielabel in de straat is G; het laagste is G. Het gemiddelde energielabel is er G. Het adres Steenstraat 3-A heeft als status: 'verblijfsobject in gebruik'. Het pand waarin dit adres ligt heeft als status: 'pand in gebruik'.

Meer lezen

Adres

Gebruiksoppervlakte
188 m²
Bruto vloeroppervlakte
KuqEGmEaj637Qm 94Upgrade naar KadastraleKaart Pro
Gebruiksdoel(en)
Woonfunctie
Status
Verblijfsobject in gebruik
Type
Onbekend
Gasloos
A556WZoR0IRxtVcBX C6Upgrade naar KadastraleKaart Pro
Gebeurtenissen
Appartementsrechten
45lCe af6Hg Hv8V CSUpgrade naar KadastraleKaart Pro
Eigenaar
Eigendomsinformatie 12,95
Adresinformatie bestellen
Adrespakket 34,95
VBO ID
0824010000000379

Pand

Bouwjaar pand
1982
Aantal adressen in dit gebouw
1 adres
Hoogte pand
qpagWLwHz5WR VUpgrade naar KadastraleKaart Pro
Aantal bouwlagen (schatting)
uAdPLpo8B7epMDLKktUpgrade naar KadastraleKaart Pro
Volume
DD aR HJUpgrade naar KadastraleKaart Pro
Oppervlakte dak
Fa r2jGs2XSfFnlJtAGy Upgrade naar KadastraleKaart Pro
Oppervlakte buitenmuur
aJRFFMKlPB3F7O1 rs0CsQRUpgrade naar KadastraleKaart Pro
Status pand
Pand in gebruik
Pand ID
0824100000019998

Perceel Toon alle percelen   Pro

Kadastrale aanduiding
Oisterwijk H 514 (OTW01 H 514)
Oppervlakte
620 m²
Maatvoering
Kadastrale kaart met maatvoering 59,95
Omtrek
105 meter
Datum laatst gewijzigd
22/06/2006
Aantal adressen op perceel
1
Hoogte boven N.A.P.
xKp85 8WfNeTxVC1cSKUpgrade naar KadastraleKaart Pro

Veelgestelde vragen

Steenstraat 3-A is een adres gelegen in de gemeente Oisterwijk, provincie Noord-Brabant. Dit adres is geregistreerd in de Basisregistratie Adressen en Gebouwen (BAG) met als unieke identificatie 0824010000000379.

Het pand op Steenstraat 3-A is gebouwd in 1982, wat betekent dat het 44 jaar oud is. Dit is een pand van middelbare leeftijd. Het pand is van gemiddelde leeftijd en zal waarschijnlijk verouderde elementen bevatten.

De woning op Steenstraat 3-A heeft een gebruiksoppervlakte van 188 m². Dit is ruim vergeleken met de gemiddelde Nederlandse woning, die een oppervlakte heeft van ongeveer 119 m². De gebruiksoppervlakte is de maat die wordt gebruikt in de BAG-registratie, de landelijke registratie van de Nederlandse overheid.

Steenstraat 3-A heeft als functie: wonen. Deze gebruiksfunctie(s) zijn vastgelegd in de BAG-registratie en geven aan waarvoor het adres officieel mag worden gebruikt.

Steenstraat 3-A is gelegen op kadastraal perceel OTW01H514. Deze kadastrale aanduiding is uniek en wordt gebruikt door het Kadaster om eigendomsrechten en andere zakelijke rechten vast te leggen. Het perceel maakt onderdeel uit van de kadastrale gemeente Oisterwijk.

Het perceel waarop Steenstraat 3-A staat heeft een oppervlakte van 620 m². Dit is een groot perceel. De perceeloppervlakte wordt geregistreerd door het Kadaster. Gedetailleerde informatie over de maten van dit perceel kunt u vinden in het rapport Kadastrale kaart met maatvoering van Steenstraat 3-A.

De eigenaar van Steenstraat 3-A is op te vragen op deze pagina

De informatie over dit adres is afkomstig uit officiële overheidsregistraties, voornamelijk de Basisregistratie Adressen en Gebouwen (BAG) en de Basisregistratie Kadaster (BRK). Deze gegevens worden beheerd door respectievelijk gemeenten en het Kadaster, en worden regelmatig bijgewerkt. Energielabelgegevens komen uit de database van de Rijksdienst voor Ondernemend Nederland (RVO).

Maatvoeringsrapport

Biedadvies

Loop uw droomhuis niet mis met ons biedadvies.
Loop uw droomhuis niet mis met ons biedadvies.
Maatvoeringsrapport

Bestel het adrespakket

Kom alles te weten over Steenstraat 3-A met het adrespakket.
Kom alles te weten over Steenstraat 3-A met het adrespakket.

360°-foto's van de omgeving

Google Street View
Upgrade nu voor 360° Street View foto's

Zon en schaduw rondom adres

Buurt
Heukelom
Inwoners: 360
Woningen: 104
Wijk
Heukelom
Inwoners: 355
Woningen: 104
Gemeente
Oisterwijk
Inwoners: 32.952
Woningen: 14.230