Product Functies Prijzen Meer

Adressen

Gebruik de zoekbalk of klik op een perceel voor informatie over de adressen binnen dit perceel.
Locatie
Meten
Lagen
Download

Antoniusstraat 53-a

5725AR, Heusden

1519312 Wat moet ik bieden voor deze woning?
192 m²
woonfunctie
1.755 m² perceeloppervlakte
?

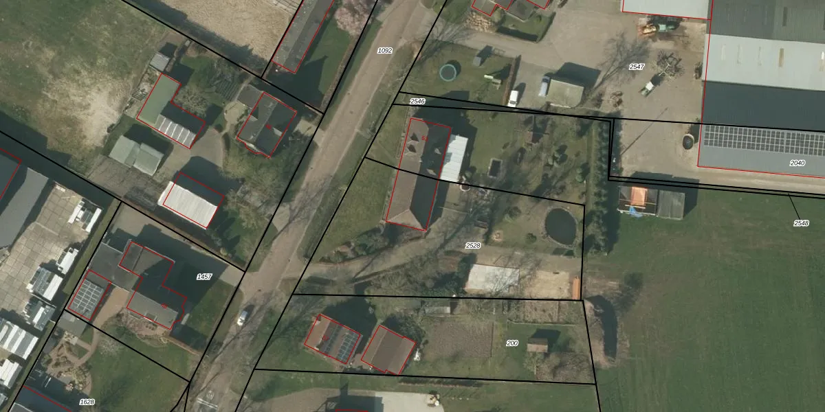
Antoniusstraat 53-a is gelegen in de plaats Heusden, de gemeente Asten en de provincie Noord-Brabant. De oppervlakte van het verblijfsobject is met 192 m² aan de grote kant. Het perceel heeft een oppervlakte van 1755 m². Vergeleken met de andere verblijfsobjecten in de straat is dit object groot. De oppervlakte van het grootste object in de straat is 463 m², die van het kleinste bedraagt 33 m². Het gebouw waarin Antoniusstraat 53-a ligt komt uit het jaar 1860. Objecten die gebouwd zijn vóór 1965 classificeren we hier als oud. Het nieuwste gebouw in de straat komt uit 2025 en het oudste uit 1850. Dit object is relatief oud. Het verblijfsobject heeft de volgende gebruiksdoelen: 'woonfunctie'.

Verkoopdata beschikbaar

Deze woning is voor het laatst verkocht op 1 augustus 2025. Meer informatie over deze transactie? Bestel het Woningtransactierapport om de verkoopprijs en andere informatie te zien.

Perceel

Het adres is gelegen op perceel 2528 in de sectie P en de kadastrale gemeente Asten. De kadastrale aanduiding is aldus ATN01-P-2528. Het perceel is kleiner dan gemiddeld in Asten. Het perceel is 1755 m² groot, terwijl het gemiddelde ligt op 6626,96 m². Het kleinste perceel in de kadastrale gemeente is 0 m² groot. De grootste perceeloppervlakte is 3,95 km². Op het perceel bevinden zich geen andere adressen. De laatste wijziging in het de Basisregistratie Kadaster (BRK) was op 27-11-2024.

Energielabel en status

Er is geen energielabel geregistreerd voor het adres. Het hoogste energielabel in de straat is A+; het laagste is G. Het gemiddelde energielabel is er C. Het adres Antoniusstraat 53-a heeft als status: 'verbouwing verblijfsobject'. Het pand waarin dit adres ligt heeft als status: 'verbouwing pand'.

Meer lezen

Adres

Gebruiksoppervlakte
192 m²
Bruto vloeroppervlakte
9NqVcr3XtRlulXJH5d0IUpgrade naar KadastraleKaart Pro
Gebruiksdoel(en)
Woonfunctie
Status
Verbouwing verblijfsobject
Type
Onbekend
Gasloos
yFBTwdj 48 7H5 1NNMdpy3Upgrade naar KadastraleKaart Pro
Gebeurtenissen
Appartementsrechten
PfAD3wg1S rnzylpUpgrade naar KadastraleKaart Pro
Eigenaar
Eigendomsinformatie 12,95
Adresinformatie bestellen
Adrespakket 34,95
VBO ID
0743010000015709
Woning laatst verkocht in
2025 -
Verkoopprijs opvragen 8,95

Pand

Bouwjaar pand
1860
Aantal adressen in dit gebouw
2 adressen
Hoogte pand
cdcjyDnNEuZUpgrade naar KadastraleKaart Pro
Aantal bouwlagen (schatting)
4RPhOfGa Zy1 bNUpgrade naar KadastraleKaart Pro
Volume
hNmFe xxZ4Upgrade naar KadastraleKaart Pro
Oppervlakte dak
onhDfSOUi0yqCaTUvV9A81Upgrade naar KadastraleKaart Pro
Oppervlakte buitenmuur
OrkyBRnuoJVJS7r1klewMkUpgrade naar KadastraleKaart Pro
Status pand
Verbouwing pand
Pand ID
0743100000002907

Perceel

Kadastrale aanduiding
Asten P 2528 (ATN01 P 2528)
Oppervlakte
1.755 m²
Maatvoering
Kadastrale kaart met maatvoering 59,95
Omtrek
185 meter
Datum laatst gewijzigd
27/11/2024
Aantal adressen op perceel
1
Hoogte boven N.A.P.
e 1e8kBTUpgrade naar KadastraleKaart Pro

Veelgestelde vragen

Antoniusstraat 53-a is een adres gelegen in de gemeente Asten, provincie Noord-Brabant. Dit adres is geregistreerd in de Basisregistratie Adressen en Gebouwen (BAG) met als unieke identificatie 0743010000015709.

Het pand op Antoniusstraat 53-a is gebouwd in 1860, wat betekent dat het 166 jaar oud is. Dit is een ouder pand. Het pand heeft mogelijk aanzienlijke renovaties nodig om aan de huidige standaarden te voldoen.

De woning op Antoniusstraat 53-a heeft een gebruiksoppervlakte van 192 m². Dit is ruim vergeleken met de gemiddelde Nederlandse woning, die een oppervlakte heeft van ongeveer 119 m². De gebruiksoppervlakte is de maat die wordt gebruikt in de BAG-registratie, de landelijke registratie van de Nederlandse overheid.

Antoniusstraat 53-a heeft als functie: wonen. Deze gebruiksfunctie(s) zijn vastgelegd in de BAG-registratie en geven aan waarvoor het adres officieel mag worden gebruikt.

Antoniusstraat 53-a is gelegen op kadastraal perceel ATN01P2528. Deze kadastrale aanduiding is uniek en wordt gebruikt door het Kadaster om eigendomsrechten en andere zakelijke rechten vast te leggen. Het perceel maakt onderdeel uit van de kadastrale gemeente Asten.

Het perceel waarop Antoniusstraat 53-a staat heeft een oppervlakte van 1755 m². Dit is een zeer groot perceel. De perceeloppervlakte wordt geregistreerd door het Kadaster. Gedetailleerde informatie over de maten van dit perceel kunt u vinden in het rapport Kadastrale kaart met maatvoering van Antoniusstraat 53-a.

De eigenaar van Antoniusstraat 53-a is op te vragen op deze pagina.

De informatie over dit adres is afkomstig uit officiële overheidsregistraties, voornamelijk de Basisregistratie Adressen en Gebouwen (BAG) en de Basisregistratie Kadaster (BRK). Deze gegevens worden beheerd door respectievelijk gemeenten en het Kadaster, en worden regelmatig bijgewerkt. Energielabelgegevens komen uit de database van de Rijksdienst voor Ondernemend Nederland (RVO).

Maatvoeringsrapport

Woning verkocht in augustus 2025

Bekijk de verkoopprijs van Antoniusstraat 53-a.
Bekijk de verkoopprijs van dit adres.
Maatvoeringsrapport

Maatvoering van het perceel

Bestel de maatvoering voor Antoniusstraat 53-a met het maatvoeringsrapport.
Bestel de maatvoering voor dit adres.

360°-foto's van de omgeving

Google Street View
Upgrade nu voor 360° Street View foto's

Zon en schaduw rondom adres

Buurt
Verspreide huizen Heusden
Inwoners: 960
Woningen: 293
Wijk
Heusden wonen
Inwoners: 2.575
Woningen: 946
Gemeente
Asten
Inwoners: 17.302
Woningen: 7.146