
Voorste Heusden 22-b is een adres in Heusden, dat zich bevindt binnen de gemeentegrenzen van Heusden en de grenzen van de provincie Noord-Brabant. De oppervlakte bedraagt 234 m², waarmee het adres groter dan gemiddeld is. De grootte van het perceel waarop het adres ligt is 650 m². De oppervlakte van het adres is klein vergeleken met de andere objecten in de straat. De oppervlakte van het kleinste object in de straat bedraagt 80 m², terwijl het grootste object 2048 m² groot is. In het jaar 2025 is het pand waarin Voorste Heusden 22-b ligt gebouwd. Dat is relatief recent: de meeste gebouwen in Nederland zijn gebouwd in de periode 1965-1984. In de straat is dit het nieuwste pand en stamt het oudste object uit het jaar 1850. Het gemiddelde bouwjaar in de straat is 1975. Het verblijfsobject heeft de volgende gebruiksdoelen: 'woonfunctie'.
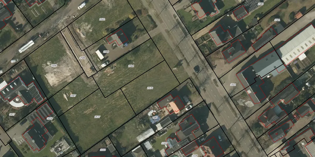
Het adres is gelegen op perceel 2576 in de sectie P en de kadastrale gemeente Asten. De kadastrale aanduiding is aldus ATN01-P-2576. Het perceel is kleiner dan gemiddeld in Asten. Het perceel is 650 m² groot, terwijl het gemiddelde ligt op 6614,06 m². De grootste perceeloppervlakte in de kadastrale gemeente is 3,95 km². De kleinste oppervlakte bedraagt 0 m². Er zijn geen andere adressen aanwezig op het perceel. De huidige grenzen van het perceel zijn digitaal in de Basisregistratie Kadaster (BRK) geregistreerd op 07-08-2025.
Er is geen energielabel geregistreerd voor het adres. Het hoogste energielabel in de straat is A+++; het laagste is G. Het gemiddelde energielabel is er C. Het adres Voorste Heusden 22-b heeft als status: 'verblijfsobject gevormd'. Het pand waarin dit adres ligt heeft als status: 'bouw gestart'.
Voorste Heusden 22-b is een adres gelegen in de gemeente Asten, provincie Noord-Brabant. Dit adres is geregistreerd in de Basisregistratie Adressen en Gebouwen (BAG) met als unieke identificatie 0743010000015852.
Het pand op Voorste Heusden 22-b is gebouwd in 2025, wat betekent dat het 1 jaar oud is. Dit is een vrij nieuw pand. Het pand is dus waarschijnlijk goed geïsoleerd, geluidsdicht en voldoet aan de huidige bouwstandaarden. Op korte termijn zijn er waarschijnlijk weinig onderhoudskosten.
De woning op Voorste Heusden 22-b heeft een gebruiksoppervlakte van 234 m². Dit is ruim vergeleken met de gemiddelde Nederlandse woning, die een oppervlakte heeft van ongeveer 119 m². De gebruiksoppervlakte is de maat die wordt gebruikt in de BAG-registratie, de landelijke registratie van de Nederlandse overheid.
Voorste Heusden 22-b heeft als functie: wonen. Deze gebruiksfunctie(s) zijn vastgelegd in de BAG-registratie en geven aan waarvoor het adres officieel mag worden gebruikt.
Voorste Heusden 22-b is gelegen op kadastraal perceel ATN01P2576. Deze kadastrale aanduiding is uniek en wordt gebruikt door het Kadaster om eigendomsrechten en andere zakelijke rechten vast te leggen. Het perceel maakt onderdeel uit van de kadastrale gemeente Asten.
Het perceel waarop Voorste Heusden 22-b staat heeft een oppervlakte van 650 m². Dit is een groot perceel. De perceeloppervlakte wordt geregistreerd door het Kadaster. Gedetailleerde informatie over de maten van dit perceel kunt u vinden in het rapport Kadastrale kaart met maatvoering van Voorste Heusden 22-b.
De eigenaar van Voorste Heusden 22-b is op te vragen op deze pagina.
De informatie over dit adres is afkomstig uit officiële overheidsregistraties, voornamelijk de Basisregistratie Adressen en Gebouwen (BAG) en de Basisregistratie Kadaster (BRK). Deze gegevens worden beheerd door respectievelijk gemeenten en het Kadaster, en worden regelmatig bijgewerkt. Energielabelgegevens komen uit de database van de Rijksdienst voor Ondernemend Nederland (RVO).
