
Het adres Binnenweg 2 bevindt zich in de plaats Hierden, in de gemeente Hierden en de provincie Gelderland. Het object heeft een oppervlakte van 237 m², wat relatief groot is. Het perceel waarop het adres ligt is 7315 m² groot. In de straat is dit het adres met de grootste oppervlakte. De objecten in de straat zijn gemiddeld 182 m² groot. Het kleinste verblijfsobject heeft een oppervlakte van 112 m². Het pand waarin Binnenweg 2 ligt is gebouwd in het jaar 1989. Panden die gebouwd zijn na het jaar 1984 noemen we hier relatief nieuw. Het gemiddelde bouwjaar in de straat is 1943 en dat van het oudste pand is 1927. Dit is het nieuwste object in de straat. Voor het verblijfsobject gelden deze gebruiksdoelen: 'woonfunctie'.
Deze woning is voor het laatst verkocht op 1 juli 2023. Meer informatie over deze transactie? Bestel het Woningtransactierapport om de verkoopprijs en andere informatie te zien.
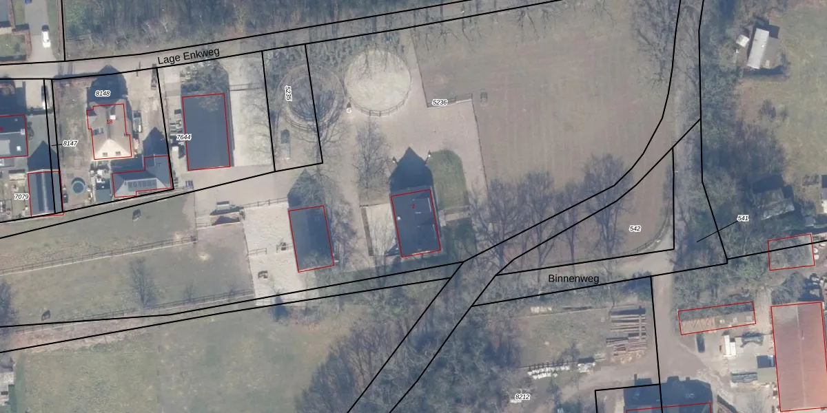
Het perceel waarop het adres ligt is HDW00-B-5236. De afkorting 'HDW00' staat voor kadastrale gemeente Harderwijk. Het perceel is met 7315 m² relatief groot. Het gemiddelde ligt in de kadastrale gemeente Harderwijk op 2357,17 m². Het kleinste perceel in de kadastrale gemeente is 0 m² groot. De grootste perceeloppervlakte is 1,96 km². Dit is het enige adres dat aanwezig is op het perceel. In de Basisregistratie Kadaster (BRK) werden de grenzen van het perceel geregistreerd op 10-02-2010.
Het adres ligt in een gebouw van het type 'vrijstaande woning'. Bij de laatste meting is voor het adres het energielabel C geregistreerd. Het hoogste energielabel in de straat is A; het laagste is G. Het gemiddelde energielabel is er C. Het adres Binnenweg 2 heeft als status: 'verblijfsobject in gebruik'. Het pand waarin dit adres ligt heeft als status: 'pand in gebruik'.
Binnenweg 2 is een adres gelegen in de gemeente Harderwijk, provincie Gelderland. Dit adres is geregistreerd in de Basisregistratie Adressen en Gebouwen (BAG) met als unieke identificatie 0243010001374314.
Het pand op Binnenweg 2 is gebouwd in 1989, wat betekent dat het 37 jaar oud is. Dit is een pand van middelbare leeftijd. Het pand is van gemiddelde leeftijd en zal waarschijnlijk verouderde elementen bevatten.
De woning op Binnenweg 2 heeft een gebruiksoppervlakte van 237 m². Dit is ruim vergeleken met de gemiddelde Nederlandse woning, die een oppervlakte heeft van ongeveer 119 m². De gebruiksoppervlakte is de maat die wordt gebruikt in de BAG-registratie, de landelijke registratie van de Nederlandse overheid.
Binnenweg 2 heeft als functie: wonen. Deze gebruiksfunctie(s) zijn vastgelegd in de BAG-registratie en geven aan waarvoor het adres officieel mag worden gebruikt.
Binnenweg 2 is gelegen op kadastraal perceel HDW00B5236. Deze kadastrale aanduiding is uniek en wordt gebruikt door het Kadaster om eigendomsrechten en andere zakelijke rechten vast te leggen. Het perceel maakt onderdeel uit van de kadastrale gemeente Harderwijk.
Het perceel waarop Binnenweg 2 staat heeft een oppervlakte van 7315 m². Dit is een zeer groot perceel. De perceeloppervlakte wordt geregistreerd door het Kadaster. Gedetailleerde informatie over de maten van dit perceel kunt u vinden in het rapport Kadastrale kaart met maatvoering van Binnenweg 2.
De eigenaar van Binnenweg 2 is op te vragen op deze pagina.
De informatie over dit adres is afkomstig uit officiële overheidsregistraties, voornamelijk de Basisregistratie Adressen en Gebouwen (BAG) en de Basisregistratie Kadaster (BRK). Deze gegevens worden beheerd door respectievelijk gemeenten en het Kadaster, en worden regelmatig bijgewerkt. Energielabelgegevens komen uit de database van de Rijksdienst voor Ondernemend Nederland (RVO).
