
Het adres Duinweg 8-B bevindt zich in de plaats Hierden, in de gemeente Hierden en de provincie Gelderland. Het object heeft een oppervlakte van 158 m², wat relatief groot is. Het perceel waarop het adres ligt is 2585 m² groot. De oppervlakte van het adres is klein vergeleken met de andere objecten in de straat. De oppervlakte van het kleinste object in de straat bedraagt 100 m², terwijl het grootste object 444 m² groot is. Duinweg 8-B ligt in een gebouw uit het jaar 2016. Daarmee behoort het tot de groep panden van na 1984, die we als relatief nieuw bestempelen. Vergeleken met de andere panden in de straat is dit gebouw nieuw. Het vroegste bouwjaar is er 1931 en het laatste is 2023. Het verblijfsobject heeft de volgende gebruiksdoelen: 'woonfunctie'.
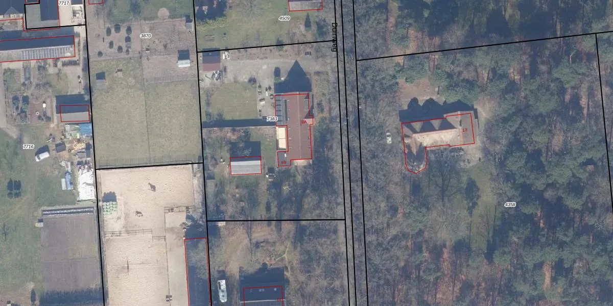
Het adres is gelegen op perceel 7383 in de sectie B en de kadastrale gemeente Harderwijk. De kadastrale aanduiding is aldus HDW00-B-7383. De gemiddelde perceeloppervlakte in de kadastrale gemeente Harderwijk is 2357,17 m². Dit perceel is met zijn 2585 m² dus groter dan gemiddeld. Het grootste perceel in de kadastrale gemeente is 1,96 km². Het kleinste perceel heeft een oppervlakte van 0 m². Er zijn 2 adressen aanwezig op het perceel. In de Basisregistratie Kadaster (BRK) werden de grenzen van het perceel geregistreerd op 27-08-2015.
Er is geen energielabel geregistreerd voor het adres. Het hoogste energielabel in de straat is A; het laagste is G. Het gemiddelde energielabel is er C. Het adres Duinweg 8-B heeft als status: 'verblijfsobject in gebruik'. Het pand waarin dit adres ligt heeft als status: 'pand in gebruik'.
Duinweg 8-B is een adres gelegen in de gemeente Harderwijk, provincie Gelderland. Dit adres is geregistreerd in de Basisregistratie Adressen en Gebouwen (BAG) met als unieke identificatie 0243010001382165.
Het pand op Duinweg 8-B is gebouwd in 2016, wat betekent dat het 10 jaar oud is. Dit is een relatief modern pand. Ten opzichte van de nationale woningvoorraad is het pand relatief modern, maar er kunnen enkele verouderde elementen zijn die aandacht nodig hebben.
De woning op Duinweg 8-B heeft een gebruiksoppervlakte van 158 m². Dit is ruim vergeleken met de gemiddelde Nederlandse woning, die een oppervlakte heeft van ongeveer 119 m². De gebruiksoppervlakte is de maat die wordt gebruikt in de BAG-registratie, de landelijke registratie van de Nederlandse overheid.
Duinweg 8-B heeft als functie: wonen. Deze gebruiksfunctie(s) zijn vastgelegd in de BAG-registratie en geven aan waarvoor het adres officieel mag worden gebruikt.
Duinweg 8-B is gelegen op kadastraal perceel HDW00B7383. Deze kadastrale aanduiding is uniek en wordt gebruikt door het Kadaster om eigendomsrechten en andere zakelijke rechten vast te leggen. Het perceel maakt onderdeel uit van de kadastrale gemeente Harderwijk.
Het perceel waarop Duinweg 8-B staat heeft een oppervlakte van 2585 m². Dit is een zeer groot perceel. De perceeloppervlakte wordt geregistreerd door het Kadaster. Gedetailleerde informatie over de maten van dit perceel kunt u vinden in het rapport Kadastrale kaart met maatvoering van Duinweg 8-B.
De eigenaar van Duinweg 8-B is op te vragen op deze pagina.
De informatie over dit adres is afkomstig uit officiële overheidsregistraties, voornamelijk de Basisregistratie Adressen en Gebouwen (BAG) en de Basisregistratie Kadaster (BRK). Deze gegevens worden beheerd door respectievelijk gemeenten en het Kadaster, en worden regelmatig bijgewerkt. Energielabelgegevens komen uit de database van de Rijksdienst voor Ondernemend Nederland (RVO).
