
Grevenhofsweg 5 is gelegen in de plaats Hierden, de gemeente Harderwijk en de provincie Gelderland. De oppervlakte bedraagt 226 m², waarmee het adres groter dan gemiddeld is. De grootte van het perceel waarop het adres ligt is 6135 m². In vergelijking met de andere adressen in de straat is de oppervlakte van dit object relatief groot. Het grootste verblijfsobject heeft een oppervlakte van 411 m², de oppervlakte van het kleinste object bedraagt 44 m². Het gebouw waarin Grevenhofsweg 5 ligt komt uit het jaar 1900. Objecten die gebouwd zijn vóór 1965 classificeren we hier als oud. In de straat komt het nieuwste gebouw uit het jaar 2019 en het oudste uit 1844. Het bouwjaar van dit object is relatief oud. De volgende gebruiksdoelen zijn geregistreerd voor dit adres: 'woonfunctie'.
Deze woning is voor het laatst verkocht op 1 augustus 2014. Meer informatie over deze transactie? Bestel het Woningtransactierapport om de verkoopprijs en andere informatie te zien.
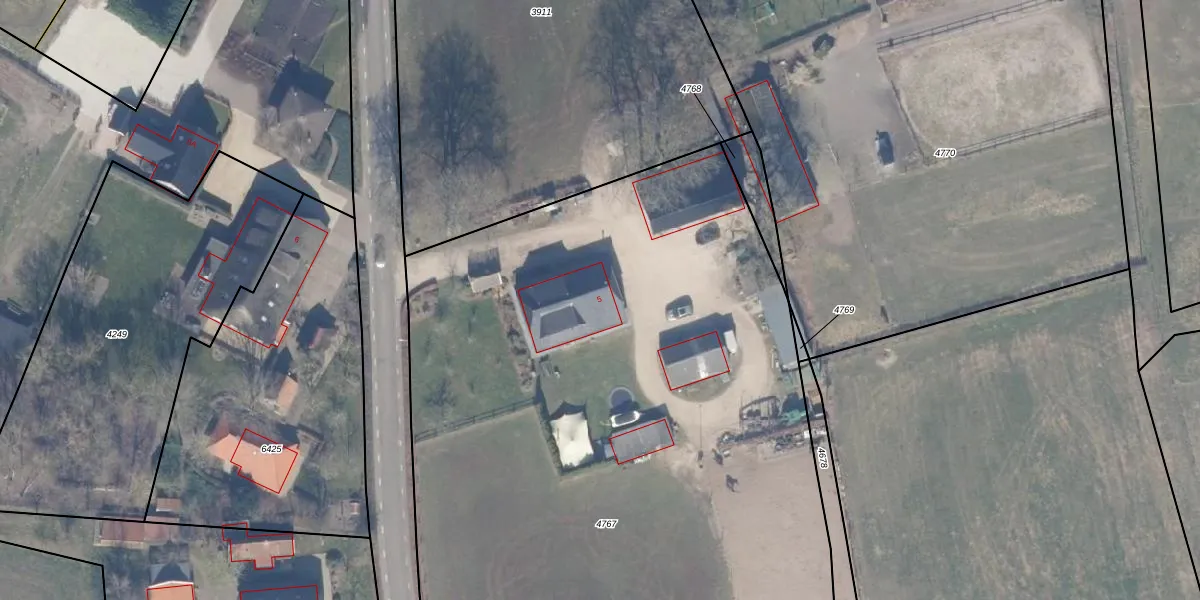
Het perceel waarop het adres ligt is HDW00-A-4767. De afkorting 'HDW00' staat voor kadastrale gemeente Harderwijk. De oppervlakte van het perceel is 6135 m². Dat is groter dan gemiddeld in Harderwijk, waar de gemiddelde perceeloppervlakte op 2356,71 m² ligt. Het kleinste perceel in de kadastrale gemeente is 0 m² groot. De grootste perceeloppervlakte is 1,96 km². Er zijn geen andere adressen aanwezig op het perceel. De laatste wijziging in het de Basisregistratie Kadaster (BRK) was op 04-07-2014.
Er is geen energielabel geregistreerd voor het adres. Het hoogste energielabel in de straat is E; het laagste is G. Het gemiddelde energielabel is er E. Het adres Grevenhofsweg 5 heeft als status: 'verblijfsobject in gebruik'. Het pand waarin dit adres ligt heeft als status: 'pand in gebruik'.
Grevenhofsweg 5 is een adres gelegen in de gemeente Harderwijk, provincie Gelderland. Dit adres is geregistreerd in de Basisregistratie Adressen en Gebouwen (BAG) met als unieke identificatie 0243010001342204.
Het pand op Grevenhofsweg 5 is gebouwd in 1900, wat betekent dat het 126 jaar oud is. Dit is een ouder pand. Het pand heeft mogelijk aanzienlijke renovaties nodig om aan de huidige standaarden te voldoen.
De woning op Grevenhofsweg 5 heeft een gebruiksoppervlakte van 226 m². Dit is ruim vergeleken met de gemiddelde Nederlandse woning, die een oppervlakte heeft van ongeveer 119 m². De gebruiksoppervlakte is de maat die wordt gebruikt in de BAG-registratie, de landelijke registratie van de Nederlandse overheid.
Grevenhofsweg 5 heeft als functie: wonen. Deze gebruiksfunctie(s) zijn vastgelegd in de BAG-registratie en geven aan waarvoor het adres officieel mag worden gebruikt.
Grevenhofsweg 5 is gelegen op kadastraal perceel HDW00A4767. Deze kadastrale aanduiding is uniek en wordt gebruikt door het Kadaster om eigendomsrechten en andere zakelijke rechten vast te leggen. Het perceel maakt onderdeel uit van de kadastrale gemeente Harderwijk.
Het perceel waarop Grevenhofsweg 5 staat heeft een oppervlakte van 6135 m². Dit is een zeer groot perceel. De perceeloppervlakte wordt geregistreerd door het Kadaster. Gedetailleerde informatie over de maten van dit perceel kunt u vinden in het rapport Kadastrale kaart met maatvoering van Grevenhofsweg 5.
De eigenaar van Grevenhofsweg 5 is op te vragen op deze pagina.
De informatie over dit adres is afkomstig uit officiële overheidsregistraties, voornamelijk de Basisregistratie Adressen en Gebouwen (BAG) en de Basisregistratie Kadaster (BRK). Deze gegevens worden beheerd door respectievelijk gemeenten en het Kadaster, en worden regelmatig bijgewerkt. Energielabelgegevens komen uit de database van de Rijksdienst voor Ondernemend Nederland (RVO).
