
Zuiderzeestraatweg 46-C is gelegen in de plaats Hierden, de gemeente Harderwijk en de provincie Gelderland. Het verblijfsobject is 138 m² groot en bevindt zich op een perceel met een oppervlakte van 1961 m². Gemiddeld hebben adressen in Nederland een oppervlakte van 119 m². De oppervlakte van het adres is klein vergeleken met de andere objecten in de straat. De oppervlakte van het kleinste object in de straat bedraagt 9 m², terwijl het grootste object 3562 m² groot is. Het pand waarin Zuiderzeestraatweg 46-C ligt is gebouwd in het jaar 2025. Panden die gebouwd zijn na het jaar 1984 noemen we hier relatief nieuw. Vergeleken met de andere panden in de straat is dit gebouw nieuw. Het vroegste bouwjaar is er 1798 en het laatste is 2026. Voor het verblijfsobject gelden deze gebruiksdoelen: 'woonfunctie'.
Deze woning is voor het laatst verkocht op 1 december 2024. Meer informatie over deze transactie? Bestel het Woningtransactierapport om de verkoopprijs en andere informatie te zien.
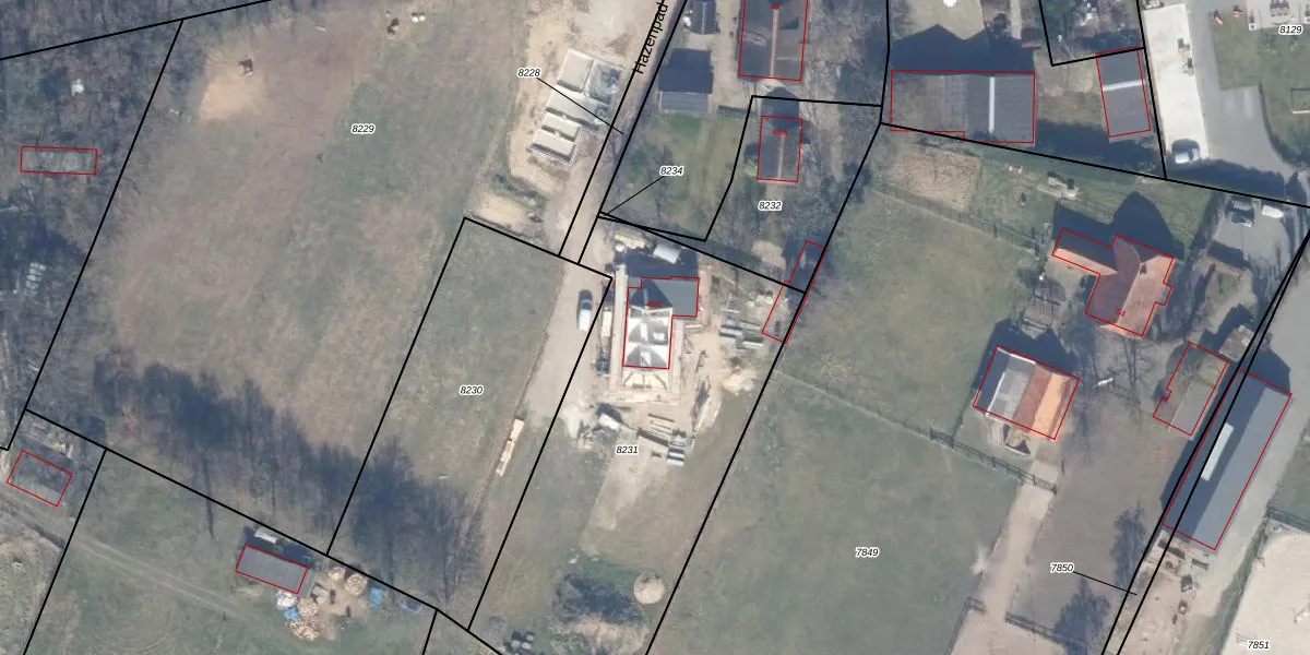
Het adres is gelegen op perceel 8231 in de sectie B en de kadastrale gemeente Harderwijk. De kadastrale aanduiding is aldus HDW00-B-8231. De gemiddelde perceelgrootte in Harderwijk is 2356,71 m². Dit perceel is kleiner: de perceeloppervlakte bedraagt 1961 m². Het kleinste perceel in de kadastrale gemeente is 0 m² groot. De grootste perceeloppervlakte is 1,96 km². Dit is het enige adres dat aanwezig is op het perceel. De laatste wijziging in het de Basisregistratie Kadaster (BRK) was op 24-08-2023.
Het adres ligt in een gebouw van het type 'vrijstaande woning'. Bij de laatste meting is voor het adres het energielabel A++++ geregistreerd. Het hoogste energielabel in de straat is A++++; het laagste is G. Het gemiddelde energielabel is er B. Het adres Zuiderzeestraatweg 46-C heeft als status: 'verblijfsobject in gebruik'. Het pand waarin dit adres ligt heeft als status: 'pand in gebruik'.
Zuiderzeestraatweg 46-C is een adres gelegen in de gemeente Harderwijk, provincie Gelderland. Dit adres is geregistreerd in de Basisregistratie Adressen en Gebouwen (BAG) met als unieke identificatie 0243019900056431.
Het pand op Zuiderzeestraatweg 46-C is gebouwd in 2025, wat betekent dat het 1 jaar oud is. Dit is een vrij nieuw pand. Het pand is dus waarschijnlijk goed geïsoleerd, geluidsdicht en voldoet aan de huidige bouwstandaarden. Op korte termijn zijn er waarschijnlijk weinig onderhoudskosten.
De woning op Zuiderzeestraatweg 46-C heeft een gebruiksoppervlakte van 138 m². Dit is gemiddeld vergeleken met de gemiddelde Nederlandse woning, die een oppervlakte heeft van ongeveer 119 m². De gebruiksoppervlakte is de maat die wordt gebruikt in de BAG-registratie, de landelijke registratie van de Nederlandse overheid.
Zuiderzeestraatweg 46-C heeft als functie: wonen. Deze gebruiksfunctie(s) zijn vastgelegd in de BAG-registratie en geven aan waarvoor het adres officieel mag worden gebruikt.
Zuiderzeestraatweg 46-C is gelegen op kadastraal perceel HDW00B8231. Deze kadastrale aanduiding is uniek en wordt gebruikt door het Kadaster om eigendomsrechten en andere zakelijke rechten vast te leggen. Het perceel maakt onderdeel uit van de kadastrale gemeente Harderwijk.
Het perceel waarop Zuiderzeestraatweg 46-C staat heeft een oppervlakte van 1961 m². Dit is een zeer groot perceel. De perceeloppervlakte wordt geregistreerd door het Kadaster. Gedetailleerde informatie over de maten van dit perceel kunt u vinden in het rapport Kadastrale kaart met maatvoering van Zuiderzeestraatweg 46-C.
De eigenaar van Zuiderzeestraatweg 46-C is op te vragen op deze pagina.
De informatie over dit adres is afkomstig uit officiële overheidsregistraties, voornamelijk de Basisregistratie Adressen en Gebouwen (BAG) en de Basisregistratie Kadaster (BRK). Deze gegevens worden beheerd door respectievelijk gemeenten en het Kadaster, en worden regelmatig bijgewerkt. Energielabelgegevens komen uit de database van de Rijksdienst voor Ondernemend Nederland (RVO).
