
Eenendertigste Wijk-N 4 is gelegen in de plaats Hollandscheveld, de gemeente Hoogeveen en de provincie Drenthe. Het verblijfsobject is vergeleken met het Nederlandse gemiddelde aan de kleine kant: de oppervlakte is 79 m². Het perceel waarop het adres zich bevindt heeft een oppervlakte van 449 m². Het adres is klein vergeleken met andere objecten in de straat. Het grootste object in de straat heeft een oppervlakte van 703 m², het kleinste is 41 m² groot. Het gebouw waarin Eenendertigste Wijk-N 4 ligt komt uit het jaar 1930. Objecten die gebouwd zijn vóór 1965 classificeren we hier als oud. Gemiddeld zijn de gebouwen in de straat gebouwd in 1943. Dit is het oudste pand in de straat. Het meest recente komt uit het jaar 1992. Het verblijfsobject heeft de volgende gebruiksdoelen: 'woonfunctie'.
Deze woning is voor het laatst verkocht op 1 december 2007. Meer informatie over deze transactie? Bestel het Woningtransactierapport om de verkoopprijs en andere informatie te zien.
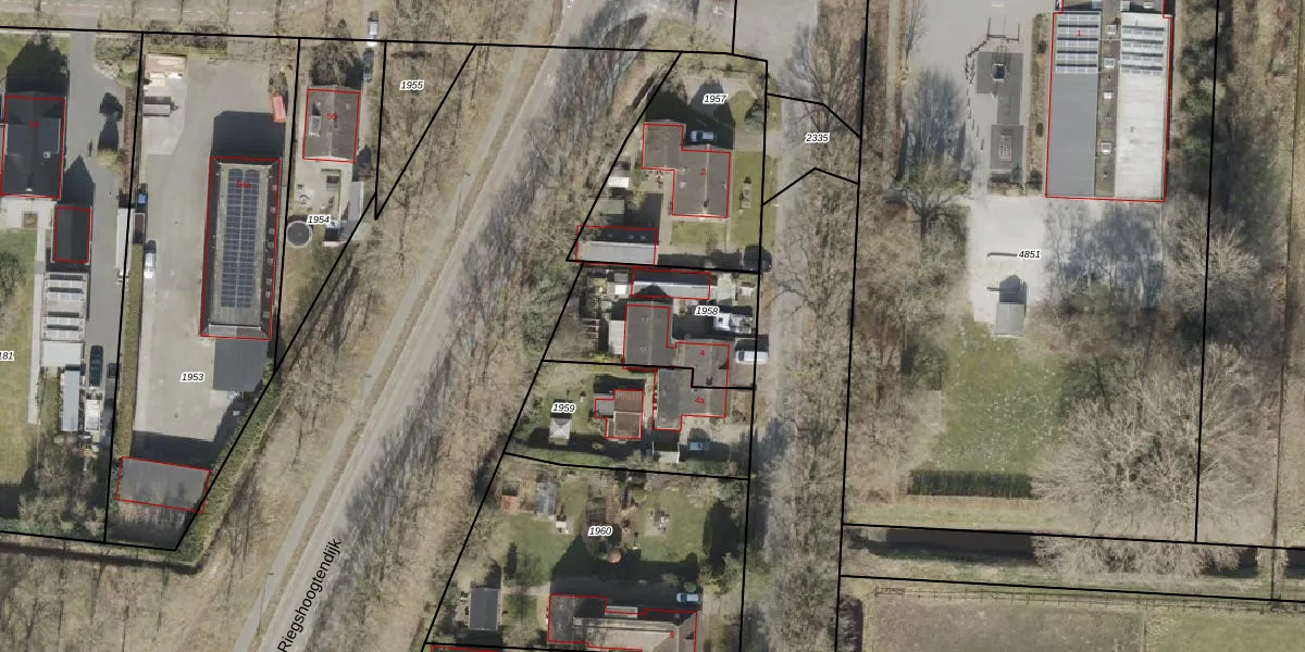
Het adres ligt op het perceel HGV00-C-1958, dat zich in de kadastrale gemeente Hoogeveen bevindt. Het perceel is kleiner dan gemiddeld in Hoogeveen. Het perceel is 449 m² groot, terwijl het gemiddelde ligt op 4422,42 m². Het kleinste perceel in de kadastrale gemeente is 0 m² groot. De grootste perceeloppervlakte is 56,8 ha. Op het perceel bevinden zich geen andere adressen. De laatste wijziging in het de Basisregistratie Kadaster (BRK) was op 11-01-2012.
Er is geen energielabel geregistreerd voor het adres. Het hoogste energielabel in de straat is G; het laagste is G. Het gemiddelde energielabel is er G. Het adres Eenendertigste Wijk-N 4 heeft als status: 'verblijfsobject in gebruik'. Het pand waarin dit adres ligt heeft als status: 'pand in gebruik'.
Eenendertigste Wijk-N 4 is een adres gelegen in de gemeente Hoogeveen, provincie Drenthe. Dit adres is geregistreerd in de Basisregistratie Adressen en Gebouwen (BAG) met als unieke identificatie 0118010000001858.
Het pand op Eenendertigste Wijk-N 4 is gebouwd in 1930, wat betekent dat het 96 jaar oud is. Dit is een ouder pand. Het pand heeft mogelijk aanzienlijke renovaties nodig om aan de huidige standaarden te voldoen.
De woning op Eenendertigste Wijk-N 4 heeft een gebruiksoppervlakte van 79 m². Dit is onder het gemiddelde vergeleken met de gemiddelde Nederlandse woning, die een oppervlakte heeft van ongeveer 119 m². De gebruiksoppervlakte is de maat die wordt gebruikt in de BAG-registratie, de landelijke registratie van de Nederlandse overheid.
Eenendertigste Wijk-N 4 heeft als functie: wonen. Deze gebruiksfunctie(s) zijn vastgelegd in de BAG-registratie en geven aan waarvoor het adres officieel mag worden gebruikt.
Eenendertigste Wijk-N 4 is gelegen op kadastraal perceel HGV00C1958. Deze kadastrale aanduiding is uniek en wordt gebruikt door het Kadaster om eigendomsrechten en andere zakelijke rechten vast te leggen. Het perceel maakt onderdeel uit van de kadastrale gemeente Hoogeveen.
Het perceel waarop Eenendertigste Wijk-N 4 staat heeft een oppervlakte van 449 m². Dit is een groot perceel. De perceeloppervlakte wordt geregistreerd door het Kadaster. Gedetailleerde informatie over de maten van dit perceel kunt u vinden in het rapport Kadastrale kaart met maatvoering van Eenendertigste Wijk-N 4.
De eigenaar van Eenendertigste Wijk-N 4 is op te vragen op deze pagina.
De informatie over dit adres is afkomstig uit officiële overheidsregistraties, voornamelijk de Basisregistratie Adressen en Gebouwen (BAG) en de Basisregistratie Kadaster (BRK). Deze gegevens worden beheerd door respectievelijk gemeenten en het Kadaster, en worden regelmatig bijgewerkt. Energielabelgegevens komen uit de database van de Rijksdienst voor Ondernemend Nederland (RVO).
