
Het adres Zuideropgaande 154 bevindt zich in de plaats Hollandscheveld, in de gemeente Hollandscheveld en de provincie Drenthe. De oppervlakte van het verblijfsobject is met 301 m² aan de grote kant. Het perceel heeft een oppervlakte van 2830 m². De oppervlakte van dit adres is groot vergeleken met de oppervlaktes van andere adressen in de straat. De kleinste oppervlakte bedraagt er 3 m², de grootste 2809 m². Zuideropgaande 154 bevindt zich in een pand uit het jaar 1910. Daarmee behoort het tot de groep relatief oude panden in Nederland die gebouwd zijn vóór 1965. Het nieuwste gebouw in de straat komt uit 2026 en het oudste uit 1875. Dit object is relatief oud. Voor het verblijfsobject gelden deze gebruiksdoelen: 'woonfunctie' en 'industriefunctie'.
Deze woning is voor het laatst verkocht op 1 december 2016. Meer informatie over deze transactie? Bestel het Woningtransactierapport om de verkoopprijs en andere informatie te zien.
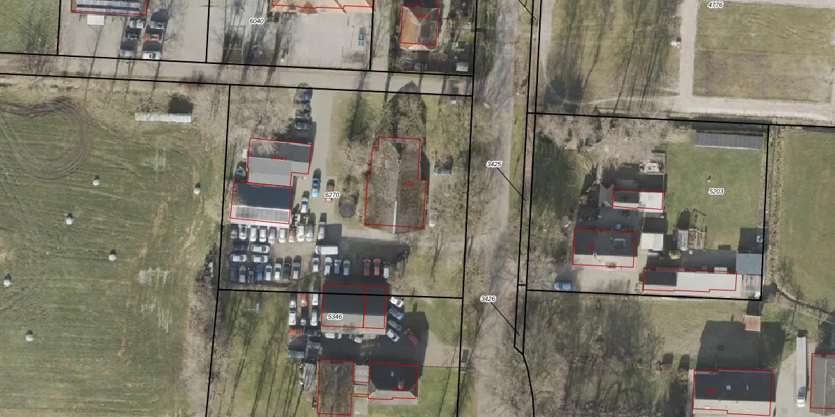
Het adres ligt op het perceel HGV00-M-6270, dat zich in de kadastrale gemeente Hoogeveen bevindt. De gemiddelde perceelgrootte in Hoogeveen is 4425,14 m². Dit perceel is kleiner: de perceeloppervlakte bedraagt 2830 m². Het grootste perceel in de kadastrale gemeente is 56,8 ha. Het kleinste perceel heeft een oppervlakte van 0 m². Op het perceel liggen in totaal 2 adressen. In de Basisregistratie Kadaster (BRK) werden de grenzen van het perceel geregistreerd op 16-12-2016.
Er is geen energielabel geregistreerd voor het adres. Het hoogste energielabel in de straat is A++++; het laagste is G. Het gemiddelde energielabel is er C. Het adres Zuideropgaande 154 heeft als status: 'verblijfsobject in gebruik'. Het pand waarin dit adres ligt heeft als status: 'pand in gebruik'.
Zuideropgaande 154 is een adres gelegen in de gemeente Hoogeveen, provincie Drenthe. Dit adres is geregistreerd in de Basisregistratie Adressen en Gebouwen (BAG) met als unieke identificatie 0118010000001070.
Het pand op Zuideropgaande 154 is gebouwd in 1910, wat betekent dat het 116 jaar oud is. Dit is een ouder pand. Het pand heeft mogelijk aanzienlijke renovaties nodig om aan de huidige standaarden te voldoen.
De woning op Zuideropgaande 154 heeft een gebruiksoppervlakte van 301 m². Dit is ruim vergeleken met de gemiddelde Nederlandse woning, die een oppervlakte heeft van ongeveer 119 m². De gebruiksoppervlakte is de maat die wordt gebruikt in de BAG-registratie, de landelijke registratie van de Nederlandse overheid.
Zuideropgaande 154 heeft als functie: wonen en industrie. Deze gebruiksfunctie(s) zijn vastgelegd in de BAG-registratie en geven aan waarvoor het adres officieel mag worden gebruikt.
Zuideropgaande 154 is gelegen op kadastraal perceel HGV00M6270. Deze kadastrale aanduiding is uniek en wordt gebruikt door het Kadaster om eigendomsrechten en andere zakelijke rechten vast te leggen. Het perceel maakt onderdeel uit van de kadastrale gemeente Hoogeveen.
Het perceel waarop Zuideropgaande 154 staat heeft een oppervlakte van 2830 m². Dit is een zeer groot perceel. De perceeloppervlakte wordt geregistreerd door het Kadaster. Gedetailleerde informatie over de maten van dit perceel kunt u vinden in het rapport Kadastrale kaart met maatvoering van Zuideropgaande 154.
De eigenaar van Zuideropgaande 154 is op te vragen op deze pagina.
De informatie over dit adres is afkomstig uit officiële overheidsregistraties, voornamelijk de Basisregistratie Adressen en Gebouwen (BAG) en de Basisregistratie Kadaster (BRK). Deze gegevens worden beheerd door respectievelijk gemeenten en het Kadaster, en worden regelmatig bijgewerkt. Energielabelgegevens komen uit de database van de Rijksdienst voor Ondernemend Nederland (RVO).
