
Smidsstraat 6-C is een adres in Hooge Mierde, dat zich bevindt binnen de gemeentegrenzen van Hooge Mierde en de grenzen van de provincie Noord-Brabant. Het verblijfsobject is vergeleken met het Nederlandse gemiddelde aan de kleine kant: de oppervlakte is 63 m². Het perceel waarop het adres zich bevindt heeft een oppervlakte van 578 m². Het object is klein ten opzichte van de andere adressen in de straat. Het grootste verblijfsobject is 789 m² groot en het kleinste is 59 m². Het pand waarin Smidsstraat 6-C ligt is gebouwd in het jaar 2022. Panden die gebouwd zijn na het jaar 1984 noemen we hier relatief nieuw. Dit object is relatief nieuw in de straat. Het nieuwste gebouw komt er uit het jaar 2024 en het oudste uit het jaar 1880. Het verblijfsobject heeft de volgende gebruiksdoelen: 'woonfunctie'.
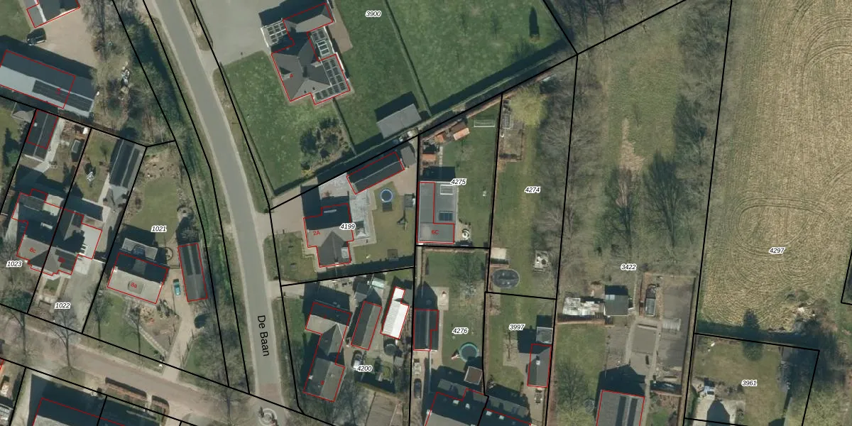
Het perceel waarop het adres ligt is MDE02-E-4275. De afkorting 'MDE02' staat voor kadastrale gemeente Hooge en Lage Mierde. Het perceel is kleiner dan gemiddeld in Hooge en Lage Mierde. Het perceel is 578 m² groot, terwijl het gemiddelde ligt op 9831,71 m². Het kleinste perceel in de kadastrale gemeente is 0 m² groot. De grootste perceeloppervlakte is 1,54 km². Op het perceel bevinden zich geen andere adressen. De huidige grenzen van het perceel zijn digitaal in de Basisregistratie Kadaster (BRK) geregistreerd op 15-07-2022.
Er is geen energielabel geregistreerd voor het adres. Het hoogste energielabel in de straat is A+++; het laagste is G. Het gemiddelde energielabel is er C. Het adres Smidsstraat 6-C heeft als status: 'verblijfsobject in gebruik'. Het pand waarin dit adres ligt heeft als status: 'pand in gebruik'.
Smidsstraat 6-C is een adres gelegen in de gemeente Reusel-De Mierden, provincie Noord-Brabant. Dit adres is geregistreerd in de Basisregistratie Adressen en Gebouwen (BAG) met als unieke identificatie 1667010000855816.
Het pand op Smidsstraat 6-C is gebouwd in 2022, wat betekent dat het 4 jaar oud is. Dit is een vrij nieuw pand. Het pand is dus waarschijnlijk goed geïsoleerd, geluidsdicht en voldoet aan de huidige bouwstandaarden. Op korte termijn zijn er waarschijnlijk weinig onderhoudskosten.
De woning op Smidsstraat 6-C heeft een gebruiksoppervlakte van 63 m². Dit is relatief klein vergeleken met de gemiddelde Nederlandse woning, die een oppervlakte heeft van ongeveer 119 m². De gebruiksoppervlakte is de maat die wordt gebruikt in de BAG-registratie, de landelijke registratie van de Nederlandse overheid.
Smidsstraat 6-C heeft als functie: wonen. Deze gebruiksfunctie(s) zijn vastgelegd in de BAG-registratie en geven aan waarvoor het adres officieel mag worden gebruikt.
Smidsstraat 6-C is gelegen op kadastraal perceel MDE02E4275. Deze kadastrale aanduiding is uniek en wordt gebruikt door het Kadaster om eigendomsrechten en andere zakelijke rechten vast te leggen. Het perceel maakt onderdeel uit van de kadastrale gemeente Hooge en Lage Mierde.
Het perceel waarop Smidsstraat 6-C staat heeft een oppervlakte van 578 m². Dit is een groot perceel. De perceeloppervlakte wordt geregistreerd door het Kadaster. Gedetailleerde informatie over de maten van dit perceel kunt u vinden in het rapport Kadastrale kaart met maatvoering van Smidsstraat 6-C.
De eigenaar van Smidsstraat 6-C is op te vragen op deze pagina.
De informatie over dit adres is afkomstig uit officiële overheidsregistraties, voornamelijk de Basisregistratie Adressen en Gebouwen (BAG) en de Basisregistratie Kadaster (BRK). Deze gegevens worden beheerd door respectievelijk gemeenten en het Kadaster, en worden regelmatig bijgewerkt. Energielabelgegevens komen uit de database van de Rijksdienst voor Ondernemend Nederland (RVO).
