
Stationsstraat 14 is een adres in Hooghalen, dat zich bevindt binnen de gemeentegrenzen van Hooghalen en de grenzen van de provincie Drenthe. Het verblijfsobject is 146 m² groot en bevindt zich op een perceel met een oppervlakte van 845 m². Gemiddeld hebben adressen in Nederland een oppervlakte van 119 m². Het adres is klein vergeleken met andere objecten in de straat. Het grootste object in de straat heeft een oppervlakte van 1834 m², het kleinste is 34 m² groot. Het adres Stationsstraat 14 ligt in een relatief oud pand uit het jaar 1950. Panden van vóór het jaar 1965 hebben we hier geclassificeerd als oud. Het bouwjaar is oud vergeleken met dat van de andere panden in de straat. Het oudste bouwjaar is er 1915 en de nieuwste is 2025. Voor het verblijfsobject gelden deze gebruiksdoelen: 'woonfunctie'.
Deze woning is voor het laatst verkocht op 1 augustus 2000. Meer informatie over deze transactie? Bestel het Woningtransactierapport om de verkoopprijs en andere informatie te zien.
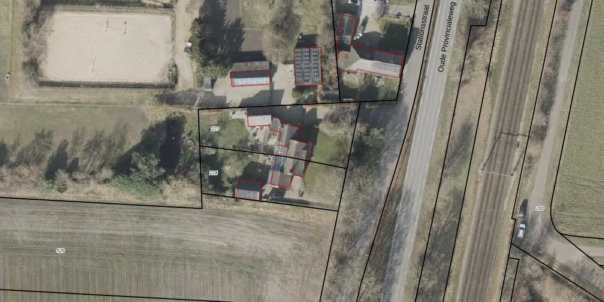
Het adres ligt op het perceel BLN00-W-223, dat zich in de kadastrale gemeente Beilen bevindt. De gemiddelde perceelgrootte in Beilen is 1,1 ha. Dit perceel is kleiner: de perceeloppervlakte bedraagt 845 m². De grootste perceeloppervlakte in de kadastrale gemeente is 4,30 km². De kleinste oppervlakte bedraagt 0 m². Dit is het enige adres dat aanwezig is op het perceel. De huidige grenzen van het perceel zijn digitaal in de Basisregistratie Kadaster (BRK) geregistreerd op 15-02-2010.
Er is geen energielabel geregistreerd voor het adres. Het hoogste energielabel in de straat is A; het laagste is G. Het gemiddelde energielabel is er D. Het adres Stationsstraat 14 heeft als status: 'verblijfsobject in gebruik'. Het pand waarin dit adres ligt heeft als status: 'pand in gebruik'.
Stationsstraat 14 is een adres gelegen in de gemeente Midden-Drenthe, provincie Drenthe. Dit adres is geregistreerd in de Basisregistratie Adressen en Gebouwen (BAG) met als unieke identificatie 1731010000007913.
Het pand op Stationsstraat 14 is gebouwd in 1950, wat betekent dat het 76 jaar oud is. Dit is een ouder pand. Het pand heeft mogelijk aanzienlijke renovaties nodig om aan de huidige standaarden te voldoen.
De woning op Stationsstraat 14 heeft een gebruiksoppervlakte van 146 m². Dit is gemiddeld vergeleken met de gemiddelde Nederlandse woning, die een oppervlakte heeft van ongeveer 119 m². De gebruiksoppervlakte is de maat die wordt gebruikt in de BAG-registratie, de landelijke registratie van de Nederlandse overheid.
Stationsstraat 14 heeft als functie: wonen. Deze gebruiksfunctie(s) zijn vastgelegd in de BAG-registratie en geven aan waarvoor het adres officieel mag worden gebruikt.
Stationsstraat 14 is gelegen op kadastraal perceel BLN00W223. Deze kadastrale aanduiding is uniek en wordt gebruikt door het Kadaster om eigendomsrechten en andere zakelijke rechten vast te leggen. Het perceel maakt onderdeel uit van de kadastrale gemeente Beilen.
Het perceel waarop Stationsstraat 14 staat heeft een oppervlakte van 845 m². Dit is een groot perceel. De perceeloppervlakte wordt geregistreerd door het Kadaster. Gedetailleerde informatie over de maten van dit perceel kunt u vinden in het rapport Kadastrale kaart met maatvoering van Stationsstraat 14.
De eigenaar van Stationsstraat 14 is op te vragen op deze pagina.
De informatie over dit adres is afkomstig uit officiële overheidsregistraties, voornamelijk de Basisregistratie Adressen en Gebouwen (BAG) en de Basisregistratie Kadaster (BRK). Deze gegevens worden beheerd door respectievelijk gemeenten en het Kadaster, en worden regelmatig bijgewerkt. Energielabelgegevens komen uit de database van de Rijksdienst voor Ondernemend Nederland (RVO).
