
Stationsstraat 28-A-1 is een adres in Hooghalen, dat zich bevindt binnen de gemeentegrenzen van Hooghalen en de grenzen van de provincie Drenthe. De oppervlakte van het object bedraagt 36 m². Dat is klein vergeleken met het Nederlandse gemiddelde. Het perceel waarop het adres ligt is 4710 m² groot. Het adres is klein vergeleken met andere objecten in de straat. Het grootste object in de straat heeft een oppervlakte van 1834 m², het kleinste is 34 m² groot. De meeste Nederlandse gebouwen zijn gebouwd in de periode 1965-1984. Zo ook het pand waarin Stationsstraat 28-A-1 ligt, dat gebouwd is in 1965. In de straat komt het nieuwste gebouw uit het jaar 2025 en het oudste uit 1915. Het bouwjaar van dit object is relatief oud. Voor het verblijfsobject gelden deze gebruiksdoelen: 'logiesfunctie'.
Deze woning is voor het laatst verkocht op 1 december 2001. Meer informatie over deze transactie? Bestel het Woningtransactierapport om de verkoopprijs en andere informatie te zien.
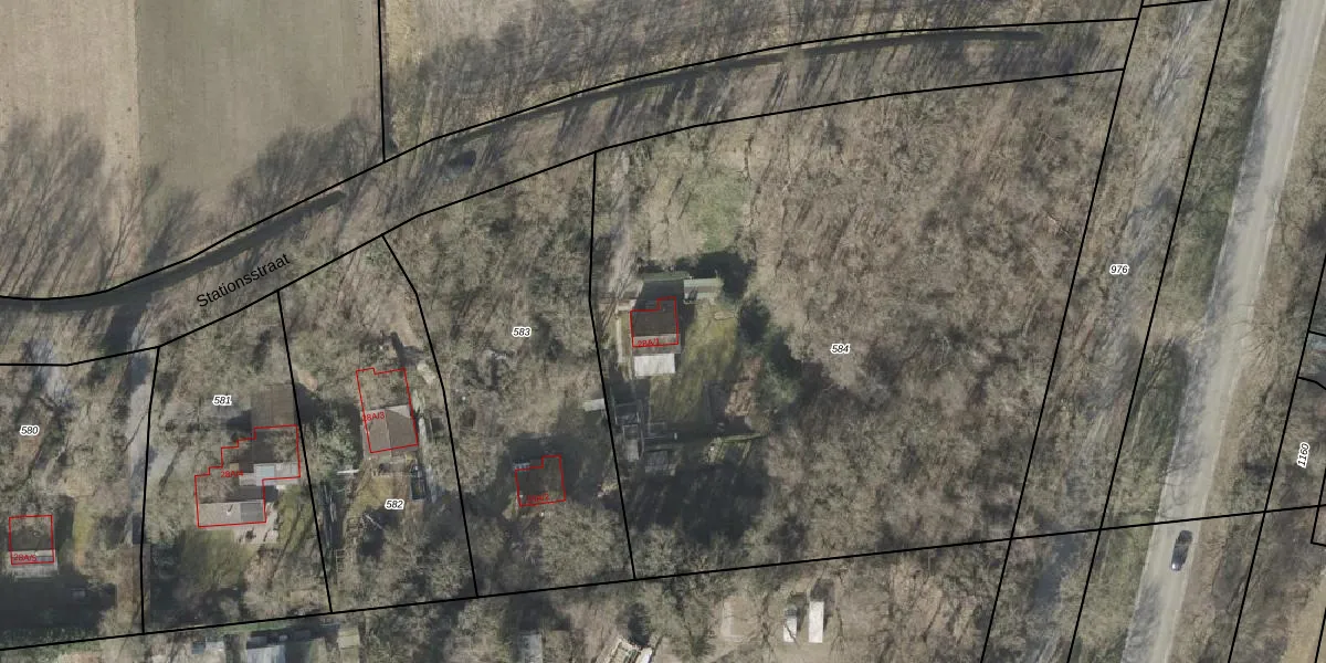
Het adres ligt op het perceel BLN00-N-584, dat zich in de kadastrale gemeente Beilen bevindt. De gemiddelde perceelgrootte in Beilen is 1,2 ha. Dit perceel is kleiner: de perceeloppervlakte bedraagt 4710 m². De grootste perceeloppervlakte in de kadastrale gemeente is 4,30 km². De kleinste oppervlakte bedraagt 0 m². Er zijn geen andere adressen aanwezig op het perceel. De huidige grenzen van het perceel zijn digitaal in de Basisregistratie Kadaster (BRK) geregistreerd op 15-02-2010.
Er is geen energielabel geregistreerd voor het adres. Het hoogste energielabel in de straat is A; het laagste is G. Het gemiddelde energielabel is er D. Het adres Stationsstraat 28-A-1 heeft als status: 'verblijfsobject in gebruik'. Het pand waarin dit adres ligt heeft als status: 'pand in gebruik'.
Stationsstraat 28-A-1 is een adres gelegen in de gemeente Midden-Drenthe, provincie Drenthe. Dit adres is geregistreerd in de Basisregistratie Adressen en Gebouwen (BAG) met als unieke identificatie 1731010000007916.
Het pand op Stationsstraat 28-A-1 is gebouwd in 1965, wat betekent dat het 61 jaar oud is. Dit is een ouder pand. Het pand heeft mogelijk aanzienlijke renovaties nodig om aan de huidige standaarden te voldoen.
De woning op Stationsstraat 28-A-1 heeft een gebruiksoppervlakte van 36 m². Dit is relatief klein vergeleken met de gemiddelde Nederlandse woning, die een oppervlakte heeft van ongeveer 119 m². De gebruiksoppervlakte is de maat die wordt gebruikt in de BAG-registratie, de landelijke registratie van de Nederlandse overheid.
Stationsstraat 28-A-1 heeft als functie: logies/verblijf. Deze gebruiksfunctie(s) zijn vastgelegd in de BAG-registratie en geven aan waarvoor het adres officieel mag worden gebruikt.
Stationsstraat 28-A-1 is gelegen op kadastraal perceel BLN00N584. Deze kadastrale aanduiding is uniek en wordt gebruikt door het Kadaster om eigendomsrechten en andere zakelijke rechten vast te leggen. Het perceel maakt onderdeel uit van de kadastrale gemeente Beilen.
Het perceel waarop Stationsstraat 28-A-1 staat heeft een oppervlakte van 4710 m². Dit is een zeer groot perceel. De perceeloppervlakte wordt geregistreerd door het Kadaster. Gedetailleerde informatie over de maten van dit perceel kunt u vinden in het rapport Kadastrale kaart met maatvoering van Stationsstraat 28-A-1.
De eigenaar van Stationsstraat 28-A-1 is op te vragen op deze pagina.
De informatie over dit adres is afkomstig uit officiële overheidsregistraties, voornamelijk de Basisregistratie Adressen en Gebouwen (BAG) en de Basisregistratie Kadaster (BRK). Deze gegevens worden beheerd door respectievelijk gemeenten en het Kadaster, en worden regelmatig bijgewerkt. Energielabelgegevens komen uit de database van de Rijksdienst voor Ondernemend Nederland (RVO).
