
Veld-Oostenrijk 20-a is gelegen in de plaats Horst, de gemeente Horst aan de Maas en de provincie Limburg. Het object heeft een oppervlakte van 235 m², wat relatief groot is. Het perceel waarop het adres ligt is 1,5 ha groot. De oppervlakte van het adres is klein vergeleken met de andere objecten in de straat. De oppervlakte van het kleinste object in de straat bedraagt 7 m², terwijl het grootste object 3,0 ha groot is. Het pand waarin Veld-Oostenrijk 20-a ligt is gebouwd in het jaar 2014. Panden die gebouwd zijn na het jaar 1984 noemen we hier relatief nieuw. Vergeleken met de andere panden in de straat is dit gebouw nieuw. Het vroegste bouwjaar is er 1850 en het laatste is 2025. De volgende gebruiksdoelen zijn geregistreerd voor dit adres: 'woonfunctie'.
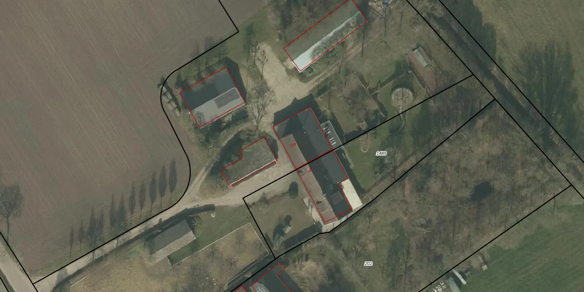
Het adres is gelegen op perceel 1488 in de sectie O en de kadastrale gemeente Horst. De kadastrale aanduiding is aldus HOR01-O-1488. De oppervlakte van het perceel is 1,5 ha. Dat is groter dan gemiddeld in Horst, waar de gemiddelde perceeloppervlakte op 5158,72 m² ligt. Het kleinste perceel in de kadastrale gemeente is 0 m² groot. De grootste perceeloppervlakte is 1,23 km². Dit is het enige adres dat aanwezig is op het perceel. De laatste wijziging in het de Basisregistratie Kadaster (BRK) was op 21-06-2013.
Er is geen energielabel geregistreerd voor het adres. Het hoogste energielabel in de straat is A+++; het laagste is G. Het gemiddelde energielabel is er D. Het adres Veld-Oostenrijk 20-a heeft als status: 'verblijfsobject in gebruik'. Het pand waarin dit adres ligt heeft als status: 'pand in gebruik'.
Veld-Oostenrijk 20-a is een adres gelegen in de gemeente Horst aan de Maas, provincie Limburg. Dit adres is geregistreerd in de Basisregistratie Adressen en Gebouwen (BAG) met als unieke identificatie 1507013000001778.
Het pand op Veld-Oostenrijk 20-a is gebouwd in 2014, wat betekent dat het 12 jaar oud is. Dit is een relatief modern pand. Ten opzichte van de nationale woningvoorraad is het pand relatief modern, maar er kunnen enkele verouderde elementen zijn die aandacht nodig hebben.
De woning op Veld-Oostenrijk 20-a heeft een gebruiksoppervlakte van 235 m². Dit is ruim vergeleken met de gemiddelde Nederlandse woning, die een oppervlakte heeft van ongeveer 119 m². De gebruiksoppervlakte is de maat die wordt gebruikt in de BAG-registratie, de landelijke registratie van de Nederlandse overheid.
Veld-Oostenrijk 20-a heeft als functie: wonen. Deze gebruiksfunctie(s) zijn vastgelegd in de BAG-registratie en geven aan waarvoor het adres officieel mag worden gebruikt.
Veld-Oostenrijk 20-a is gelegen op kadastraal perceel HOR01O1488. Deze kadastrale aanduiding is uniek en wordt gebruikt door het Kadaster om eigendomsrechten en andere zakelijke rechten vast te leggen. Het perceel maakt onderdeel uit van de kadastrale gemeente Horst.
Het perceel waarop Veld-Oostenrijk 20-a staat heeft een oppervlakte van 1,5 ha. Dit is een zeer groot perceel. De perceeloppervlakte wordt geregistreerd door het Kadaster. Gedetailleerde informatie over de maten van dit perceel kunt u vinden in het rapport Kadastrale kaart met maatvoering van Veld-Oostenrijk 20-a.
De eigenaar van Veld-Oostenrijk 20-a is op te vragen op deze pagina.
De informatie over dit adres is afkomstig uit officiële overheidsregistraties, voornamelijk de Basisregistratie Adressen en Gebouwen (BAG) en de Basisregistratie Kadaster (BRK). Deze gegevens worden beheerd door respectievelijk gemeenten en het Kadaster, en worden regelmatig bijgewerkt. Energielabelgegevens komen uit de database van de Rijksdienst voor Ondernemend Nederland (RVO).
