
Ds. Visscherwei 93 is gelegen in de plaats Houtigehage, de gemeente Smallingerland en de provincie Friesland. Het perceel waarop het verblijfsobject staat is 5210 m² groot. De oppervlakte van het adres is 143 m², wat zich rond het Nederlandse gemiddelde van 119 m² bevindt. Het adres is klein vergeleken met andere objecten in de straat. Het grootste object in de straat heeft een oppervlakte van 529 m², het kleinste is 12 m² groot. Ds. Visscherwei 93 ligt in een gebouw uit het jaar 1986. Daarmee behoort het tot de groep panden van na 1984, die we als relatief nieuw bestempelen. Veel andere gebouwen in de straat zijn ouder dan dit pand. Het oudste pand komt uit het jaar 1773 en het nieuwste uit 2025. De volgende gebruiksdoelen zijn geregistreerd voor dit adres: 'woonfunctie'.
Deze woning is voor het laatst verkocht op 1 april 2014. Meer informatie over deze transactie? Bestel het Woningtransactierapport om de verkoopprijs en andere informatie te zien.
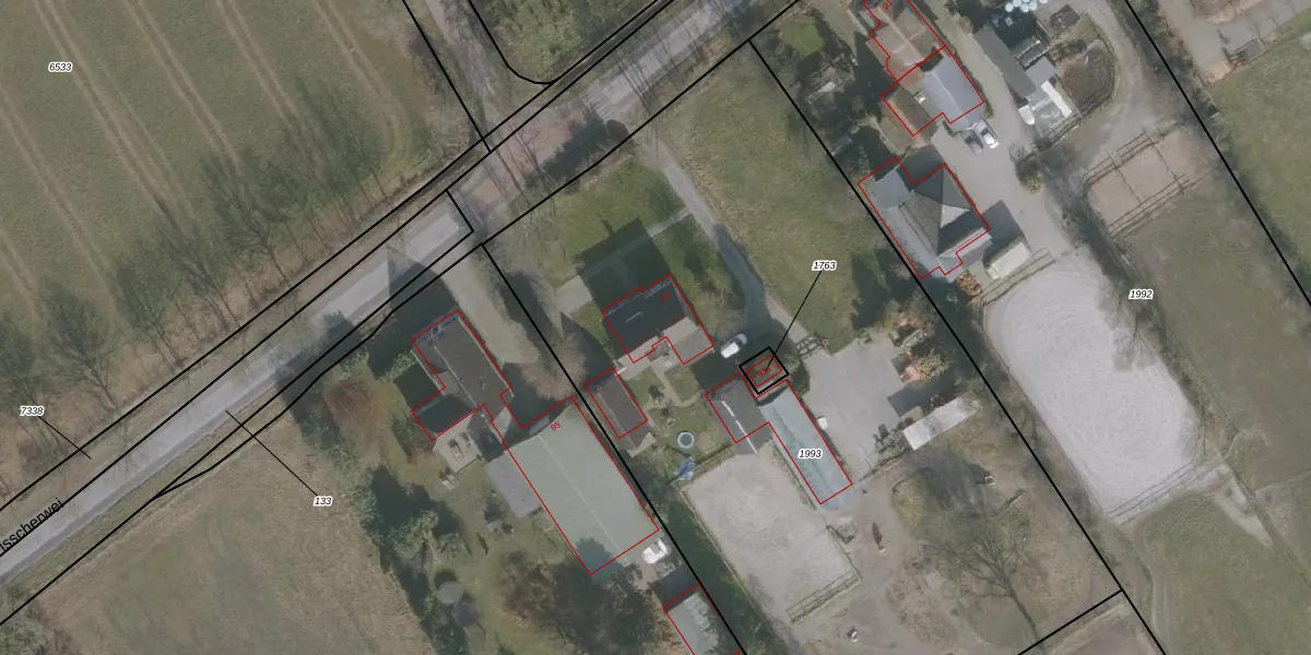
Het adres ligt op het perceel RTV00-A-1993, dat zich in de kadastrale gemeente Rottevalle bevindt. De oppervlakte van het perceel is 5210 m². Dat is groter dan gemiddeld in Rottevalle, waar de gemiddelde perceeloppervlakte op 4842,18 m² ligt. Het grootste perceel in de kadastrale gemeente is 98,3 ha. Het kleinste perceel heeft een oppervlakte van 1 m². Er zijn geen andere adressen aanwezig op het perceel. De laatste wijziging in het de Basisregistratie Kadaster (BRK) was op 15-01-1998.
Er is geen energielabel geregistreerd voor het adres. Het hoogste energielabel in de straat is A++; het laagste is G. Het gemiddelde energielabel is er C. Het adres Ds. Visscherwei 93 heeft als status: 'verblijfsobject in gebruik'. Het pand waarin dit adres ligt heeft als status: 'pand in gebruik'.
Ds. Visscherwei 93 is een adres gelegen in de gemeente Smallingerland, provincie Friesland. Dit adres is geregistreerd in de Basisregistratie Adressen en Gebouwen (BAG) met als unieke identificatie 0090010000630358.
Het pand op Ds. Visscherwei 93 is gebouwd in 1986, wat betekent dat het 40 jaar oud is. Dit is een pand van middelbare leeftijd. Het pand is van gemiddelde leeftijd en zal waarschijnlijk verouderde elementen bevatten.
De woning op Ds. Visscherwei 93 heeft een gebruiksoppervlakte van 143 m². Dit is gemiddeld vergeleken met de gemiddelde Nederlandse woning, die een oppervlakte heeft van ongeveer 119 m². De gebruiksoppervlakte is de maat die wordt gebruikt in de BAG-registratie, de landelijke registratie van de Nederlandse overheid.
Ds. Visscherwei 93 heeft als functie: wonen. Deze gebruiksfunctie(s) zijn vastgelegd in de BAG-registratie en geven aan waarvoor het adres officieel mag worden gebruikt.
Ds. Visscherwei 93 is gelegen op kadastraal perceel RTV00A1993. Deze kadastrale aanduiding is uniek en wordt gebruikt door het Kadaster om eigendomsrechten en andere zakelijke rechten vast te leggen. Het perceel maakt onderdeel uit van de kadastrale gemeente Rottevalle.
Het perceel waarop Ds. Visscherwei 93 staat heeft een oppervlakte van 5210 m². Dit is een zeer groot perceel. De perceeloppervlakte wordt geregistreerd door het Kadaster. Gedetailleerde informatie over de maten van dit perceel kunt u vinden in het rapport Kadastrale kaart met maatvoering van Ds. Visscherwei 93.
De eigenaar van Ds. Visscherwei 93 is op te vragen op deze pagina.
De informatie over dit adres is afkomstig uit officiële overheidsregistraties, voornamelijk de Basisregistratie Adressen en Gebouwen (BAG) en de Basisregistratie Kadaster (BRK). Deze gegevens worden beheerd door respectievelijk gemeenten en het Kadaster, en worden regelmatig bijgewerkt. Energielabelgegevens komen uit de database van de Rijksdienst voor Ondernemend Nederland (RVO).
