
Het adres Molenstraat 40-D bevindt zich in de plaats Kessel, in de gemeente Kessel en de provincie Limburg. Het object heeft een oppervlakte van 172 m², wat relatief groot is. Het perceel waarop het adres ligt is 3445 m² groot. Het object is klein ten opzichte van de andere adressen in de straat. Het grootste verblijfsobject is 977 m² groot en het kleinste is 6 m². In het jaar 1993 is het pand waarin Molenstraat 40-D ligt gebouwd. Dat is relatief recent: de meeste gebouwen in Nederland zijn gebouwd in de periode 1965-1984. Vergeleken met de andere panden in de straat is dit gebouw nieuw. Het vroegste bouwjaar is er 1946 en het laatste is 2008. De volgende gebruiksdoelen zijn geregistreerd voor dit adres: 'industriefunctie'.
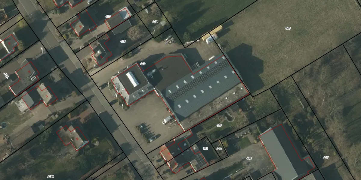
Het perceel waarop het adres ligt is KSL00-F-313. De afkorting 'KSL00' staat voor kadastrale gemeente Kessel. Het perceel is 3445 m² groot. Dat is kleiner dan de gemiddelde perceeloppervlakte in Kessel, dat op 5857,55 m² ligt. De grootste perceeloppervlakte in de kadastrale gemeente is 33,5 ha. De kleinste oppervlakte bedraagt 0 m². Er zijn 15 adressen aanwezig op het perceel. In de Basisregistratie Kadaster (BRK) werden de grenzen van het perceel geregistreerd op 23-07-2012.
Er is geen energielabel geregistreerd voor het adres. Het hoogste energielabel in de straat is A++; het laagste is G. Het gemiddelde energielabel is er C. Het adres Molenstraat 40-D heeft als status: 'verblijfsobject in gebruik'. Het pand waarin dit adres ligt heeft als status: 'pand in gebruik'.
Molenstraat 40-D is een adres gelegen in de gemeente Peel en Maas, provincie Limburg. Dit adres is geregistreerd in de Basisregistratie Adressen en Gebouwen (BAG) met als unieke identificatie 1894010000342011.
Het pand op Molenstraat 40-D is gebouwd in 1993, wat betekent dat het 33 jaar oud is. Dit is een pand van middelbare leeftijd. Het pand is van gemiddelde leeftijd en zal waarschijnlijk verouderde elementen bevatten.
De woning op Molenstraat 40-D heeft een gebruiksoppervlakte van 172 m². Dit is ruim vergeleken met de gemiddelde Nederlandse woning, die een oppervlakte heeft van ongeveer 119 m². De gebruiksoppervlakte is de maat die wordt gebruikt in de BAG-registratie, de landelijke registratie van de Nederlandse overheid.
Molenstraat 40-D heeft als functie: industrie. Deze gebruiksfunctie(s) zijn vastgelegd in de BAG-registratie en geven aan waarvoor het adres officieel mag worden gebruikt.
Molenstraat 40-D is gelegen op kadastraal perceel KSL00F313. Deze kadastrale aanduiding is uniek en wordt gebruikt door het Kadaster om eigendomsrechten en andere zakelijke rechten vast te leggen. Het perceel maakt onderdeel uit van de kadastrale gemeente Kessel.
Het perceel waarop Molenstraat 40-D staat heeft een oppervlakte van 3445 m². Dit is een zeer groot perceel. De perceeloppervlakte wordt geregistreerd door het Kadaster. Gedetailleerde informatie over de maten van dit perceel kunt u vinden in het rapport Kadastrale kaart met maatvoering van Molenstraat 40-D.
De eigenaar van Molenstraat 40-D is op te vragen op deze pagina.
De informatie over dit adres is afkomstig uit officiële overheidsregistraties, voornamelijk de Basisregistratie Adressen en Gebouwen (BAG) en de Basisregistratie Kadaster (BRK). Deze gegevens worden beheerd door respectievelijk gemeenten en het Kadaster, en worden regelmatig bijgewerkt. Energielabelgegevens komen uit de database van de Rijksdienst voor Ondernemend Nederland (RVO).
